欢迎来到知嘟嘟! 联系电话:13336804447 卖家免费入驻,海量在线求购! 卖家免费入驻,海量在线求购!
知嘟嘟
我要发布
联系电话:13336804447
知嘟嘟经纪人
收藏
专利号: 2020109650937
申请人: 南京立康智能化科技有限公司
专利类型:发明专利
专利状态:已下证
专利领域: 信号装置
更新日期:2024-02-23
缴费截止日期: 暂无
价格&联系人
年费信息
委托购买

摘要:

权利要求书:

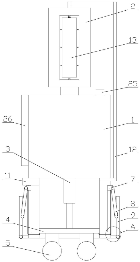
1.一种安全性高的智能交通信号灯,其特征在于,包括主体(1)、固定盒(2)、安全机构和稳定机构,所述固定盒(2)固定在主体(1)的上方,所述固定盒(2)内设有PLC,所述主体(1)的下方设有凹口,所述稳定机构设置在凹口的内部,所述安全机构设置在固定盒(2)上,所述安全机构与稳定机构连接;

所述稳定机构包括气缸(3)、移动板(4)、进气管(11)、出气管(12)、两个稳定组件和四个车轮(5),所述气缸(3)的缸体竖向固定在凹口内的顶部,所述气缸(3)的气杆与移动板(4)固定连接,所述移动板(4)与凹口匹配,所述移动板(4)与凹口的内壁密封连接,四个车轮(5)分别固定在移动板(4)的下方的四角处,两个稳定组件分别设置在主体(1)的两侧,所述移动板(4)的下方的两侧分别与两个稳定组件连接,所述进气管(11)与凹口连通,所述出气管(12)的一端与凹口连通,所述出气管(12)的另一端与安全机构连接,所述气缸(3)与PLC电连接;

所述稳定组件包括移动块(7)、铰接杆(8)、连接绳(6)、支撑轴、稳定板(9)和扭转弹簧(10),所述主体(1)的两侧均设有凹槽,所述凹槽与移动块(7)一一对应,所述移动块(7)的一侧设置在凹槽的内部,所述移动块(7)与凹槽滑动连接,所述移动块(7)与凹槽匹配,所述铰接杆(8)的两端分别与移动块(7)的另一侧和稳定板(9)铰接,所述支撑轴的一端与主体(1)固定连接,所述支撑轴的另一端与稳定板(9)铰接,所述扭转弹簧(10)设置在支撑轴与稳定板(9)的连接处,所述扭转弹簧(10)的两端分别与支撑轴和稳定板(9)连接,所述主体(1)的两侧均设有圆孔,所述圆孔与连接绳(6)一一对应,所述圆孔与凹口连通,所述连接绳(6)的一端与移动块(7)的下方固定连接,所述连接绳(6)的另一端穿过圆孔与移动板(4)的下方固定连接;

所述安全机构包括转板(13)、连接盒(16)、动力组件、两个转动组件、三个信号灯(14)、三个灯壳(15)和三个除尘组件,所述固定盒(2)的一侧设有开口,所述转板(13)与开口匹配,两个转动组件分别设置在开口内的顶部和底部,所述转动组件与转板(13)连接,所述信号灯(14)均匀固定在转板(13)的一侧,所述灯壳(15)与信号灯(14)一一对应,所述灯壳(15)固定在转板(13)的靠近信号灯(14)的一侧,所述信号灯(14)设置在灯壳(15)的内部,所述信号灯(14)与除尘组件一一对应,所述除尘组件与连接盒(16)连接,所述连接盒(16)固定在固定盒(2)的内部,所述出气管(12)的远离凹口的一端与连接盒(16)连通,所述动力组件设置在连接盒(16)的内部,所述动力组件与设置在出气管一侧转动组件连接,所述信号灯(14)与PLC电连接;

所述转动组件包括转轴(19)和第一轴承,所述第一轴承固定在开口的内壁上,所述转轴(19)的一端与第一轴承的内圈固定连接,所述转轴(19)的另一端与转板(13)固定连接,其中一个转轴(19)与动力组件连接;

所述动力组件包括桨叶(20)、传动轴(21)、第二轴承和传动单元,所述连接盒(16)上设有小孔,所述第二轴承固定在连接盒(16)的靠近小孔的一侧上,所述桨叶(20)与传动轴(21)的一端固定连接,所述桨叶(20)与出气管(12)正对设置,所述传动轴(21)的另一端穿过小孔与传动单元连接,所述传动单元与转轴(19)连接,所述传动轴(21)与第二轴承的内圈固定连接;

所述除尘组件包括两个除尘单元,两个除尘单元分别设置在信号灯(14)的两侧,所述除尘单元包括喷嘴(18)和连管(17),所述喷嘴(18)固定在开口的内壁上,所述喷嘴(18)通过连管(17)与连接盒(16)连通。

2.如权利要求1所述的安全性高的智能交通信号灯,其特征在于,所述传动单元包括第一锥齿轮(22)和第二锥齿轮(23),所述第一锥齿轮(22)与传动轴(21)的远离齿轮的一端固定连接,所述第二锥齿轮(23)固定在转轴(19)上,所述第一锥齿轮(22)与第二锥齿轮(23)啮合。

3.如权利要求2所述的安全性高的智能交通信号灯,其特征在于,所述第一锥齿轮(22)的齿数小于第二锥齿轮(23)的齿数。

4.如权利要求1所述的安全性高的智能交通信号灯,其特征在于,所述出气管(12)的靠近连接盒(16)的一端固定有滤网(24)。

5.如权利要求1所述的安全性高的智能交通信号灯,其特征在于,所述灯壳(15)的表面涂有防腐镀锌层。

6.如权利要求1所述的安全性高的智能交通信号灯,其特征在于,所述主体(1)上固定有太阳能板(26)。

7.如权利要求2所述的安全性高的智能交通信号灯,其特征在于,所述第一锥齿轮(22)上涂有润滑脂。

8.如权利要求1所述的安全性高的智能交通信号灯,其特征在于,所述凹槽为燕尾槽。

9.如权利要求1所述的安全性高的智能交通信号灯,其特征在于,所述稳定板(9)的远离铰接杆(8)的一侧设有防滑纹。

10.如权利要求1所述的安全性高的智能交通信号灯,其特征在于,所述主体(1)的上方固定有按键(25),所述按键(25)与PLC电连接。