欢迎来到知嘟嘟! 联系电话:13336804447 卖家免费入驻,海量在线求购! 卖家免费入驻,海量在线求购!
知嘟嘟
我要发布
联系电话:13336804447
知嘟嘟经纪人
收藏
专利号: 2023219500776
专利类型:实用新型
专利状态:未下证
专利领域: 暂无
更新日期:2024-01-05
缴费截止日期: 暂无
价格&联系人
年费信息
委托购买

摘要:

权利要求书:

1.一种远程控制的智能交通信号灯,包括:

主体组件(10);

收纳组件(20);

所述收纳组件(20)包括设置的固定框(25)和电机(26)、转动连接在电机(26)上的丝杆(21)、滑动连接在丝杆(21)上的滑块(23)、连接在滑块(23)两端的限位块(22)、开设在固定框(25)两侧边的活动槽(24);

更换组件(30)。

2.根据权利要求1所述的一种远程控制的智能交通信号灯,其特征在于,所述限位块(22)活动连接在活动槽(24)内。

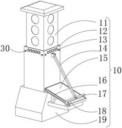
3.根据权利要求1所述的一种远程控制的智能交通信号灯,其特征在于,所述主体组件(10)包括设置的底座(19)、且底座(19)内设有蓄电电路与远程控制信号接收器。

4.根据权利要求3所述的一种远程控制的智能交通信号灯,其特征在于,电机(26)固定在底座(19)内部,且贯穿底座(19)与丝杆(21)连接。

5.根据权利要求1所述的一种远程控制的智能交通信号灯,其特征在于,所述主体组件(10)还包括连接在限位块(22)上的信号灯本体(11)。

6.根据权利要求3所述的一种远程控制的智能交通信号灯,其特征在于,所述主体组件(10)还包括连接在底座(19)侧边的太阳能板(15)、连接在太阳能板(15)侧边的电动导轨(16)、滑动连接在电动导轨(16)上的U型板(17)、连接在U型板(17)下端的清洁棉(18)、连接在U型板(17)上的传动板(14)、连接在传动板(14)另一端的透明清洁盒(12)。

7.根据权利要求6所述的一种远程控制的智能交通信号灯,其特征在于,所述主体组件(10)还包括连接在透明清洁盒(12)顶部的多组毛细管(13)、以及连接在毛细管(13)上的另一款清洁棉(18)。

8.根据权利要求7所述的一种远程控制的智能交通信号灯,其特征在于,所述更换组件(30)包括开设在透明清洁盒(12)顶部的第一通孔(37)和第二通孔(39)、活动连接在第一通孔(37)内的旋钮(35)、连接在旋钮(35)上的连接柱(36)、连接在连接柱(36)后端的固定板(34)、连接在固定板(34)上的魔术贴(33)。

9.根据权利要求8所述的一种远程控制的智能交通信号灯,其特征在于,所述更换组件(30)还包括活动连接在第二通孔(39)内的按钮(31)、连接在按钮(31)后端的L型卡槽(38)、连接在按钮(31)与透明清洁盒(12)之间的弹簧(32)。