欢迎来到知嘟嘟! 联系电话:13336804447 卖家免费入驻,海量在线求购! 卖家免费入驻,海量在线求购!
知嘟嘟
我要发布
联系电话:13336804447
知嘟嘟经纪人
收藏
专利号: 2019213916315
申请人: 西华大学
专利类型:实用新型
专利状态:已下证
专利领域: 船舶或其他水上船只;与船有关的设备
更新日期:2024-02-26
缴费截止日期: 暂无
价格&联系人
年费信息
委托购买

摘要:

权利要求书:

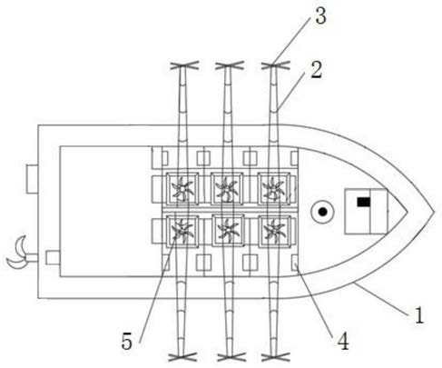
1.一种水葫芦打捞船,包括船体(1),所述船体(1)内设置船舱,其特征在于,所述船体(1)上设置打捞装置,所述打捞装置包括机械臂(2),所述机械臂(2)上设置机械爪(3),所述机械爪(3)上设有第一工位和第二工位,其中,所述第一工位位于所述船舱进料口的上方,所述第二工位位于所述船体(1)外,所述第一工位和所述第二工位之间设置切割刀片(4);

所述船舱的进料口处设置粉碎装置(5),且所述粉碎装置(5)与所述第一工位对齐设置。

2.根据权利要求1所述的一种水葫芦打捞船,其特征在于,所述机械臂(2)包括相互连接的液压伸缩臂(21)和折叠伸缩臂(22),其中,所述机械爪(3)安装在所述折叠伸缩臂(22)上。

3.根据权利要求1所述的一种水葫芦打捞船,其特征在于,所述粉碎装置(5)的下方设置输送带(6),所述输送带(6)的输出端设置在所述船舱内的第一储藏室(7)内。

4.根据权利要求3所述的一种水葫芦打捞船,其特征在于,所述第一储藏室(7)的底部设置出水口,所述出水口上设置出水阀(71)。

5.根据权利要求1所述的一种水葫芦打捞船,其特征在于,所述切割刀片(4)的下方设置第二储藏室(8)。

6.根据权利要求1所述的一种水葫芦打捞船,其特征在于,所述切割刀片(4)上开设刀口(9),其中,所述刀口(9)的宽度由所述第一工位处至所述第二工位处逐渐减小。

7.根据权利要求6所述的一种水葫芦打捞船,其特征在于,所述刀口(9)为“Y”字形刀口(9)。

我要求购
我不想找了,帮我找吧
您有专利需要变现?
我要出售
智能匹配需求,快速出售