欢迎来到知嘟嘟! 联系电话:13336804447 卖家免费入驻,海量在线求购! 卖家免费入驻,海量在线求购!
知嘟嘟
我要发布
联系电话:13336804447
知嘟嘟经纪人
收藏
专利号: 2023223711888
专利类型:实用新型
专利状态:未下证
专利领域: 暂无
更新日期:2024-04-10
缴费截止日期: 暂无
价格&联系人
年费信息
委托购买

摘要:

权利要求书:

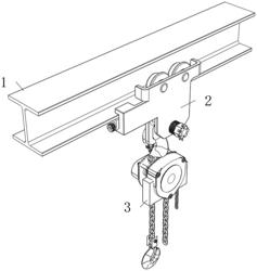
1.一种船舶机舱手拉葫芦辅助挂件,包括辅助挂件(2),所述辅助挂件(2)包括支架(22)、移动组件(23)、固定组件(24)以及悬挂组件(25),其特征在于:所述支架(22)为两组,两组所述支架(22)内侧上端设置有移动组件(23),所述移动组件(23)活动安装在H型钢(1)下侧,所述支架(22)左侧设置有固定组件(24),两组所述支架(22)内侧下端设置有悬挂组件(25),所述悬挂组件(25)下侧设置有手拉挂葫芦(3)。

2.根据权利要求1所述的一种船舶机舱手拉葫芦辅助挂件,其特征在于:所述移动组件(23)包括柱体(232),两组所述支架(22)内侧上端设置有四组柱体(232),所述柱体(232)外侧设置有移动轮(231)。

3.根据权利要求2所述的一种船舶机舱手拉葫芦辅助挂件,其特征在于:所述柱体(232)一端设置有卡环(233),所述卡环(233)在移动轮(231)外侧。

4.根据权利要求1所述的一种船舶机舱手拉葫芦辅助挂件,其特征在于:所述固定组件(24)包括底座(241),所述底座(241)内部设置有移动块(242),所述移动块(242)内部开设有条槽(2421),所述条槽(2421)内部设置有螺纹杆(243),所述螺纹杆(243)安装在底座(241)上,所述移动块(242)与底座(241)接触面呈斜面,所述螺纹杆(243)外侧设置有旋转轮(244)。

5.根据权利要求1所述的一种船舶机舱手拉葫芦辅助挂件,其特征在于:所述悬挂组件(25)包括连接杆(252),两组所述支架(22)下端设置有连接杆(252),所述连接杆(252)中间设置有悬挂块(253),所述悬挂块(253)内部开设有悬挂孔(2531)。

6.根据权利要求5所述的一种船舶机舱手拉葫芦辅助挂件,其特征在于:所述连接杆(252)两端设置有螺纹(2521),所述连接杆(252)两端通过螺纹(2521)安装有固定螺母(254)。

7.根据权利要求6所述的一种船舶机舱手拉葫芦辅助挂件,其特征在于:所述固定螺母(254)为开槽螺母,所述连接杆(252)两端开设有固定孔(255),所述固定孔(255)内部设置有销钉(256),所述销钉(256)在固定螺母(254)的槽内。

我要求购
我不想找了,帮我找吧
您有专利需要变现?
我要出售
智能匹配需求,快速出售