欢迎来到知嘟嘟! 联系电话:13336804447 卖家免费入驻,海量在线求购! 卖家免费入驻,海量在线求购!
知嘟嘟
我要发布
联系电话:13336804447
知嘟嘟经纪人
收藏
专利号: 2020230852302
申请人: 平湖市联合河道保洁管理有限公司
专利类型:实用新型
专利状态:已下证
专利领域: 水利工程;基础;疏浚
更新日期:2024-12-12
缴费截止日期: 暂无
价格&联系人
年费信息
委托购买

摘要:

权利要求书:

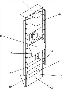
1.一种水葫芦粉碎保洁船,包括船主体(1)、自动进料装置(2)、粉碎装置(3)和驱动机构(4),驱动机构(4)驱动船主体(1)移动,其特征在于,所述自动进料装置(2)位于船主体(1)头部,所述自动进料装置(2)设有自动进料口(5),所述自动进料口(5)连接到船主体(1)外部,所述自动进料口(5)底部到达船底。

2.根据权利要求1所述的一种水葫芦粉碎保洁船,其特征在于,所述自动进料装置(2)包括自动进料口(5)和挡板(6),所述挡板(6)位于船主体(1)表面。

3.根据权利要求2所述的一种水葫芦粉碎保洁船,其特征在于,所述粉碎装置(3)包括粉碎辊(7)、电机(8)和保护罩(9),所述粉碎辊(7)之间为粉碎区(10),所述粉碎区(10)位于自动进料口(5)后方,所述电机(8)驱动粉碎辊(7)旋转,所述保护罩(9)位于粉碎辊(7)外。

4.根据权利要求3所述的一种水葫芦粉碎保洁船,其特征在于,所述粉碎装置(3)后方设有排放口(11)。

5.根据权利要求4所述的一种水葫芦粉碎保洁船,其特征在于,所述船主体(1)上方设有保护围栏(12),所述保护围栏(12)与船主体(1)固定连接。

6.根据权利要求5所述的一种水葫芦粉碎保洁船,其特征在于,所述保护围栏(12)上设有固定绳(13),所述固定绳(13)与保护围栏(12)固定连接。

7.根据权利要求6所述的一种水葫芦粉碎保洁船,其特征在于,所述驱动机构(4)和电机(8)外设有防水罩(14),所述防水罩(14)与船主体(1)可拆卸连接。

8.根据权利要求7所述的一种水葫芦粉碎保洁船,其特征在于,所述保护罩(9)外设有防水光滑涂层(15)。

9.根据权利要求8所述的一种水葫芦粉碎保洁船,其特征在于,所述船主体(1)上方设有防滑层(16)。

我要求购
我不想找了,帮我找吧
您有专利需要变现?
我要出售
智能匹配需求,快速出售