欢迎来到知嘟嘟! 联系电话:13336804447 卖家免费入驻,海量在线求购! 卖家免费入驻,海量在线求购!
知嘟嘟
我要发布
联系电话:13336804447
知嘟嘟经纪人
收藏
专利号: 2019113708904
申请人: 长安大学
专利类型:发明专利
专利状态:已下证
专利领域: 流体压力执行机构;一般液压技术和气动技术
更新日期:2024-01-05
缴费截止日期: 暂无
价格&联系人
年费信息
委托购买

摘要:

权利要求书:

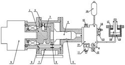
1.一种无油泵、可调频率及振幅的液压激振器,其特征在于,包括端面凸轮(1)、圆锥滚子(2)、共轭端面凸轮(3)、圆锥滚子固定爪(6)、激振器壳体(7)、导向柱(8)和伺服电机(9);

所述端面凸轮(1)的凸轮面为圆锥面并加工有若干个波峰,端面凸轮(1)的侧面与凸轮面的相交线展开为正弦曲线,共轭端面凸轮(3)的凸轮面与端面凸轮(1)的凸轮面为共轭关系;

端面凸轮(1)设在激振器壳体(7)内,端面凸轮(1)的尾部与伺服电机(9)的输出轴相连,端面凸轮(1)的头部与共轭端面凸轮(3)相连接;

激振器壳体(7)的头部设有激振器活塞缸(5),两者之间设有导向柱(8),导向柱(8)为圆锥滚子固定爪(6)提供运动行程,所述圆锥滚子固定爪(6)位于共轭端面凸轮(3)前侧,并通过轴承连接有若干圆锥滚子(2),圆锥滚子(2)的头部位于端面凸轮(1)和共轭端面凸轮(3)之间,并与端面凸轮(1)凸轮面的波峰相对应设置;

圆锥滚子固定爪(6)的背面设有激振器活塞杆(4),激振器活塞杆(4)延伸至激振器活塞缸(5)内;

激振器活塞缸(5)的出口与流量可调的阀体(10)相连通,阀体(10)的第二出口与液压缸缸体(19)相连通,液压缸缸体(19)内设有液压缸活塞(18)和位于其外围的碟簧(17)。

2.根据权利要求1所述的无油泵、可调频率及振幅的液压激振器,其特征在于,阀体(10)上设有注油口、进油口、第一出油口和第二出油口;

所述注油口用于将液压油注入阀体(10)的腔体,第一单向阀(12)设在注油口处用于防止液压油回流;

当脉动液压油经进油口进入阀体(10)的腔体内时,脉动液压油分为两路,第一油路流经第二节流阀(14)到达第一出油口,经第一出油口流入蓄能器(16);

第二油路流经第一节流阀(11)后达到第二出油口,经第二出油口流入液压缸缸体(19)。

3.根据权利要求2所述的无油泵、可调频率及振幅的液压激振器,其特征在于,还包括与第二节流阀(14)相并联的第二单向阀(13),第二单向阀(13)的入口侧为第一出油口端。

4.根据权利要求2所述的无油泵、可调频率及振幅的液压激振器,其特征在于,第一节流阀(11)的入口与出口之间连接有第三单向阀(15),第三单向阀的通流方向与第一单向阀(12)的相同。

5.根据权利要求4所述的无油泵、可调频率及振幅的液压激振器,其特征在于,所述第一节流阀和第二节流阀为伺服阀。

6.根据权利要求1所述的无油泵、可调频率及振幅的液压激振器,其特征在于,圆锥滚子固定爪(6)上设有导向孔,所述导向柱(8)穿过导向孔为圆锥滚子固定爪(6)提供行程。

7.一种根据权利要求1‑6任一项所述的无油泵、可调频率及振幅的液压激振器的调节方法,其特征在于,包括以下操作:调节伺服电机(9)的转速以调节液压激振器的频率;

调节阀体(10)第二出口的流量以调节液压激振器的振幅。

8.根据权利要求7所述的调节方法,其特征在于,调节伺服电机(9)的转速以调节液压激振器的频率的具体过程为:

伺服电机(9)转动,端面凸轮(1)和共轭凸轮(3)随之转动;

端面凸轮(1)和共轭凸轮(3)的凸轮面上的波峰和波谷将伺服电机(9)的转动转变为凸轮滚子(2)沿轴向的往复直线运动;

圆锥滚子固定爪(6)随凸轮滚子(2)做相同的运动,从而带动激振器活塞杆(4)在激振器活塞缸(5)内部做相同的运动;

激振器活塞缸(5)内产生的脉冲液压油经进油口进入阀体(10),经阀体(10)上的第二出口进入液压缸缸体(19),液压缸缸体(19)内的液压缸活塞(18)做运动;

调节伺服电机(9)的转动速度,激振器活塞杆(4)在激振器活塞缸(5)内部往复运动的频率随之变化,液压缸缸体(19)内的液压缸活塞(18)运动的频率随之变化,液压激振器的频率得到调节。

9.根据权利要求7所述的调节方法,其特征在于,调节阀体(10)第二出口的流量以调节液压激振器的振幅的具体过程为:

调节阀体(10)上第一节流阀(11)和第二节流阀(14)的开口大小,流向第一出油口和第二出油口的液压油流量随之变化;

流向第二出油口的液压油进入液压缸缸体(19)内,流量越大液压缸活塞杆(18)的位移越大,即振幅越大;

液压油退去时,在碟簧(17)的作用下液压缸活塞杆(18)复位。