欢迎来到知嘟嘟! 联系电话:13336804447 卖家免费入驻,海量在线求购! 卖家免费入驻,海量在线求购!
知嘟嘟
我要发布
联系电话:13336804447
知嘟嘟经纪人
收藏
专利号: 2014100961102
申请人: 中国地质大学(武汉)
专利类型:发明专利
专利状态:已下证
专利领域: 测量;测试
更新日期:2024-02-23
缴费截止日期: 暂无
价格&联系人
年费信息
委托购买

摘要:

权利要求书:

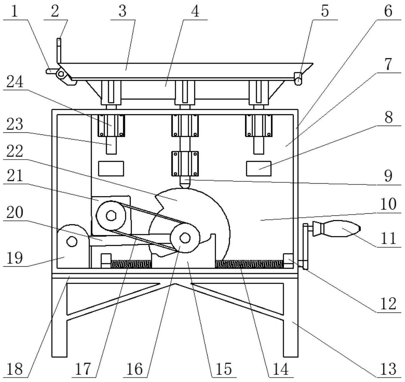
1.一种频率振幅可调泥样振动装置,至少包括振动机构和物料装卸机构,其特征在于:

还包括调幅机构和调频单元;调幅机构包括调幅摆板、调幅楔块、调幅手柄、丝杆、丝杆支座、调幅支座和调幅标尺;调频单元为一个用于调频的步进电机,步进电机安装在调幅摆板上;振动机构包括皮带、皮带轮、启振凸轮、顶杆、冲击杆和冲击块,皮带轮和启振凸轮共轴,皮带轮和步进电机通过皮带相连,皮带轮嵌在调幅摆板右侧的套筒一端,套筒中部搁在调幅楔块的楔面上;物料装卸机构位于整个装置的顶部,至少包括物料盘和与顶杆和冲击杆相连的物料盘支架。

2.根据权利要求1所述的频率振幅可调泥样振动装置,其特征在于:通过调节步进电机的转速和转动圈数,实现调频和振动次数控制功能。

3.根据权利要求1所述的频率振幅可调泥样振动装置,其特征在于:所述调幅机构中,调幅手柄同丝杆相连,丝杆穿插在调幅楔块中,调幅楔块支撑着调幅摆板的右端,启振凸轮轴心通过调幅摆板右端的套筒并与调幅楔块外轮廓线相连,调幅摆板左端的轴插在调幅支座中;调幅手柄带动丝杆转动,丝杆带动调幅楔块左右移动,使调幅摆板右端和皮带轮的高度改变,从而改变启振凸轮与顶杆的接触高度,达到调幅的目的。

4.根据权利要求1所述的频率振幅可调泥样振动装置,其特征在于:所述振动机构中,顶杆竖直穿插在两个滑块里,顶杆下端嵌有高硬度耐磨滚珠;冲击杆和冲击块分布在顶杆两端,冲击杆穿插在冲击块上方的滑块里;启振凸轮表面镀有坚硬耐磨材料;皮带轮传递步进电机的动力,带动启振凸轮转动,启振凸轮的外轮廓线将顶杆顶起,此时冲击杆和物料装卸机构一同随顶杆顶起,当达到启振凸轮的突变轮廓线时,顶杆悬空,同物料装卸机构一起在重力作用下成自由落体运动,下落一定距离后,冲击杆撞击在其下方的冲击块,完成一次振动周期。

5.根据权利要求1所述的频率振幅可调泥样振动装置,其特征在于:所述物料装卸机构在整个装置的顶部,其中,物料盘安装在物料盘支架的上方,右端通过物料盘转轴与物料盘支架铰链连接,物料盘左端安装有物料盘卡扣和物料盘拉手,掰开物料盘卡扣后拉动物料盘拉手使物料盘绕物料盘转轴转动,使物料盘翻转卸料;物料盘卡扣带有自复位弹簧,振动工作时把物料盘和物料盘支架紧固地扣接在一起。