欢迎来到知嘟嘟! 联系电话:13336804447 卖家免费入驻,海量在线求购! 卖家免费入驻,海量在线求购!
知嘟嘟
我要发布
联系电话:13336804447
知嘟嘟经纪人
收藏
专利号: 2019111106214
申请人: 绍兴市高砚智生物科技有限公司
专利类型:发明专利
专利状态:已下证
专利领域: 道路、铁路或桥梁的建筑
更新日期:2025-12-18
缴费截止日期: 暂无
价格&联系人
年费信息
委托购买

摘要:

权利要求书:

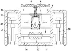
1.一种可清洁积水的声效型信号盲道,包括基座(1)与两个侧架(2),其特征在于,两个所述侧架(2)分别一体连接于基座(1)两侧,且基座(1)中分别水平焊接有支架(3)与平台(4),所述支架(3)与平台(4)之间焊接有蓄水罐(5),且蓄水罐(5)上端滑动套设有承重杆(7),所述承重杆(7)两端上分别连接有位于支架(3)上方的地板(6)与位于蓄水罐(5)内的活塞(9),且承重杆(7)上套设有一级弹簧(8),所述蓄水罐(5)侧壁中开设有安装有单向阀的进水口(10),且蓄水罐(5)下端设置有密封机构,所述基座(1)下端内水平转动设有转轴(16),且转轴(16)上固定套设于有叶片(17),所述转轴(16)两端分别转动贯穿并延伸至两个侧架(2)中,且转轴(16)两端均转动套设有连杆(18),两根所述连杆(18)上端均固定连接有鼓槌(19),且两个侧架(2)上端内均固定连接有与鼓槌(19)相配合的发声器(20)。

2.根据权利要求1所述的一种可清洁积水的声效型信号盲道,其特征在于,所述基座(1)开口向上,且两个侧架(2)开口向下,所述支架(3)位于平台(4)正上方,且蓄水罐(5)垂直设置于支架(3)与平台(4)之间,所述蓄水罐(5)延伸至平台(4)下方的下端开口与叶片(17)垂直相对。

3.根据权利要求2所述的一种可清洁积水的声效型信号盲道,其特征在于,所述一级弹簧(8)两端分别与地板(6)及支架(3)相抵。

4.根据权利要求1所述的一种可清洁积水的声效型信号盲道,其特征在于,所述密封机构包括以下结构:所述蓄水罐(5)内壁中对应设有导向杆(11),且导向杆(11)上分别套设有二级弹簧(12)与滑套(13),所述蓄水罐(5)下端开口销轴连接有两块密封板(15),且两个滑套(13)与两个密封板(15)之间销轴连接有支杆(14)。

5.根据权利要求1所述的一种可清洁积水的声效型信号盲道,其特征在于,所述转轴(16)延伸至两个侧架(2)中的两端均为U型结构。

6.根据权利要求5所述的一种可清洁积水的声效型信号盲道,其特征在于,两个所述侧架(2)中均焊接有限位板(21),且两根连杆(18)分别滑动并贯穿于两个限位板(21)。