欢迎来到知嘟嘟! 联系电话:13336804447 卖家免费入驻,海量在线求购! 卖家免费入驻,海量在线求购!
知嘟嘟
我要发布
联系电话:13336804447
知嘟嘟经纪人
收藏
专利号: 2023207410745
申请人: 安徽鑫梓建设工程有限公司
专利类型:实用新型
专利状态:已下证
专利领域: 道路、铁路或桥梁的建筑
更新日期:2024-02-23
缴费截止日期: 暂无
价格&联系人
年费信息
委托购买

摘要:

权利要求书:

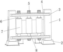
1.道路桥梁防撞护栏,其特征在于,包括:

支撑杆(1);

底座(2),设置在支撑杆(1)的底端,用于增加支撑杆(1)的稳固性;

横杆(3),安装在支撑杆(1)的一侧,用于对车辆进行防护;

连接杆(6),安装在横杆(3)上;

转筒(7),转动连接在连接杆(6)的外壁,用于改变汽车的撞击点;

防护机构(9),设置在支撑杆(1)的背面,用于避免撞击过程中护栏发生位移;

防护机构(9)包括:

第一缓冲板(901)、保护罩(902)、支撑板(903)、连接柱(904)、液压杆(905)、第一弹簧(906)、第二弹簧(907)和第二缓冲板(908);

第二缓冲板(908)设置在支撑杆(1)的背面一侧;

液压杆(905)固定在第二缓冲板(908)靠近支撑杆(1)的一侧;

第一缓冲板(901)设置在液压杆(905)的输出端和支撑杆(1)的背面;

第一弹簧(906)设置在第二缓冲板(908)和第一缓冲板(901)之间,液压杆(905)设置在第一弹簧(906)的内部;

保护罩(902)固定在第二缓冲板(908)和第一缓冲板(901)之间,位于第一弹簧(906)的外部;

第二弹簧(907)设置在第二缓冲板(908)和第一缓冲板(901)的内部;

支撑板(903)固定在第二缓冲板(908)的背面;

连接柱(904)固定在第二缓冲板(908)的底端。

2.根据权利要求1所述的道路桥梁防撞护栏,其特征在于,所述连接杆(6)上固定有限位环(8),限位环(8)设置在转筒(7)的底端和顶端,用于限制转筒(7)上下移动。

3.根据权利要求1所述的道路桥梁防撞护栏,其特征在于,所述连接杆(6)的两端设置有螺纹,其两端螺接有连接环(5),连接环(5)与横杆(3)相接触,用于固定连接杆(6)。

4.根据权利要求1所述的道路桥梁防撞护栏,其特征在于,所述连接柱(904)、支撑板(903)和底座(2)的底端均固定有安装板(10),用于将连接柱(904)、支撑板(903)和底座(2)安装在桥梁上。

5.根据权利要求1所述的道路桥梁防撞护栏,其特征在于,所述横杆(3)的正面安装有反光条(4),用于提醒车辆这边有护栏。