欢迎来到知嘟嘟! 联系电话:13336804447 卖家免费入驻,海量在线求购! 卖家免费入驻,海量在线求购!
知嘟嘟
我要发布
联系电话:13336804447
知嘟嘟经纪人
收藏
专利号: 2019110658689
申请人: 江苏华洋新思路能源装备股份有限公司
专利类型:发明专利
专利状态:已下证
专利领域: 一般的物理或化学的方法或装置
更新日期:2025-07-02
缴费截止日期: 暂无
价格&联系人
年费信息
委托购买

摘要:

权利要求书:

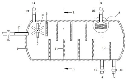
1.一种化工生产用高效气液分离器,包括卧罐(1),其特征在于:所述卧罐(1)的左侧壁设置有进气管(2),所述卧罐(1)的顶部右侧设置有出气管(3),所述卧罐(1)的底部右侧设置有左出液管(4)和右出液管(5),所述卧罐(1)的内腔顶部设置有挡板(6)和均匀分布的上防浪板(7),且上防浪板(7)位于挡板(6)和出气管(3)之间,所述卧罐(1)的后侧壁通过密封轴承贯穿设置有转轴(8),所述转轴(8)位于卧罐(1)内腔的一端外壁设置有叶轮(9),且叶轮(9)位于挡板(6)的左侧,所述转轴(8)位于卧罐(1)外部的一端连接于发电机(10),所述卧罐(1)的内腔底部设置有均匀分布的下防浪板(11)和溢流隔板(12),且下防浪板(11)位于溢流隔板(12)的左侧,所述卧罐(1)的内腔顶部位于出气管(3)的进气端的底部设置有捕雾器(13),所述卧罐(1)的顶部左侧设置有进水管(14)。

2.根据权利要求1所述的一种化工生产用高效气液分离器,其特征在于:所述进气管(2)的出气端圆心的水平延长线位于转轴(8)下侧的叶轮(9)上。

3.根据权利要求1所述的一种化工生产用高效气液分离器,其特征在于:所述进水管(14)的出水端圆心的竖直延长线位于转轴(8)左侧的叶轮(9)上。

4.根据权利要求1所述的一种化工生产用高效气液分离器,其特征在于:所述下防浪板(11)的底部开设有开槽。

5.根据权利要求1所述的一种化工生产用高效气液分离器,其特征在于:所述上防浪板(7)的底部高度小于下防浪板(11)的顶部高度。

6.根据权利要求1所述的一种化工生产用高效气液分离器,其特征在于:所述溢流隔板(12)位于左出液管(4)和右出液管(5)之间,且捕雾器(13)的投影位于溢流隔板(12)的左侧。

7.根据权利要求1所述的一种化工生产用高效气液分离器,其特征在于:所述溢流隔板(12)的高度小于下防浪板(11)的高度。

8.根据权利要求1所述的一种化工生产用高效气液分离器,其特征在于:所述进气管(2)、出气管(3)、左出液管(4)、右出液管(5)和进水管(14)上分别设置有第一阀门(15)、第二阀门(16)、第三阀门(17)、第四阀门(18)和第五阀门(19)。

9.根据权利要求1所述的一种化工生产用高效气液分离器,其特征在于:所述捕雾器(13)包括外壳(1301)和均匀分布在外壳(1301)内腔的波形板(1302)。

10.根据权利要求9所述的一种化工生产用高效气液分离器,其特征在于:所述外壳(1301)的顶部呈倒漏斗状,且外壳(1301)的顶部倒漏斗出口与出气管(3)相连通。