欢迎来到知嘟嘟! 联系电话:13336804447 卖家免费入驻,海量在线求购! 卖家免费入驻,海量在线求购!
知嘟嘟
我要发布
联系电话:13336804447
知嘟嘟经纪人
收藏
专利号: 2018113335980
申请人: 大连交通大学
专利类型:发明专利
专利状态:已下证
专利领域: 水、废水、污水或污泥的处理
更新日期:2024-01-05
缴费截止日期: 暂无
价格&联系人
年费信息
委托购买

摘要:

权利要求书:

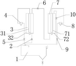
1.一种源分离尿液冲洗水的电化学处理系统,其特征在于:所述电化学处理系统包括沉淀储水池、电解池Ⅰ、镁源反应器Ⅰ、电解池Ⅱ、镁源反应器Ⅱ;

所述电解池Ⅰ包括多孔钛棒阳极Ⅰ、不锈钢阴极管Ⅰ;

所述多孔钛棒阳极Ⅰ置于不锈钢阴极管Ⅰ内,所述不锈钢阴极管Ⅰ的底部设有进水口,所述不锈钢阴极管Ⅰ的顶部设有阴极出水口,所述多孔钛棒阳极Ⅰ的顶部设有阳极出水口;

所述电解池Ⅱ包括多孔钛棒阳极Ⅱ、不锈钢阴极管Ⅱ;

所述多孔钛棒阳极Ⅱ置于不锈钢阴极管Ⅱ内,所述不锈钢阴极管Ⅱ的底部设有进水口,所述不锈钢阴极管Ⅱ的顶部设有阴极出水口,所述多孔钛棒阳极Ⅱ的顶部设有阳极出水口;

所述沉淀储水池通过水泵与电解池Ⅰ的进水口连接,所述电解池Ⅰ的阳极出水口通过镁源反应器Ⅰ返回沉淀储水池,所述电解池Ⅰ的阴极出水口与电解池Ⅱ的进水口连接,所述电解池Ⅱ的阳极出水口通过镁源反应器Ⅱ返回沉淀储水池,所述电解池Ⅱ的阴极出水口返回沉淀储水池。

2.根据权利要求1所述源分离尿液冲洗水的电化学处理系统,其特征在于:所述多孔钛棒阳极Ⅰ与电源的正极连接,所述不锈钢阴极管Ⅰ与电源的负极连接。

3.根据权利要求2所述源分离尿液冲洗水的电化学处理系统,其特征在于:所述多孔钛棒阳极Ⅱ与电源的正极连接,所述不锈钢阴极管Ⅱ与电源的负极连接。

4.根据权利要求3所述源分离尿液冲洗水的电化学处理系统,其特征在于:所述沉淀储水池的底部设有沉淀出口,所述沉淀储水池的顶部设有上清液溢流口。

5.根据权利要求4所述源分离尿液冲洗水的电化学处理系统,其特征在于:所述电解池Ⅰ的阴极出水口与电解池Ⅱ的进水口之间设有阀门Ⅰ。

6.根据权利要求5所述源分离尿液冲洗水的电化学处理系统,其特征在于:所述镁源反应器Ⅰ与沉淀储水池之间设有阀门Ⅱ。

7.根据权利要求6所述源分离尿液冲洗水的电化学处理系统,其特征在于:所述电解池Ⅱ的阴极出水口与沉淀储水池之间设有阀门Ⅲ。

8.根据权利要求7所述源分离尿液冲洗水的电化学处理系统,其特征在于:所述镁源反应器Ⅱ与沉淀储水池之间设有阀门Ⅳ。

9.一种利用权利要求1、2、3、4、5、6、7或8所述系统源分离尿液冲洗水的电化学处理方法,其特征在于:所述电化学处理方法包括如下步骤:①利用水泵将尿液冲洗水泵入电化学处理系统内进行循环处理;

②在循环处理的过程中,得到的沉淀由沉淀储水池的沉淀出口排出,得到的上清液由沉淀储水池的上清液溢流口排出。

10.根据权利要求9所述的电化学处理方法,其特征在于:通过所述阀门Ⅰ、阀门Ⅱ、阀门Ⅲ和阀门Ⅳ控制电化学处理系统内液体的流速。