欢迎来到知嘟嘟! 联系电话:13336804447 卖家免费入驻,海量在线求购! 卖家免费入驻,海量在线求购!
知嘟嘟
我要发布
联系电话:13336804447
知嘟嘟经纪人
收藏
专利号: 2019109422586
申请人: 浙江海洋大学
专利类型:发明专利
专利状态:已下证
专利领域: 液力机械或液力发动机;风力、弹力或重力发动机;其他类目中不包括的产生机械动力或反推力的发动机
更新日期:2024-01-05
缴费截止日期: 暂无
价格&联系人
年费信息
委托购买

摘要:

权利要求书:

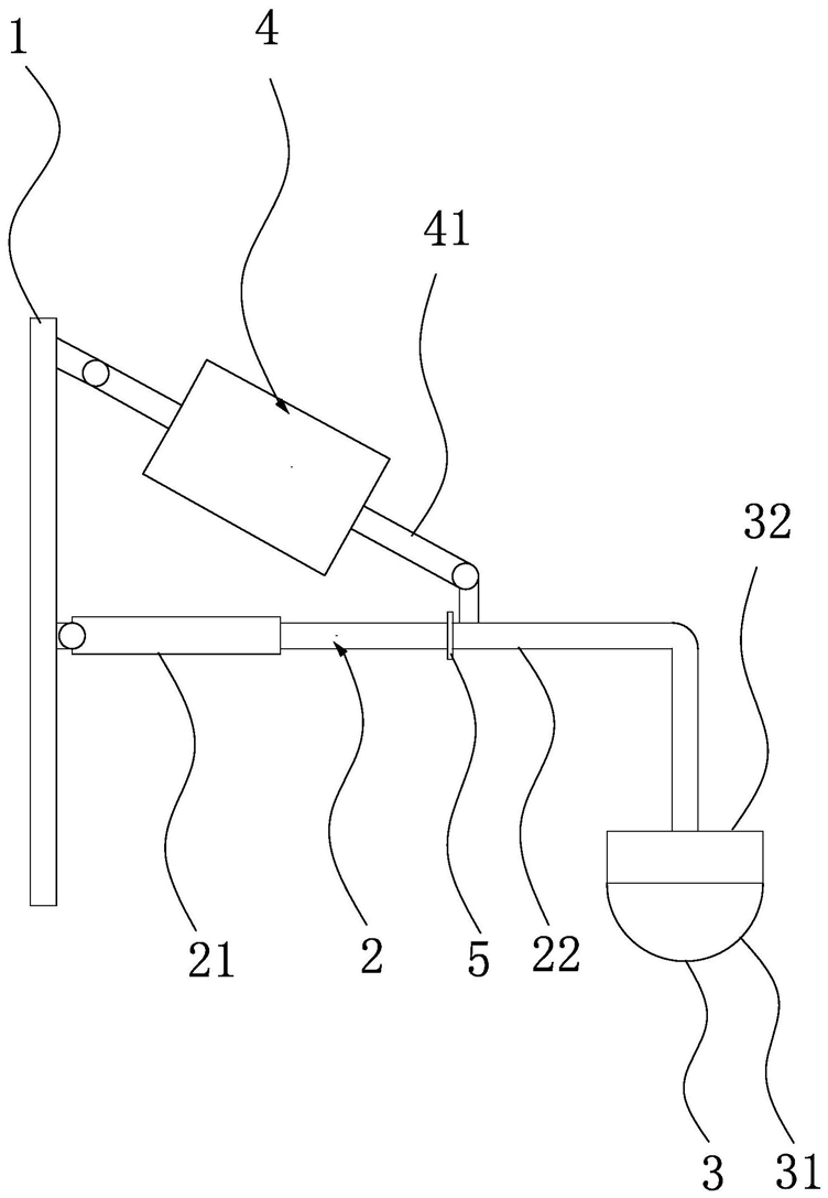
1.一种远洋渔场用波浪能转换装置,其特征在于,包括竖向固设在远洋渔场外围的立柱(1),所述立柱(1)上连接有横向的伸缩杆(2),所述伸缩杆(2)位于海水的上方且一端与所述立柱(1)的侧部相铰接,所述伸缩杆(2)的另一端向下弯折且端部固设有漂浮在海水上的浮子(3),所述伸缩杆(2)的上方设有向下倾斜的液压缸组(4),所述液压缸组(4)的上端与所述立柱(1)的上端外侧相铰接,所述液压缸组(4)的下端设有活塞杆(41),所述活塞杆(41)的端部铰接在所述伸缩杆(2)上,所述浮子(3)上下波动能够带动所述活塞杆(41)沿所述液压缸组(4)的长度方向往复移动,所述液压缸组(4)还连接有能够发电的液压马达。

2.根据权利要求1所述的远洋渔场用波浪能转换装置,其特征在于,所述液压缸组(4)包括缸体一(42)和位于所述缸体一(42)内的活塞一(42a)、缸体二(43)和位于所述缸体二(43)内的活塞二(43a)、缸体三(44)和位于所述缸体三(44)的活塞三(44a);所述缸体一(42)、缸体二(43)和缸体三(44)均呈圆柱体形且三者同轴设置,所述活塞杆(41)的上端位于所述缸体一(42)内且与所述活塞一(42a)下侧面的中心相固接,所述缸体一(42)的上端穿过所述缸体二(43)的下端且位于所述缸体二(43)内,所述缸体一(42)的上端端面与所述活塞二(43a)下侧面的中心相固接,所述缸体二(43)的上端穿过所述缸体三(44)的下端且与所述活塞三(44a)下侧面的中心相固接,所述缸体一(42)的外壁与所述缸体二(43)的下端密封连接,所述缸体二(43)的外壁与所述缸体三(44)的下端密封连接;所述缸体一(42)外周面上靠近下端的位置开有进油口一(42b),所述缸体一(42)下端外周面上与所述进油口一(42b)相对的一侧设有出油口一(42c),所述缸体二(43)下端外周面上相对开有进油口二(43b)和出油口二(43c),所述缸体三(44)外周面上靠近上端的位置相对开有进油口三(44b)和出油口三(44c),所述活塞三(44a)上间隔设有将所述缸体二(43)内液压油导入所述缸体三(44)内的出油单向阀(45)和将所述缸体三(44)内液压油导入所述缸体二(43)内的进油单向阀(46)。

3.根据权利要求2所述的远洋渔场用波浪能转换装置,其特征在于,所述进油口一(42b)上端至所述缸体一(42)的上端之间的距离大于所述缸体二(43)的高度,所述缸体二(43)的高度大于所述缸体三(44)的高度,所述缸体一(42)的直径小于所述缸体二(43)的直径,所述缸体二(43)的直径小于所述缸体三(44)的直径。

4.根据权利要求3所述的远洋渔场用波浪能转换装置,其特征在于,所述出油单向阀(45)在所述活塞三(44a)上的位置与所述出油口三(44c)相近,所述进油单向阀(46)在所述活塞三(44a)上的位置与所述进油口三(44b)相近。

5.根据权利要求4所述的远洋渔场用波浪能转换装置,其特征在于,所述缸体一(42)的上端为开口或闭口,所述缸体二(43)的上端为开口或闭口,所述缸体三(44)的上端为闭口。

6.根据权利要求1至5任意一项所述的远洋渔场用波浪能转换装置,其特征在于,所述伸缩杆(2)的长度为海水波浪波长的0.5n倍,n为自然数。

7.根据权利要求6所述的远洋渔场用波浪能转换装置,其特征在于,所述伸缩杆(2)包括固定套(21)和活动杆(22),所述固定套(21)的内端与所述立柱(1)的中部外周面相铰接,所述活动杆(22)的一端插设在所述固定套(21)的外端且能沿所述固定套(21)的长度方向往复滑动,所述活动杆(22)呈L型,所述浮子(3)固定在所述活动杆(22)的另一端,所述液压缸组(4)的活塞杆(41)的端部与所述活动杆(22)的上侧面相铰接。

8.根据权利要求7所述的远洋渔场用波浪能转换装置,其特征在于,所述活动杆(22)的外周面上固设有挡环(5),所述挡环(5)靠近所述活塞杆(41)与所述活动杆(22)的铰接点。

9.根据权利要求8所述的远洋渔场用波浪能转换装置,其特征在于,所述浮子(3)包括呈半球型的漂浮部(31)和呈圆柱体型的连接部(32),所述连接部(32)的下端面与所述漂浮部(31)的上端面相对接,所述活动杆(22)的下端固接在所述连接部(32)上端的中心。

10.根据权利要求1所述的远洋渔场用波浪能转换装置,其特征在于,远洋渔场的外围为圆形且周向设有十二个所述立柱(1),相邻两个所述立柱(1)之间的夹角均为30°,每个所述立柱(1)上均连接有所述液压缸组(4)和通过所述伸缩杆(2)连接有所述浮子(3);十二个所述液压缸组(4)和液压马达(5)呈环形串联。