欢迎来到知嘟嘟! 联系电话:13336804447 卖家免费入驻,海量在线求购! 卖家免费入驻,海量在线求购!
知嘟嘟
我要发布
联系电话:13336804447
知嘟嘟经纪人
收藏
专利号: 2019107213285
申请人: 玉环市大众铜业制造有限公司
专利类型:发明专利
专利状态:已下证
专利领域: 一般喷射或雾化;对表面涂覆液体或其他流体的一般方法〔2〕
更新日期:2025-04-03
缴费截止日期: 暂无
价格&联系人
年费信息
委托购买

摘要:

权利要求书:

1.一种阀门加工工艺,其特征在于:包括:

a、从外采购阀体铸件和锻件,对购置的组件进行检测,通过检测的铸件在进入车间加工前再进行补焊;

b、将购置得到的阀杆棒进行调质处理,合格后进行车削加工、钻铣加工和去毛刺加工;

c、将购置的手轮放入到手轮加工装置上,在手轮表面涂上油漆,将涂好油漆的手轮放在一处以便组装使用;

d、对购置的密封件和紧固件检测,合格后将密封件和紧固件放入库中备用;

e、将各部分零件组装在一起,形成阀门产品;

f、对组装后的阀门进行检测,将合格后的阀门打包出厂;

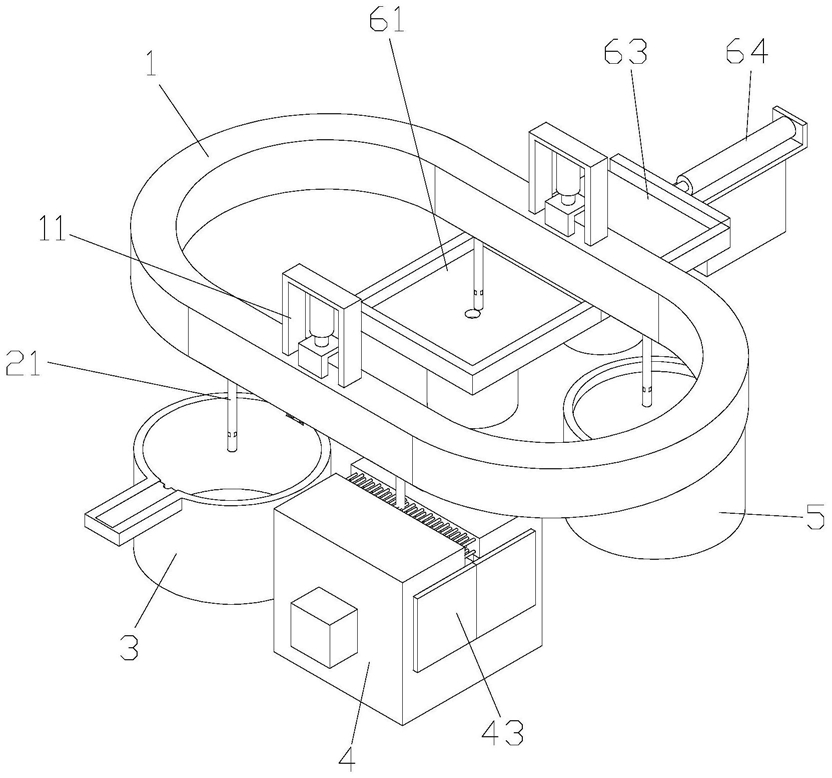
其中,所述步骤c中的手轮加工装置包括导轨(1)、设于所述导轨(1)内的导块(2)、设于所述导轨(1)下方的浸漆箱(3)、设于所述浸漆箱(3)一侧的烘干箱(4)、设于所述烘干箱(4)一侧的集料箱(5)及设于所述集料箱(5)一侧的第一推板(61),所述导块(2)底部设有第一连接杆(21),所述第一连接杆(21)内设有空腔,所述空腔侧壁上设有开口,所述开口内穿设有固定块(24),所述第一连接杆(21)侧壁上设有与所述开口相配合的密封膜(23),所述导块(2)上设有用于驱动所述固定块(24)往所述开口外侧运动的第一气缸(22),所述导轨(1)顶部设有用于推动所述导块(2)往下运动的第二气缸(12);对手轮进行加工时,将手轮放置在第一推板(61)上,导块(2)沿着导轨(1)移动,使导块(2)移动至第一推板(61)上方,第一推板(61)推动手轮往上运动,手轮上的通孔与第一连接杆(21)相对齐,使第一连接杆(21)插入到手轮的通孔内,第一气缸(22)驱动固定块(24)往开口外侧运动,固定块(24)推动密封膜(23)往外运动,密封膜(23)与手轮通孔内壁相接触,将手轮固定,导块(2)沿着导轨(1)移动,带动手轮一同移动,当导块(2)移动至浸漆箱(3)上方时,第二气缸(12)推动导块(2)往下运动,使第一连接杆(21)带动手轮往下运动,手轮浸入到浸漆箱(3)内与油漆相接触,完成手轮的浸漆加工;当手轮浸漆完成后,导块(2)往上运动使手轮从浸漆箱(3)内移出,导块(2)沿着导轨(1)继续移动,使手轮进入到烘干箱(4)内,在烘干箱(4)内对手轮做烘干处理,将手轮上的油漆烘干,烘干后的手轮随着导块(2)移动至集料箱上方,第一气缸(22)驱动固定块(24)进入到空腔内,手轮从第一连接杆(21)上掉落,将干燥后的手轮收集在集料箱(5)内,随后导块(2)继续移动,使导块(2)再次移动至第一推板(61)上方,对下一块手轮做上漆处理。

2.按照权利要求1所述的一种阀门加工工艺,其特征在于:所述硬密封形式的密封件在车削加工后直接进行钻铣刨插加工、去毛刺打磨,随后以清洗捶杆,进行防锈处理然后入库等待组装。

3.按照权利要求1所述的一种阀门加工工艺,其特征在于:所述调质处理包括淬火加高温回火的双重热处理,再进行化学、力学、硬度的检验。

4.按照权利要求1所述的一种阀门加工工艺,其特征在于:所述软密封形式的密封件逐渐在车削加工后,还要做堆焊、精加工、钻铣刨插加工、去毛刺打磨和密封面研磨,随后清洗吹干防锈入库。

5.按照权利要求1所述的一种阀门加工工艺,其特征在于:所述导块(2)上设有安装槽,所述第一连接杆(21)顶部设有与所述安装槽相配合的安装板,所述安装槽内壁上设有第一活动槽,所述第一活动槽内穿设有固定板(26),所述固定板(26)侧壁上设有固定弹簧(262),所述固定弹簧(262)一端固连于所述第一活动槽内壁上;所述导轨(1)内设有第一支撑板(14),所述导块(2)设于所述第一支撑板(14)顶部,所述第一支撑板(14)底部设有多个第一支撑弹簧(15);在对第一连接杆(21)安装时,将固定板(26)推入到第一活动槽内,将安装板放入到安装槽内,安装板放入到安装槽内后在固定弹簧(262)作用下将固定板(26)从第一活动槽内推出,使固定板(26)进入到安装槽内,固定板(26)与安装板相接触,将安装板固定在安装槽内;第二气缸(12)推动导块(2)往下运动时,导块(2)推动第一支撑板(14)往下运动,使第一支撑板(14)压缩第一支撑弹簧(15),当手轮浸漆完成后,第一支撑弹簧(15)推动第一支撑板(14)往上运动,使第一支撑板(14)推动导块(2)往上运动,导块(2)运动至初始位置上,使导块(2)带动手轮正常移动。

6.按照权利要求1所述的一种阀门加工工艺,其特征在于:所述浸漆箱(3)两侧侧壁上分别设有安装块(31),所述安装块(31)上设有第二活动槽,所述第二活动槽内设有活动板(32),所述活动板一端设有与所述第一连接杆(21)相配合的第一凹槽,所述第一凹槽内壁上设有第三活动槽,所述第三活动槽内设有固定环(33),所述活动板(32)上设有用于驱动所述固定环(33)转动的驱动电机(34);所述烘干箱(4)侧壁上设有热风机(41),所述烘干箱(4)侧壁上设有与所述热风机(41)相配合的第一通孔,所述烘干箱(4)内设有烘干腔,所述热风机(41)通过所述第一通孔与所述烘干腔相通,所述烘干箱(4)侧壁上铰接有密封门(43);导块(2)移动至浸漆箱(3)上方后,第二气缸(12)推动导块(2)往下运动,导块(2)带动手轮往下运动,使手轮浸没在油漆内,活动板(32)往浸漆箱(3)中部运动,使第一连接杆(21)嵌入到第一凹槽内,固定环(33)与第一连接杆(21)侧壁相接触,驱动电机(34)驱动固定环(33)转动,固定环(33)带动第一连接杆(21)转动,从而带动手轮在浸漆箱(3)内转动,完成手轮的浸漆操作;手轮完成浸漆操作后,活动板(32)往第二活动槽一端运动,导块(2)往上运动,导块(2)带动手轮运动至烘干箱(4)处,热风机(41)往烘干腔内吹送热气,手轮推开密封门(43)进入到烘干腔内,在烘干腔内完成手轮的干燥处理。