欢迎来到知嘟嘟! 联系电话:13336804447 卖家免费入驻,海量在线求购! 卖家免费入驻,海量在线求购!
知嘟嘟
我要发布
联系电话:13336804447
知嘟嘟经纪人
收藏
专利号: 2019106884668
申请人: 南阳理工学院
专利类型:发明专利
专利状态:已下证
专利领域: 测量;测试
更新日期:2024-01-05
缴费截止日期: 暂无
价格&联系人
年费信息
委托购买

摘要:

权利要求书:

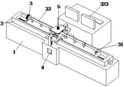
1.一种多维动静组合加载岩石力学实验装置,其特征在于:包括工作台(1)、调节机构(2)、一维水平动静组合加载机构(3)、升降机构(4)和二维动静组合加载机构(5),所述调节机构(2)安装在工作台(1)的上端,所述一维水平动静组合加载机构(3)包括动载组件(31)和静载组件(32),所述动载组件(31)和静载组件(32)相对设置在调节机构(2)的两端,所述升降机构(4)安装在工作台(1)的上端且升降机构(4)位于调节机构(2)中部的上方,所述二维动静组合加载机构(5)包括移动组件(51),水平加载组件(52)和竖直加载组件(53),所述移动组件(51)安装在升降机构(4)的上端,所述水平加载组件(52)安装在移动的上端,所述竖直加载组件(53)安装在升降机构(4)的上端且竖直加载组件(53)位于水平加载组件(52)的正上方。

2.根据权利要求1所述的一种多维动静组合加载岩石力学实验装置,其特征在于:所述升降机构(4)包括升降座(41)、两个驱动杆(42)和四个导杆(43),两个所述驱动杆(42)插接在工作台(1)的两侧,且两个驱动杆(42)的下端均与工作台(1)转动连接,两个驱动杆(42)的上部均设有驱动螺纹(44),四个所述导杆(43)呈两两分布在工作台(1)的两侧且四个导杆(43)均呈竖直设置,所述升降座(41)上设有四个导向孔(45),四个导向孔(45)分别与四个导杆(43)滑动配合,所述升降座(41)的两端均设有驱动螺孔(46),两个所述驱动螺孔(46)分别与两个驱动螺纹(44)相配合,两个所述驱动杆(42)的下端均套设有驱动轮(47),两个驱动轮(47)之间通过皮带传动连接,其中一个所述驱动杆(42)的下端设有输出端与其固定连接的升降电机(48)。

3.根据权利要求2所述的一种多维动静组合加载岩石力学实验装置,其特征在于:所述移动组件(51)包括两个移动轨道(511)和移动架(512),两个所述移动轨道(511)均呈水平设置在升降座(41)的上端,所述移动架(512)的下端与两个移动轨道(511)滑动配合,所述升降座(41)的一端设有移动液压杆(513),所述移动液压杆(513)的输出端与移动架(512)的一端固定连接。

4.根据权利要求3所述的一种多维动静组合加载岩石力学实验装置,其特征在于:所述水平加载组件(52)包括水平液压杆(521),所述水平液压杆(521)呈水平安装在移动架(512)的一侧且水平液压杆(521)的输出端上设有连接板,所述连接板上设有与其通过螺丝连接的第一加载块(523),所述移动架(512)的另一侧设有与其固定连接的连接架(524),所述连接架(524)上设有与其通过螺丝固定连接的第二加载块(525)。

5.根据权利要求3所述的一种多维动静组合加载岩石力学实验装置,其特征在于:所述竖直加载组件(53)包括支撑架(531)、竖直加压器(532)和作动器(533),所述作动器(533)安装在升降座(41)的上端,所述支撑架(531)安装在升降座(41)的上端,所述竖直加压器(532)设置在支撑架(531)的上端且竖直加压器(532)的输出端朝向作动器(533)设置。

6.根据权利要求5所述的一种多维动静组合加载岩石力学实验装置,其特征在于:所述作动器(533)的上端设有棱槽(6),所述作动器(533)上设有固定盘(7),所述固定盘(7)的下端设有与棱槽(6)插接配合的棱柱(8),所述固定盘(7)的上端设有校准网线(9)。

7.根据权利要求1所述的一种多维动静组合加载岩石力学实验装置,其特征在于:所述调节机构(2)包括调节座(21),所述调节座(21)的上端设有调节槽(22),所述调节槽(22)内设有两个调节块(27)且两个调节块(27)均与调节槽(22)滑动配合,所述调节槽(22)内设有调节轴(23),所述调节轴(23)的两端分别设有第一螺纹(24)和第二螺纹(25),所述第一螺纹(24)和第二螺纹(25)的螺旋方向相反,两个所述调节块(27)分别与第一螺纹(24)和第二螺纹(25)螺纹配合,所述调节座(21)的一端设有与其固定连接的调节电机(26),所述调节电机(26)的输出端与调节轴(23)的一端固定连接,所述动载组件(31)和静载组件(32)分别安装在一个调节块(27)的上端。

8.根据权利要求7所述的一种多维动静组合加载岩石力学实验装置,其特征在于:所述动载组件(31)包括高压气泵(311)、冲头发射部(312)、冲头、入射杆(313)和第一应变片,所述入射杆(313)呈水平设置在调节块(27)的上方且入射杆(313)的一端朝向二维动静组合加载机构(5)设置,所述高压气泵(311)与冲头发射部(312)连接,所述冲头安装在冲头发射部(312)的前端且冲头朝向入射杆(313)的一端设置,所述第一应变片安装在入射杆(313)的内部,所述入射杆(313)和高压气泵(311)的下端均设有第一固定架,所有第一固定架的下端均与调节块(27)固定连接。

9.根据权利要求8所述的一种多维动静组合加载岩石力学实验装置,其特征在于:所述静载组件(32)包括静压加载器(321)、投射杆(322)、静压杆和数据处理系统(323),所述静压加载器(321)安装在投射杆(322)的一端且投射杆(322)的另一端朝向二维动静组合加载机构(5)设置,所述静压杆安装在投射杆(322)内且静压杆与静压加载器(321)相配合,所述投射杆(322)内设有第二应变片,所述第一应变片和第二应变片均与数据处理系统(323)连接。