欢迎来到知嘟嘟! 联系电话:13336804447 卖家免费入驻,海量在线求购! 卖家免费入驻,海量在线求购!
知嘟嘟
我要发布
联系电话:13336804447
知嘟嘟经纪人
收藏
专利号: 2018110941033
申请人: 山东科技大学
专利类型:发明专利
专利状态:已下证
专利领域: 测量;测试
更新日期:2023-12-11
缴费截止日期: 暂无
价格&联系人
年费信息
委托购买

摘要:

权利要求书:

1.一种加载刚度可调岩石力学试验系统的试验方法,其特征在于,所述的加载刚度可调岩石力学试验系统包括:加载单元,用于对试件进行加载;

变刚度单元,用于在加载过程中调节加载刚度;

监测单元,用于监测所述试验系统加载刚度,以及试件的压力和位移变化,并生成监测数据;

数据分析单元,分别与所述加载单元、变刚度单元和监测单元相连接,数据分析单元用于控制加载单元加载,且数据分析单元还用于对接收的监测数据进行处理分析,并根据分析结果控制变刚度单元调节加载刚度;

试验方法包括两种试验方式,其中:

第一种试验方式:调节可调岩石力学试验系统的加载刚度,具体方法包括以下步骤:第1.1步、将试件放置到压力室中;

第1.2步、预设加载刚度值,控制加载单元对试件进行加载;

第1.3步、实时监测试件的压力变化和变刚度单元的刚度变化,一旦发现变刚度单元刚度值偏离设定值,通过变刚度伺服控制器快速进行调整,使其刚度始终保持在设定值;具体为:压力传感器实时监测试件的压力值,即为伺服油缸的压力值,位移传感器监测伺服油缸的位移变化,根据当前压力值和设定的加载刚度值计算确定伺服油缸所需的压缩位移,结合伺服油缸已有的位移变化,确定其需要改变的位移,通过变刚度伺服控制器控制油箱对伺服油缸进行排或进油,使伺服油缸的压缩位移达到所需的压缩值,实现将变刚度单元的刚度值调节至设定值;

第1.4步、加载单元继续加载,变刚度单元调节加载刚度值保持恒定,或再次按照第三步记载的方法将变刚度单元的刚度值调节至下一设定值;

第二种方式:试验不同顶板刚度下的煤体力学特性,具体方法包括以下步骤:第2.1步:试件制作

将多组不同刚度顶板岩样和待测煤试样分别加工成标准圆柱体试件,要求每个加载刚度下待测煤试样试件数不少于三组;

第2.2步:确定不同顶板的刚度值

对不同顶板的试件进行加载试验,得到不同顶板试件的应力-应变曲线,根据不同顶板试件的应力-应变曲线得到不同顶板试件的弹性模量,同时测得不同顶板试件的横截面积,根据公式求得不同顶板的刚度:式中,

k——顶板刚度,单位,N/m;

E——顶板岩样试件弹性模量,单位,MPa;

A——顶板岩样试件横截面积,单位m2;

L——顶板岩样试件的高度,单位,m;

第2.3步:选取第二步确定的某一顶板的刚度值作为加载刚度值,对待测煤试件在该刚度下的抗压强度值和弹性模量值进行试验第2.3.1步:加载试验

试验前,首先预设变刚度岩石力学试验机的加载刚度值等于该顶板的刚度值,将待测煤试件放置到压力室中;然后启动试验机,使其对待测煤试件进行加载试验,在加载试验过程中,实时采集压力传感器和位移传感器监测到的数据,根据设定的刚度值与当前压力值确定相对应的伺服油缸压缩位移,结合伺服油缸已有的位移,不断地通过排油或进油调整伺服油缸的压缩位移,以实现加载过程中刚度值的恒定,通过加载试验获得待测煤试件在该预设刚度下的应力—应变曲线;

第2.3.2步:重复加载试验

更换煤试件,重复步骤3.1的试验,对该刚度下加载试验至少进行三次,每次得到一个待测煤试件的应力—应变曲线,每个应力—应变曲线可以求得一个抗压强度值和一个弹性模量值;

第2.3.3步:将多次试验获得的抗压强度和弹性模量分别求平均值,该平均值即为待测煤试件此刚度下的抗压强度和弹性模量;

第2.4步:更换加载刚度值,重复步骤三方法,从而得到待测煤试件在新的试验刚度下的抗压强度和弹性模量;以此类推,直到得到待测煤试件在所有刚度下的抗压强度和弹性模量;

第2.5步:绘制出不同顶板刚度下煤体的力学特性曲线

根据得到的各个顶板刚度下待测煤试件的抗压强度和弹性模量,绘制出不同试验机刚度下的煤体力学特性曲线,即不同顶板刚度下煤体的力学特性曲线。

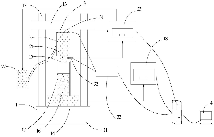
2.如权利要求1所述的加载刚度可调岩石力学试验系统的试验方法,其特征在于,所述加载单元包括底座、加载油缸、上压盘、下压盘、压力室和加载伺服控制器,在底座的上表面两侧间隔地固定有两个机架,两个机架上部通过横架相连接;所述的加载油缸固定在底座的上表面,且位于两个机架之间;所述上压盘与变刚度单元的底部相连接,下压盘与加载油缸的活塞杆相连接;所述的压力室设置在加载油缸上方,上压盘和下压盘分别穿设在压力室的内部上方和下方,试件放置在上压盘和下压盘之间;所述的加载伺服控制器,分别与加载油缸和数据分析单元相连接。

3.如权利要求1所述的加载刚度可调岩石力学试验系统的试验方法,其特征在于,所述变刚度单元包括伺服油缸、油箱和变刚度伺服控制器,所述伺服油缸设置在横架的下方,且伺服油缸的活塞杆与上压盘相连接;所述油箱与伺服油缸和变刚度伺服控制器相连接;所述变刚度伺服控制器与伺服油缸和数据分析单元相连接。

4.如权利要求1所述的加载刚度可调岩石力学试验系统的试验方法,其特征在于,所述监测单元包括压力传感器、位移传感器和信号采集器,所述压力传感器设置在横架与伺服油缸之间,所述位移传感器设置在上压盘上,且位于压力室的上方,所述信号采集器前端与压力传感器和位移传感器相连接,后端与数据分析单元相连接。

5.如权利要求1所述的加载刚度可调岩石力学试验系统的试验方法,其特征在于,所述压力室的侧壁上还设有可打开和关闭的仓门。