欢迎来到知嘟嘟! 联系电话:13095918853 卖家免费入驻,海量在线求购! 卖家免费入驻,海量在线求购!
知嘟嘟
我要发布
联系电话:13095918853
知嘟嘟经纪人
收藏
专利号: 2019102043945
申请人: 临沂文一诺知识产权运营有限公司
专利类型:发明专利
专利状态:已下证
专利领域: 基本电气元件
更新日期:2024-02-23
缴费截止日期: 暂无
价格&联系人
年费信息
委托购买

摘要:

权利要求书:

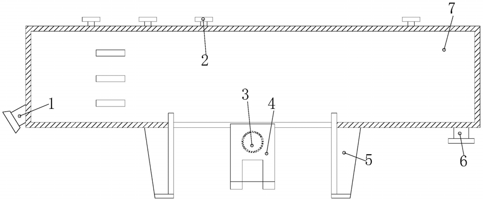
1.通过旋动实现出气孔通阻更替的变压器油枕,其结构包括指针式油表(1)、吸湿器管接头(2)、油枕出气孔(3)、集气盒(4)、支撑脚(5)、集污盒(6)、外壳(7),所述的指针式油表(1)与集污盒(6)分别安装在外壳(7)的两端上,所述的指针式油表(1)与集污盒(6)均贯穿外壳(7),其特征在于:所述的吸湿器管接头(2)设于外壳(7)顶部,所述的集气盒(4)安装在外壳(7)底部中央,所述的支撑脚(5)设有两个并且呈对称结构设于外壳(7)底部,所述的支撑脚(5)与外壳(7)机械焊接,所述的集气盒(4)上设有油枕出气孔(3),所述的油枕出气孔(3)与外壳(7)内腔相通。

2.根据权利要求1所述的通过旋动实现出气孔通阻更替的变压器油枕,其特征在于:所述的油枕出气孔(3)由通阻机构(301)、驱动机构(302)、固定圈层(303)、孔道(304)构成,所述的通阻机构(301)与孔道(304)相连接,所述的孔道(304)设于油枕出气孔(3)中央,所述的驱动机构(302)与通阻机构(301)机械配合,所述的驱动机构(302)设于固定圈层(303)上,所述的固定圈层(303)位于孔道(304)外侧。

3.根据权利要求2所述的通过旋动实现出气孔通阻更替的变压器油枕,其特征在于:所述的通阻机构(301)由滑块(3011)、遮板(3012)、旋转固定轴(3013)、驱动连接杆(3014)、固定轴(3015)构成,所述的旋转固定轴(3013)贯穿遮板(3012)的一个角,所述的固定轴(3015)将驱动连接杆(3014)的一端贯穿并固定在遮板(3012)上,所述的驱动连接杆(3014)的另一端与驱动机构(302)机械连接,所述的遮板(3012)相连接组成一个圆盘。

4.根据权利要求2所述的通过旋动实现出气孔通阻更替的变压器油枕,其特征在于:所述的驱动机构(302)由连接杆(3021)、螺纹层(3022)、外圈层(3023)、内圈层(3024)构成,所述的连接杆(3021)与螺纹层(3022)固定连接,所述的连接杆(3021)远离螺纹层(3022)的一端与滑块(3011)机械连接,所述的螺纹层(3022)均等分布在外圈层(3023)上,所述的内圈层(3024)与滑块(3011)机械连接。

5.根据权利要求4所述的通过旋动实现出气孔通阻更替的变压器油枕,其特征在于:所述的内圈层(3024)由驱动杆(30241)、滑轨(30242)构成,所述的驱动杆(30241)安装在滑轨(30242)腔内底部,所述的滑轨(30242)内设有滑块(3011),所述的滑轨(30242)与滑块(3011)滑动配合,所述的驱动杆(30241)与连接杆(3021)机械连接。