欢迎来到知嘟嘟! 联系电话:13336804447 卖家免费入驻,海量在线求购! 卖家免费入驻,海量在线求购!
知嘟嘟
我要发布
联系电话:13336804447
知嘟嘟经纪人
收藏
专利号: 2012105947206
申请人: 浙江工业大学
专利类型:发明专利
专利状态:已下证
专利领域: 工程元件或部件;为产生和保持机器或设备的有效运行的一般措施;一般绝热
更新日期:2024-12-11
缴费截止日期: 暂无
价格&联系人
年费信息
委托购买

摘要:

权利要求书:

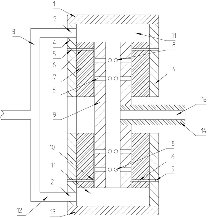
1.一种可实现串联供气的旋转供气装置,其特征在于:包括气浮轴、一对气浮套、储气套和出气管道,所述气浮轴套装在气浮套内,所述气浮套有两个,所述气浮套外围与储气套固定,所述储气套两端与端盖及固定,所述储气套中间开有环形槽与大气相通,所述储气套两端与上端盖、下端盖、气浮套、气浮轴形成上下两个高压腔,所述储气套有上下两个进气口且与高压腔相通,所述上下两个进气口通过气管和接通,所述气浮轴中心有轴向通孔,所述气浮轴中部径向出气口,所述出气管道与气浮轴刚性连接,所述气浮轴径向出气口与出气管道内孔相通,所述出气管道穿过储气套上的环形槽,所述气浮轴与气浮套之间存在微小间隙,所述气浮轴与气浮套配合的部分均布有节流孔,所述节流孔沿气浮轴圆周方向均布且在轴向上至少有两组,所述气浮套上靠近高压腔一端沿圆周方向均布卸压孔,所述卸压孔所在圆周上开有卸压槽,所述卸压孔与气浮轴和气浮套之间的间隙相通,所述储气套上打通孔与卸压孔相通。