欢迎来到知嘟嘟! 联系电话:13336804447 卖家免费入驻,海量在线求购! 卖家免费入驻,海量在线求购!
知嘟嘟
我要发布
联系电话:13336804447
知嘟嘟经纪人
收藏
专利号: 2019112395828
申请人: 新昌县知贝机械有限公司
专利类型:发明专利
专利状态:已下证
专利领域: 道路、铁路或桥梁的建筑
更新日期:2025-12-18
缴费截止日期: 暂无
价格&联系人
年费信息
委托购买

摘要:

权利要求书:

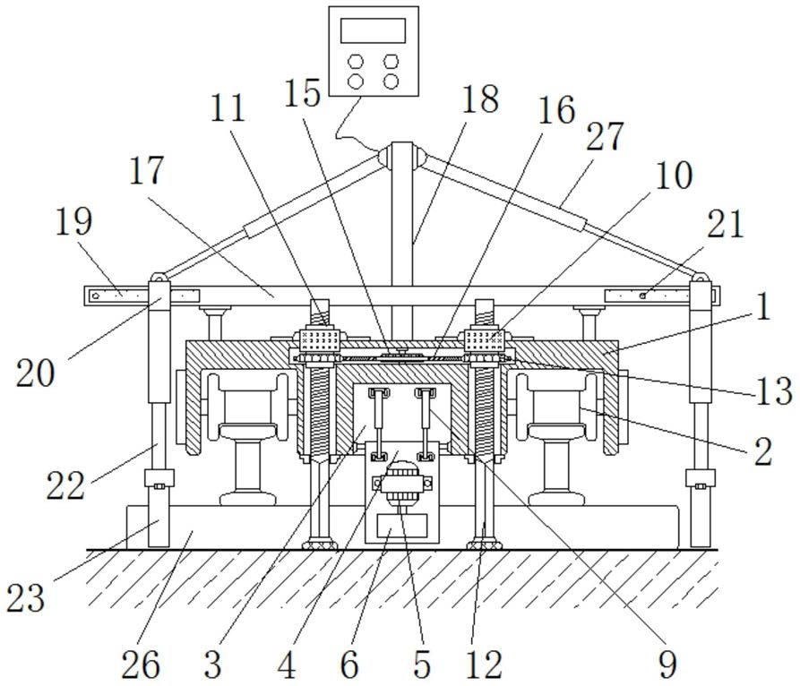
1.一种铁路交通轨枕拆装更换辅助替换设备,包括外壳(1)、第一电机(5)、第一液压杆(9)、第二电机(14)、光电传感器(21)、第二液压杆(25)和第三液压杆(27),其特征在于:所述外壳(1)的底部边缘处固定安装有移动轮组件(2),且外壳(1)的底部外壁预留有边槽(3),并且边槽(3)的内部转轴连接有侧板(4),所述侧板(4)的外壁上嵌入安装有第一电机(5)和定位筒(6),且定位筒(6)的内部转轴安装有导向齿轮(7),并且导向齿轮(7)的转轴之间通过第一链带(8)相互连接,而且中间位置处的导向齿轮(7)中心轴连接于第一电机(5)的输出轴端部,同时侧板(4)的外壁与边槽(3)的内部之间铰接安装有第一液压杆(9),所述外壳(1)的顶部固定有轴承支座(10),且轴承支座(10)的内部固定有安装管(11),并且安装管(11)的中部安装有支撑杆(12),而且安装管(11)的外壁上固定有从动齿轮轴(13),所述支撑杆(12)与外壳(1)贯穿设置,且外壳(1)的内部安装有第二电机(14),并且第二电机(14)的输出轴端部固定有主动齿轮轴(15),而且主动齿轮轴(15)和从动齿轮轴(13)之间固定有第二链带(16),所述外壳(1)的顶部固定安装有导向架(17)和固定杆(18),且固定杆(18)的端部外壁上预留有滑槽(19),并且滑槽(19)的外侧套设有套筒(20),而且滑槽(19)和套筒(20)的内壁均固定有光电传感器(21),所述套筒(20)的底部垂直固定有连接杆(22),且连接杆(22)的下端转轴连接有夹臂(23),并且夹臂(23)的内壁设置有锯齿夹持铁片(24),而且夹臂(23)设置于轨枕本体(26)的外侧,同时连接杆(22)和夹臂(23)之间铰接安装有第二液压杆(25),所述套筒(20)的顶部和固定杆(18)的顶部外壁上之间铰接安装有第三液压杆(27);

所述侧板(4)关于外壳(1)的竖向中心轴线对称设置,且侧板(4)与外壳(1)之间构成相对翻转结构,并且侧板(4)之间的最小间距大于轨枕本体(26)的宽度;

所述导向齿轮(7)的外壁尖齿结构与轨枕本体(26)的外壁相互连接,并且轨枕本体(26)两侧的导向齿轮(7)转动方向相反;

所述支撑杆(12)与外壳(1)之间构成贯穿的相对伸缩结构,且支撑杆(12)的外壁与安装管(11)的内壁螺纹连接,并且支撑杆(12)设置有4个,而且支撑杆(12)与轨枕本体(26)错位分布;

所述导向架(17)的长度大于外壳(1)的长度,且导向架(17)从外壳(1)边侧的延伸部分设置有滑槽(19),并且导向架(17)与固定杆(18)之间相互垂直设置;

所述连接杆(22)与导向架(17)为卡合的滑动连接,且连接杆(22)的内壁与滑槽(19)的内壁相互贴合,并且滑槽(19)内壁的首尾端均设置有光电传感器(21);

所述夹臂(23)设置为“L”字型结构,且夹臂(23)与连接杆(22)的端部之间转动连接,并且夹臂(23)位于轨枕本体(26)的外侧;

所述锯齿夹持铁片(24)与夹臂(23)的内壁之间构成螺栓连接的拆卸安装结构,且锯齿夹持铁片(24)的锯齿外壁与轨枕本体(26)的外壁之间相互卡合连接;

使用时,首先将所需替换的轨枕与轨道的连接松开,将轨枕中部的砂石移走,在进行轨枕的替换时,通过移动轮组件(2)的作用将设备移动到所需替换的轨枕本体(26)正上方,然后通过控制面板控制第一电机(5)的工作启动,第一电机(5)的工作通过主动齿轮轴(15)带着第二链带(16)转动,由于第二链带(16)和安装管(11)外壁上的从动齿轮轴(13)啮合,使得安装管(11)在轴承支座(10)的内部做相对旋转运动,由于安装管(11)和支撑杆(12)的外壁螺纹连接,且支撑杆(12)的底部外壁与外壳(1)的出口位置设置为矩形的卡合滑动连接,使得安装管(11)在旋转时,支撑杆(12)在其内部做旋转的升降运动,旋转升降的支撑杆(12)底部与地面接触,提高定位位置处的稳定性,同时将设备整体抬高,避免设备自身重量压迫轨道和轨枕,影响轨枕本体(26)的替换;

在设备定位完成后,通过第一液压杆(9)推动侧板(4)发生翻转运动,改变侧板(4)的位置,使得侧板(4)包裹在轨枕本体(26)的两侧,侧板(4)上安装有第一电机(5)和定位筒(6),第一电机(5)的工作带着定位筒(6)内部的导向齿轮(7)旋转,导向齿轮(7)的外壁与轨枕本体(26)的外壁接触作用下,给予轨枕本体(26)轴向的移动力;

于此同时在控制面板的作用下控制第三液压杆(27)的伸缩运动,在第三液压杆(27)伸缩时,带着套筒(20)在滑槽(19)上滑动,在套筒(20)内部的光电传感器(21)与滑槽(19)内部的光电传感器(21)相互接触时,光电传感器(21)通过单片机传输信号,在设备的内部电路板的数据反馈作用下使得第二液压杆(25)延伸,通过第二液压杆(25)的延伸改变夹臂(23)的位置,利用夹臂(23)和锯齿夹持铁片(24)夹紧轨枕本体(26),随着第三液压杆(27)的延伸,套筒(20)通过连接杆(22)和夹臂(23)给予轨枕本体(26)轴向移动力;

同时在套筒(20)内部的光电传感器(21)与滑槽(19)边端的光电传感器(21)相互接触时,使得光电传感器(21)通过单片机传输信号,在设备的内部电路板的数据反馈作用下使得第二液压杆(25)回收,夹臂(23)不再对轨枕本体(26)夹持,随着第三液压杆(27)的重复伸缩运动,在套筒(20)内部的光电传感器(21)与滑槽(19)内部的光电传感器(21)再次接触,同理完成夹臂(23)的左右移动和对轨枕本体(26)的夹持与松开,重复作用下,轨枕本体(26)从轨道上拆卸,通过设备左右两侧的第三液压杆(27),方便将轨枕本体(26)从左侧和右侧拆卸更换。