欢迎来到知嘟嘟! 联系电话:13336804447 卖家免费入驻,海量在线求购! 卖家免费入驻,海量在线求购!
知嘟嘟
我要发布
联系电话:13336804447
知嘟嘟经纪人
收藏
专利号: 2019100385647
申请人: 山东科技大学
专利类型:发明专利
专利状态:已下证
专利领域: 计算;推算;计数
更新日期:2024-11-08
缴费截止日期: 暂无
价格&联系人
年费信息
委托购买

摘要:

权利要求书:

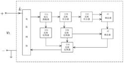
1.一种磁控平方关系忆感器仿真器,其特征在于,包括电阻网络、电压跟随器、反向积分器、反向比例器和乘法器;

所述电压跟随器被配置为用于实现输出电压与输入电压相等;

所述反相积分器包括第一反相积分器和第二反相积分器,被配置为用于实现对输入电压进行积分运算;

所述反相比例器包括第一反相比例器、第二反相比例器和第三反相比例器,被配置为用于实现输出电压与输入电压为成反相的比例运算关系;

所述乘法器包括第一乘法器和第二乘法器,被配置为用于实现两个输入信号的相乘。

2.如权利要求1所述的一种磁控平方关系忆感器仿真器,其特征在于,所述电压跟随器、第一反相积分器、第二反相积分器、第三反相比例器采用第一LF347N芯片的部分引脚构成,第一反相比例器和第二反相比例器采用第二LF347N芯片的部分引脚构成。

3.如权利要求2所述的一种磁控平方关系忆感器仿真器,其特征在于,所述电阻网络包括第一电阻,第一电阻的一端连接电源输入端,该端也与第一LF347N芯片的第三引脚相连,第一电阻的另一端连接至第二LF347N芯片的第十四引脚。

4.如权利要求2所述的一种磁控平方关系忆感器仿真器,其特征在于,所述电压跟随器由第一LF347N芯片的第一引脚、第二引脚和第三引脚组成,第一LF347N芯片的第一引脚与其第二引脚短接,第一LF347N芯片的第三引脚与第一电阻的一端连接。

5.如权利要求2所述的一种磁控平方关系忆感器仿真器,其特征在于,所述第一反相积分器由第一LF347N芯片的第五引脚、第六引脚和第七引脚组成,第二反相积分器由第一LF347N芯片的第八引脚、第九引脚和第十引脚组成;

第一LF347N芯片的第五引脚接地,其第六引脚通过第二电阻与其第一引脚相连,其第七引脚通过第四电阻和第一电容的并联电路与其第六引脚相连;

第一LF347N芯片的第八引脚通过第二电容与其第九引脚相连,其第九引脚通过第六电阻与其第七引脚相连,其第十引脚接地。

6.如权利要求2所述的一种磁控平方关系忆感器仿真器,其特征在于,所述第一反相比例器由第一LF347N芯片的第十二引脚、第十三引脚和第十四引脚组成,第二反相比例器由第二LF347N芯片的第一引脚、第二引脚和第三引脚组成,第三反相比例器由第二LF347N芯片的第五引脚、第六引脚和第七引脚组成;

第一LF347N芯片的第十二引脚接地,其第十三引脚通过第十电阻与其第七引脚相连,其第十四引脚通过第十二电阻与其第十三引脚相连;

第二LF347N芯片的第一引脚通过第十一电阻与第一LF347N芯片的第十三引脚相连,且第二LF347N芯片的第一引脚通过第五电阻与其第二引脚相连,其第二引脚通过第三电阻与第一LF347N芯片的第一引脚相连;

第二LF347N芯片的第五引脚接地,第六引脚通过第七电阻与第一LF347N芯片的第七引脚相连,其第七引脚通过第八电阻与其第六引脚相连。

7.如权利要求1所述的一种磁控平方关系忆感器仿真器,其特征在于,所述第一乘法器和第二乘法器均采用AD633JN芯片;

第一乘法器的X1引脚连接第一LF347N芯片的第八引脚,第一乘法器的Y1引脚与其X1引脚连接,其X2引脚和其Y2引脚接地,其VS+引脚接电源VCC,其VS-引脚接电源VEE,其Z引脚接地,其W引脚与第二乘法器的X1引脚相连;

第二乘法器的X1引脚连接第一乘法器的W引脚,其Y1引脚接第二LF347N芯片的第七引脚,其X2引脚和Y2引脚接地,其VS+引脚接电源VCC,其VS-引脚接电源VEE,其Z引脚接地,其W引脚通过第九电阻与第二LF347N芯片的第十三引脚相连。

8.如权利要求1-7任一所述的磁控平方关系忆感器仿真器,其特征在于,磁控平方关系忆感器仿真器输入端的变量为vL,电压跟随器的输出电压vU1A采用式(1)表示:vU1A=vL   (1);

第一反相积分器实现对输入电压vL的积分并定义∫vLdt=φL,其输出电压vU1B采用式(2)表示:第二反相积分器实现对第一反相积分器的输出电压vU1B的积分并定义∫φLdt=ρL,,其输出电压vU1C采用式(3)表示:第二反相比例器的输入电压为电压跟随器的输出电压vU1A,则其输出电压vU2A采用式(4)表示:第三反相比例器的输入电压为第一反相积分器U1B的输出电压vU1B,则其输出电压vU2B采用式(5)表示:第一乘法器输出端W引脚的电压vA1采用式(6)表示:

第二乘法器输出端W引脚的电压vA2采用式(7)表示:

第一反相比例器的输入电压分别为第二乘法器的输出电压vA2,第三反相比例器的输出电压vU2B和第二反相比例器的输出电压vU2A,则第一反相比例器的输出电压vU1D采用式(8)表示:设流经第一电阻的电流为iL(t),则第一电阻两端的伏安特性采用式(9)表示:其中,

得出磁控平方关系忆感器的表达式采用式(11)表达: