欢迎来到知嘟嘟! 联系电话:13336804447 卖家免费入驻,海量在线求购! 卖家免费入驻,海量在线求购!
知嘟嘟
我要发布
联系电话:13336804447
知嘟嘟经纪人
收藏
专利号: 2018113819866
申请人: 乐清市建设监理有限公司
专利类型:发明专利
专利状态:已下证
专利领域: 水利工程;基础;疏浚
更新日期:2025-04-15
缴费截止日期: 暂无
价格&联系人
年费信息
委托购买

摘要:

权利要求书:

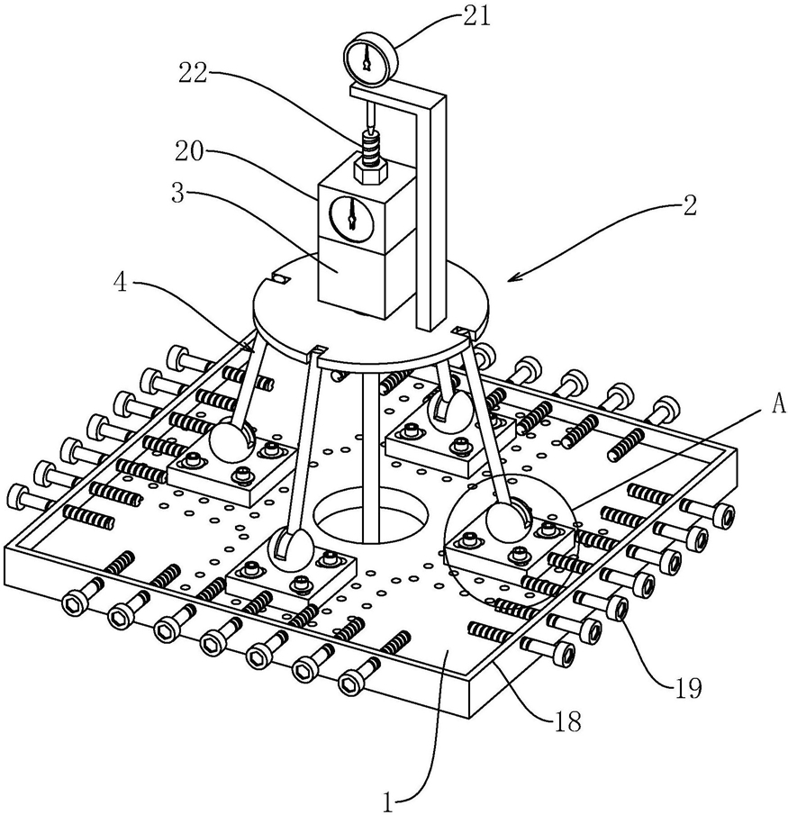
1.一种锚杆荷载检测装置,包括抵接坡面的基板(1)、连接在锚杆(22)上的支撑机构(2)、位于支撑机构(2)上施加负载的加载机构(3)以及连接基板(1)和支撑机构(2)的连接机构(4),其特征是:所述支撑机构(2)包括圆形的支撑板(5)以及转动连接在支撑板(5)周向上的多根连接杆(8),每根连接杆(8)的下端均转动连接有连接板(12),所述连接板(12)上均开有腰型的连接孔(13),所述基板(1)上开有多个螺纹孔(15),所述连接板(12)上设有穿过连接孔(13)与螺纹孔(15)相连的连接螺栓(17)。

2.根据权利要求1所述的锚杆荷载检测装置,其特征是:所述连接杆(8)的下端均一体成型有直径大于连接杆(8)的连接球(9),所述连接板(12)的中部固定有套在连接球(9)外侧的球壳(11),所述球壳(11)的侧面开孔。

3.根据权利要求2所述的锚杆荷载检测装置,其特征是:所述球壳(11)侧面的开孔为弧形孔(10),所述弧形孔(10)的宽度大于连接杆(8)的直径,弧形孔(10)的长度等于球壳(11)半圆的弧长。

4.根据权利要求3所述的锚杆荷载检测装置,其特征是:所述基板(1)的周围一圈向上成型有挡沿(18),所述挡沿(18)上螺纹连接有多枚穿过挡沿(18)与连接板(12)抵接的抵接螺栓(19)。

5.根据权利要求1所述的锚杆荷载检测装置,其特征是:所述支撑板(5)的下侧位于通孔周围的位置焊接有内径与通孔直径相等的钢管(6),钢管(6)的两个相对侧壁上各螺纹连接有一枚穿过钢管(6)与锚杆(22)抵接的顶丝(7)。

6.一种使用权利要求1-5任一项所述的锚杆荷载检测装置检测的方法,其特征是,包括:

步骤一、安装基板(1);

步骤二、安装支撑板(5);

步骤三、连接基板(1)和支撑板(5);

步骤四、安装加载机构(3)、测力计(20)和百分表(21);

步骤五、加载机构(3)施加作用力,读取测力计(20)和百分表(21)的数值变化。

7.根据权利要求6所述的使用装置检测的方法,其特征是:步骤二中,将锚杆(22)穿过支撑板(5)的通孔后,调节锚杆(22)到合适的高度位置,然后通过旋紧顶丝(7)使得顶丝(7)和锚杆(22)的侧面抵接以固定支撑板(5)。

8.根据权利要求7所述的使用装置检测的方法,其特征是:步骤三中,将连接杆(8)向下摆动,通过调节球壳(11)和连接球(9)的配合角度使得连接板(12)贴合在基板(1)上,连接螺栓(17)穿过垫片(16)和连接板(12)上的连接孔(13)之后与螺纹孔(15)配合螺纹连接;然后通过转动抵接螺栓(19)使得多枚抵接螺栓(19)分别抵住连接板(12)的四周,使得连接板(12)的水平位置被定位,不会在水平方向上发生偏移。

9.根据权利要求8所述的使用装置检测的方法,其特征是:步骤四中,在支撑板(5)上对应锚杆(22)的位置依次安装加载机构(3)、测力计(20)和百分表(21),锚杆(22)的轴线与加载机构(3)、测力计(20)的受压面相垂直。

10.根据权利要求9所述的使用装置检测的方法,其特征是:步骤五中,通过加载机构(3)施加作用力,测力计(20)读取力的大小值,用百分表(21)读取锚杆(22)的形变位移量,根据施加的压力大小和产生的形变位移量计算锚杆(22)的荷载。