欢迎来到知嘟嘟! 联系电话:13336804447 卖家免费入驻,海量在线求购! 卖家免费入驻,海量在线求购!
知嘟嘟
我要发布
联系电话:13336804447
知嘟嘟经纪人
收藏
专利号: 2017104458351
申请人: 西安工业大学
专利类型:发明专利
专利状态:已下证
专利领域: 测量;测试
更新日期:2024-01-05
缴费截止日期: 暂无
价格&联系人
年费信息
委托购买

摘要:

权利要求书:

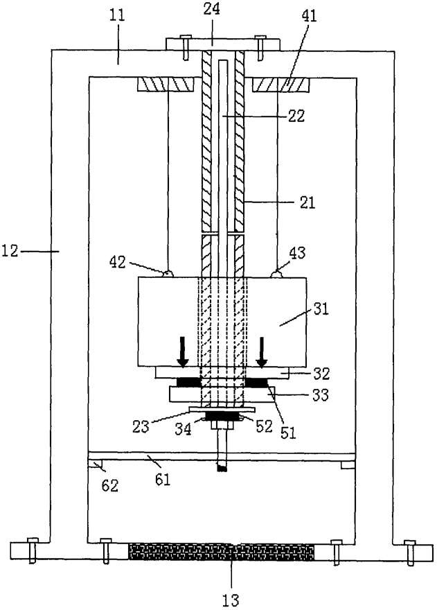
1.一种节理岩体锚杆动载荷试验装置,包括动力试验台、节理锚杆模拟装置、动力加载装置、重物提升装置、荷载采集装置、位移监测装置,其特征在于,所述动力试验台包括工字型钢及两个钢柱,工字型钢的两端分别连接两个钢柱的顶部,工字型钢中间位置设有开孔,所述节理锚杆模拟装置包括钢管及锚杆,钢管包括相互接触但不连接的上部钢管及下部钢管,下部钢管底部连接垫板,上部钢管顶部连接钢板,上部钢管穿过开孔,钢板与工字型钢固定连接,锚杆通过灌浆方式固定在钢管内部且锚杆从钢管底部穿出,所述动力加载装置包括空心落锤、垫块、冲击板,所述冲击板固定在钢管上位于垫板上方的位置,所述垫块设置在钢管外侧且位于冲击板上方,所述空心落锤套装在钢管上且位于垫块上方,所述重物提升装置用于提升和释放空心落锤,所述荷载采集装置用于采集空心落锤产生的荷载,所述位移监测装置用于监测锚杆的位移;

所述重物提升装置包括两个联动的卷扬机,空心落锤上设有两个挂环,卷扬机通过电动抓钩连接挂环,卷扬机固定在工字型钢上;

所述荷载采集装置包括第一压力传感器及第二压力传感器,所述第一压力传感器设置在冲击板与垫板之间,垫板下方设有固定安装的托盘,第二压力传感器设置在托盘与垫板之间;

所述位移监测装置包括钢条及支座,支座固定在钢柱上,钢条放置在支座上且锚杆从钢条中间穿出。

2.如权利要求1所述的节理岩体锚杆动载荷试验装置,其特征在于,所述钢柱高度为2米,所述开孔的孔径为60毫米,钢板通过螺栓固定在工字型钢上。

3.如权利要求1所述的节理岩体锚杆动载荷试验装置,其特征在于,所述钢管总长度为

1.5米,其中下部钢管长度为0.3米、0.5米或0.8米,钢管内部设有螺纹,钢管内径28毫米,钢管外径38毫米,锚杆材料为HRB335钢筋,锚杆长度为1.3米,直径为18毫米,锚杆露出长度为

0.3米。

4.如权利要求1所述的节理岩体锚杆动载荷试验装置,其特征在于,所述空心落锤为钢质空心圆柱形,高径比为1:2,重量为400kg,空心落锤中心圆孔直径比钢管直径大4毫米,所述垫块为木垫块。

5.如权利要求1所述的节理岩体锚杆动载荷试验装置,其特征在于,所述钢板为边长30厘米的矩形钢板,厚度为10毫米,所述垫板厚度为边长10厘米的矩形钢板,厚度为6毫米。

6.如权利要求1所述的节理岩体锚杆动载荷试验装置,其特征在于,所述两个钢柱的底部之间设有橡胶垫,所述冲击板焊接在钢管上,冲击板厚度为5厘米。