欢迎来到知嘟嘟! 联系电话:13336804447 卖家免费入驻,海量在线求购! 卖家免费入驻,海量在线求购!
知嘟嘟
我要发布
联系电话:13336804447
知嘟嘟经纪人
收藏
专利号: 2018109136876
申请人: 南昌工程学院
专利类型:发明专利
专利状态:已下证
专利领域: 发电、变电或配电
更新日期:2023-12-11
缴费截止日期: 暂无
价格&联系人
年费信息
委托购买

摘要:

权利要求书:

1.一种用于MMC的子模块电容电压均衡控制系统,其特征在于,包括MCU与采样模块;

MCU包括模型解析单元、基本矢量作用时间计算单元、移相及循环控制单元、脉冲生成单元;采样模块采集的数据进入MCU中的模型解析单元;

模型解析单元、基本矢量作用时间计算单元、移相及循环控制单元、脉冲生成单元依次连接;

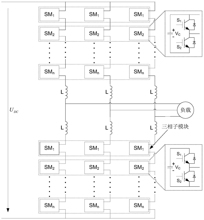
所述的MMC为三相模块化多电平变换器,三相模块化多电平变换器具有三相6个桥臂,每一个桥臂由n个子模块级联构成;每一个桥臂连接有一个电感L;6个桥臂中,3个上桥臂分别通过3个电感L与带有3个电感L的三个下桥臂对接,6个电感两两一组串接,3个串接点作为三相模块化多电平变换器的3个输出端;

移相及循环控制单元、脉冲生成单元产生2组脉冲分别控制MMC中的上桥臂和下桥臂。

2.根据权利要求1所述的用于MMC的子模块电容电压均衡控制系统,其特征在于,所述的子模块包括电容C和带续流二极管的2个IGBT S1和S2;

IGBT S1的e极与IGBT S2的c极连接;电容C跨接在IGBT S1的c极与IGBT S2的e极之间;

IGBT S1和S2的G极用于接收驱动脉冲;

上桥臂半桥子模块中IGBT S1的c极和e极作为输出连接线与相邻半桥子模块相连,下桥臂半桥子模块中IGBT S2的c极和e极作为输出连接线与相邻半桥子模块相连,电感L串联在上下桥臂之间用于均衡电流。

3.根据权利要求1所述的用于MMC的子模块电容电压均衡控制系统,其特征在于,采样模块用于获得参考电压矢量Vr(αr',βr'),Vr表示参考矢量,(αr',βr')表示矢量坐标;

所述的模型解析单元用于对参考电压矢量Vr进行处理;

参考电压矢量轨迹模型采用下式表征;

式中,αr'和βr'分别表示α'-β'坐标系中子模块参考电压矢量的坐标值,m表示调制系数;

α'-β'坐标系中,基本矢量的表达式为:

上式中,α'和β'分别表示α'-β'坐标系中基本矢量对应的坐标值,a,b,c分别表示子模块输出电平,其取值为0或者1;

所述的处理包括判断当前采样信号对应的参考电压矢量Vr位于哪个扇区,以及Vr对应哪些等效基本矢量。

4.根据权利要求3所述的用于MMC的子模块电容电压均衡控制系统,其特征在于,基本矢量作用时间计算单元用于计算单个基本矢量的作用时间。

5.根据权利要求1所述的用于MMC的子模块电容电压均衡控制系统,其特征在于,移相及循环控制单元产生n组移相空间矢量用于控制n个三相子模块(相邻三相子模块采样参考电压矢量的相位差△θ, f为正弦参考电压频率,fS为采样频率;同时检测是否已经完成一个正弦参考电压周期的采样,确定是否需要进行空间矢量信号循环分配操作,并实现相应的空间矢量信号循环分配操作。

6.根据权利要求1所述的用于MMC的子模块电容电压均衡控制系统,其特征在于,脉冲生成单元用于根据所述的控制脉冲信号形成驱动脉冲以控制每一个子模块。

7.根据权利要求1-5任一项所述的用于MMC的子模块电容电压均衡控制系统,其特征在于,采用以下步骤实现电容电压均衡控制:步骤一:对参考电压矢量轨迹模型进行采样得参考电压矢量Vr(αr',βr'),Vr表示参考矢量,(αr',βr')表示矢量坐标;

步骤二:根据参考电压矢量Vr所在扇区三角形的位置确定合成参考矢量的等效基本矢量:(1)若αr'≥0,βr'≥0,参考电压矢量Vr位于第I扇区,该扇区内合成参考电压矢量Vr的等效基本矢量为V0、V1和V2;

(2)若αr'<0,βr'>0,αr'+βr'≥0,参考电压矢量Vr位于第II扇区,该扇区内合成参考电压矢量Vr的等效基本矢量为V0、V2和V3;

(3)若αr'≤0,βr'≥0,αr'+βr'<0,参考电压矢量Vr位于第III扇区,该扇区内合成参考电压矢量Vr的等效基本矢量为V0、V3和V4;

(4)若αr'<0,βr'≤0,参考电压矢量Vr位于第IV扇区,该扇区内合成参考电压矢量Vr的等效基本矢量为V0、V4和V5;

(5)若αr'≥0,βr'<0,αr'+βr'<0,参考电压矢量Vr位于第V扇区,该扇区内合成参考电压矢量Vr的等效基本矢量为V0、V5和V6;

(6)若αr'>0,βr'≤0,αr'+βr'≥0,参考电压矢量Vr位于第VI扇区,该扇区内合成参考电压矢量Vr的等效基本矢量为V0、V6和V1。

步骤三:依据伏秒平衡原理,计算参考矢量对应扇区三角形三个顶点矢量的作用时间:

(1)第I扇区内,根据V0t0+V1t1+V2t2=VrTS计算合成参考矢量Vr的基本矢量V0、V1和V2的作用时间分别为t0=(1-αr'-βr')TS,t1=αr'TS,t2=βr'TS;TS表示采样周期。

(2)第II扇区内,根据V0t0+V2t2+V3t3=VrTS计算合成参考矢量Vr的基本矢量V0、V2和V3的作用时间分别为t0=(1-βr')TS,t2=(αr'+βr')TS,t3=-αr'TS;

(3)第III扇区内,根据V0t0+V3t3+V4t4=VrTS计算合成参考矢量Vr的基本矢量V0、V3和V4的作用时间分别为:t0=(1+αr')TS,t3=βr'TS,t4=-(αr'+βr')TS;

(4)第IV扇区内,根据V0t0+V4t4+V5t5=VrTS计算合成参考矢量Vr的基本矢量V0、V4和V5的作用时间分别为:t0=(1+αr'+βr')TS,t4=-αr'TS,t5=-βr'TS;

(5)第V扇区内,根据V0t0+V5t5+V6t6=VrTS计算合成参考矢量Vr的基本矢量V0、V5和V6的时间分别为:t0=(1+βr')TS,t5=-(αr'+βr')TS,t6=αr'TS;

(6)第VI扇区内,根据V0t0+V1t1+V6t6=VrTS计算合成参考矢量Vr的基本矢量V0、V1和V6的作用时间分别为:t0=(1-αr')TS,t1=(αr'+βr')TS,t6=-βr'TS。

步骤四:采用七段切换实现对三相子模块的空间矢量调制:

(1)第I扇区内,依据K0→K2→K1→K7→K1→K2→K0的切换规律完成对一个采样周期的等效;每个开关状态作用时间分别为t0/4、t2/2、t1/2、t0/2、t1/2、t2/2、t0/4;

(2)第II扇区内,根据K0→K2→K3→K7→K3→K2→K0的切换规律完成对一个采样周期的等效;每个开关状态作用时间分别为t0/4、t2/2、t3/2、t0/2、t3/2、t2/2、t0/4;

(3)第III扇区内,根据K0→K4→K3→K7→K3→K4→K0的切换规律完成对一个采样周期的等效;每个开关状态作用时间分别为t0/4、t4/2、t3/2、t0/2、t3/2、t4/2、t0/4;

(4)第IV扇区内,根据K0→K4→K5→K7→K5→K4→K0的切换规律完成对一个采样周期的等效;每个开关状态作用时间分别为t0/4、t4/2、t5/2、t0/2、t5/2、t4/2、t0/4;

(5)第V扇区内,根据K0→K6→K5→K7→K5→K6→K0的切换规律完成对一个采样周期的等效;每个开关状态作用时间分别为t0/4、t6/2、t5/2、t0/2、t5/2、t6/2、t0/4;

(6)第VI扇区内,根据K0→K6→K1→K7→K1→K6→K0的切换规律完成对一个采样周期的等效;每个开关状态作用时间分别为t0/4、t6/2、t1/2、t0/2、t1/2、t6/2、t0/4;

6个非零基本矢量V1、V2、V3、V4、V5、V6对应的开关状态矢量分别为K1(1,1,0)、K2(0,1,0)、K3(0,1,1)、K4(0,0,1)、K5(1,0,1)、K6(1,0,0),V0对应的开关状态矢量为K0(0,0,0)和K7(1,

1,1);Kj(a,b,c)(j=0,1,...,7)中Kj表示开关状态名称,(a,b,c)表示开关状态对应的三相输出电平;

步骤五:基于移相获取各桥臂上其余子模块的开关驱动信号;

假设第一次采样的参考电压矢量是Vr1,根据前述步骤计算得到的开关状态信号用于驱动上、下桥臂中的SM1;将参考电压矢量Vr1移相△θ得参考电压矢量Vr2,根据前述步骤计算得到的开关状态信号用于驱动上、下桥臂中的SM2;将参考电压矢量Vr1移相2*△θ得参考电压矢量Vr3,根据前述步骤计算得到的开关状态信号用于驱动上、下桥臂中的SM3;……;将参考电压矢量Vr1移相(n-1)*△θ得参考电压矢量Vrn,根据前述步骤计算得到的开关状态信号用于驱动上、下桥臂中的SMn;

步骤六:在一个正弦参考电压周期,对参考电压矢量轨迹跟踪采样,重复步骤一、二、三、四、五实现空间矢量调制。

步骤七:基于正弦参考电压周期变换信号分配:

当完成采样参考电压矢量轨迹一周,下一个参考电压周期重新循环步骤六,但改变信号分配,将参考电压矢量Vr1对应所得开关状态信号用于驱动上、下桥臂中的SM2,将参考电压矢量Vr2对应所得开关状态信号用于驱动上、下桥臂中的SM3,将参考电压矢量Vr3对应所得开关状态信号用于驱动上、下桥臂中的SM4,……,将参考电压矢量Vr(n-1)对应所得开关状态信号用于驱动上、下桥臂中的SMn,将参考电压矢量Vrn对应所得开关状态信号用于驱动上、下桥臂中的SM1;

步骤八:下一个正弦参考电压周期,重复步骤七,将参考电压矢量Vr1对应所得开关状态信号用于驱动上、下桥臂中的SM3,将参考电压矢量Vr2对应所得开关状态信号用于驱动上、下桥臂中的SM4,将参考电压矢量Vr3对应所得开关状态信号用于驱动上、下桥臂中的SM5,……,将参考电压矢量Vr(n-2)对应所得开关状态信号用于驱动上、下桥臂中的SMn,将参考电压矢量Vr(n-1)对应所得开关状态信号用于驱动上、下桥臂中的SM1;将参考电压矢量Vrn对应所得开关状态信号用于驱动上、下桥臂中的SM2;

步骤九:按照步骤七和步骤八递推,将参考电压矢量相应的开关状态信号循环用于驱动下一个子模块;如此循环n个参考电压周期即完成一次总的循环。