欢迎来到知嘟嘟! 联系电话:13336804447 卖家免费入驻,海量在线求购! 卖家免费入驻,海量在线求购!
知嘟嘟
我要发布
联系电话:13336804447
知嘟嘟经纪人
收藏
专利号: 2018105884562
申请人: 河北工程大学
专利类型:发明专利
专利状态:已下证
专利领域: 测量;测试
更新日期:2024-01-05
缴费截止日期: 暂无
价格&联系人
年费信息
委托购买

摘要:

权利要求书:

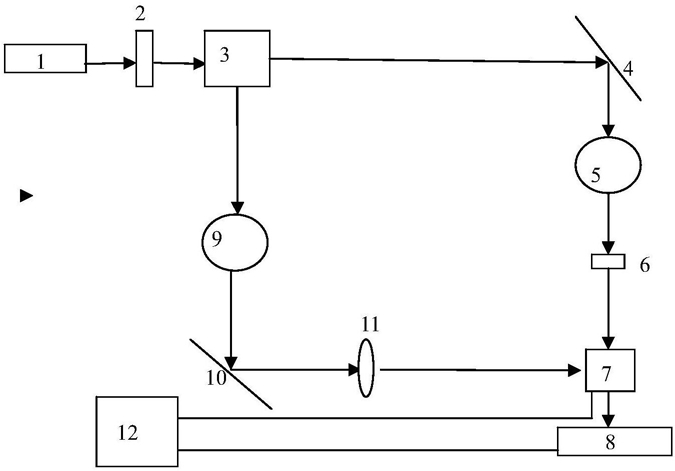
1.一种数字图像记录实验系统,包括激光器、第一半波片、偏振分束镜、第一反射镜、第一扩束准直镜、透明物体、合束镜(半透射半反射)、CCD、第二扩束准直镜、第二反射镜、电致变焦透镜以及计算机;激光器发出的光束经偏振分束镜后分为第一光束和第二光束,第一光束经第一反射镜和第一扩束准直镜后形成平行光波,照射透明物体形成物光波,该物光波透过合束镜后达到CCD靶面;经偏振分束镜后的第二光束经过第二扩束准直镜形成平面光波,所述平面光波经过第二反射镜透过电致变焦透镜后形成参考光波、并经合束镜后到达CCD靶面与物光波形成干涉图样;所述CCD记录的干涉图样传送到计算机并保存,其特征在于:所述电致变焦透镜包括透明上基板,透明下基板,在上基板的内表面设置有透明的第一电极,在下基板的内表面设置有透明的第二电极,以及位于第一电极和第二电极之间的液态材料,在第一电极和第二电极上施加电压,从而使得平面光波通过电致变焦透镜后形成所需形状的参考光波;且所述计算机可以自动控制合束镜的转动,从而控制物光波和参考光波的夹角,以获得最佳干涉图样,所述干涉图样经重建后能够获得的再现像中原始像、共轭像以及零级衍射项刚好分离。

2.如权利要求1所述的数字图像记录实验系统,其特征在于:所述形成所需形状的参考光波是指形成平面光波或者球面光波。

3.如权利要求1-2任一项所述的数字图像记录实验系统,其特征在于:第一电极为透明圆形面状电极,第二电极为透明的多个环状电极,所述多个环状电极围绕一个中心由内向外等间距设置。

4.如权利要求1-3任一项所述的数字图像记录实验系统,其特征在于:对第一电极施加基准电压,对所述多个环状电极上施加相同的电压时,透过所述电致变焦透镜后形成平面光波;当对所述多个环状电极上施加不同的电压时,透过所述电致变焦透镜后形成球面光波。

5.一种数字图像记录方法,使用权利要求1-4任一项所述的数字图像记录实验系统进行干涉图样记录,记录物光波和参考光波形成的最佳干涉图样,所述最佳干涉图样经重建后能够获得的再现像中原始像、共轭像以及零级衍射项刚好分离。