欢迎来到知嘟嘟! 联系电话:13336804447 卖家免费入驻,海量在线求购! 卖家免费入驻,海量在线求购!
知嘟嘟
我要发布
联系电话:13336804447
知嘟嘟经纪人
收藏
专利号: 2017109378601
申请人: 侯翠侠
专利类型:发明专利
专利状态:已下证
专利领域: 电通信技术
更新日期:2023-12-21
缴费截止日期: 暂无
价格&联系人
年费信息
委托购买

摘要:

权利要求书:

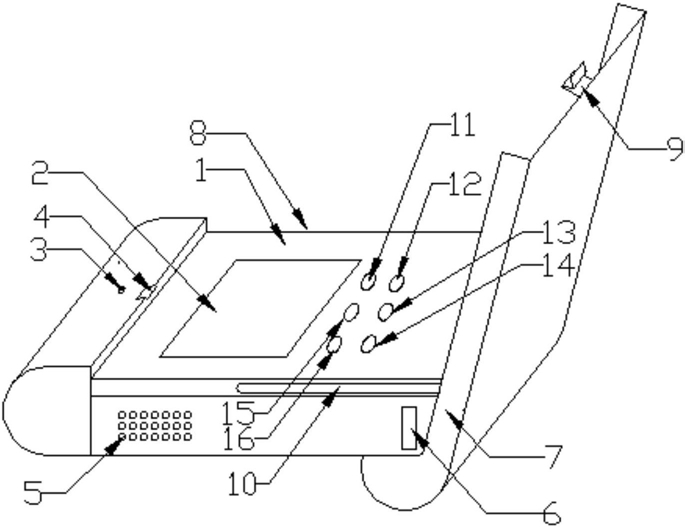
1.一种数字录像机,包括装置本体(1),其特征在于:所述装置本体(1)的顶部设有外壳(8),所述外壳(8)与所述装置本体(1)紧密连接,所述外壳(8)的一侧设有前置摄像头(3),所述前置摄像头(3)与所述外壳(8)紧密连接,所述前置摄像头(3)的底部设有后置摄像头(17),所述后置摄像头(17)与所述外壳(8)紧密连接,所述后置摄像头(17)的一侧设有锁孔(4),所述锁孔(4)与所述外壳(8)紧密连接,所述锁孔(4)的一侧设有主屏幕(2),所述主屏幕(2)与所述外壳(8)紧密连接,所述主屏幕(2)的一侧设有凹槽(10),所述凹槽(10)的一侧设有屏幕保护盖(7),所述屏幕保护盖(7)的顶部设有锁扣(9),所述锁扣(9)与所述屏幕保护盖(7)紧密连接,所述主屏幕(2)的一侧设有主屏幕开关(15),所述主屏幕开关(15)的一侧设有后置摄像头开关(16),所述后置摄像头开关(16)的一侧设有前置摄像头开关(14),所述前置摄像头开关(14)的一侧设有WIFI接收器开关(13),WIFI收发器开关(13)的一侧设有蓝牙设备开关(12),所述蓝牙设备开关(12)的一侧设有红外收发器开关(11),所述主屏幕开关(15)、所述WIFI接收器开关(13)、所述蓝牙设备开关(12)和所述红外收发器开关(11)均与控制板(20)电性连接,所述后置摄像头(17)的一侧设有激光光源(18),所述激光光源(18)与所述外壳(8)紧密连接,且所述激光光源(18)与所述控制板(20)电性连接,所述激光光源(18)的底部设有电池板(19),所述电池板(19)与所述控制板(20)电性连接。

2.根据权利要求1所述的一种数字录像机,其特征在于:所述屏幕保护盖(7),所述屏幕保护盖(7)通过所述支点(26)与所述凹槽(10)紧密连接。

3.根据权利要求1所述的一种数字录像机,其特征在于:所述装置本体(1)的一侧设有WIFI收发器(21),所述WIFI收发器(21)通过所述控制板(20)与所述智能手机(22)无线连接。

4.根据权利要求1所述的一种数字录像机,其特征在于:所述装置本体(1)的一侧设有红外收发器(25),所述红外收发器(25)通过所述控制板(20)与所述智能手机(22)红外信号连接。

5.根据权利要求1所述的一种数字录像机,其特征在于:所述装置本体(1)的一侧设有GPS定位器(23),所述GPS定位器(23)通过所述控制板(20)与所述智能手机(22)信号连接。

6.根据权利要求1所述的一种数字录像机,其特征在于:所述装置本体(1)的一侧设有蓝牙设备(24),所述蓝牙设备(24)通过所述控制板(20)与所述智能手机(22)信号连接。

7.根据权利要求1所述的一种数字录像机,其特征在于:所述装置本体(1)的一侧设有USB连接口(6),所述USB连接口(6)通过所述控制板(20)与所述智能手机(22)电性连接。

8.根据权利要求1所述的一种数字录像机,其特征在于:所述装置本体(1)的一侧设有散热孔(5),所述散热孔(5)与所述外壳(8)紧密连接。

9.根据权利要求1所述的一种数字录像机,其特征在于:所述前置摄像头(3)和所述后置摄像头(17)均与所述主屏幕(2)电性连接。