欢迎来到知嘟嘟! 联系电话:13336804447 卖家免费入驻,海量在线求购! 卖家免费入驻,海量在线求购!
知嘟嘟
我要发布
联系电话:13336804447
知嘟嘟经纪人
收藏
专利号: 2023200060825
申请人: 陈洁婷
专利类型:实用新型
专利状态:已下证
专利领域: 教育;密码术;显示;广告;印鉴
更新日期:2024-02-23
缴费截止日期: 暂无
价格&联系人
年费信息
委托购买

摘要:

权利要求书:

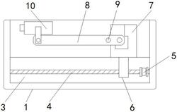
1.一种教学用实验记录装置,包括右箱体(1),其特征在于:所述右箱体(1)的内腔固定安装有电机(2),所述右箱体(1)的内腔开设有位于电机(2)一侧的滑槽(3),所述右箱体(1)的内腔活动安装有位于滑槽(3)内的螺纹杆(4),所述电机(2)的输出轴处活动安装有与螺纹杆(4)活动连接的皮带(5),所述螺纹杆(4)的外表面螺纹连接有于滑槽(3)内滑动的滑块(6),所述滑块(6)的顶部固定安装有与右箱体(1)活动连接的滑动块(7),所述滑动块(7)的内腔活动安装有横杆(8),所述横杆(8)上开设有通孔(9),所述横杆(8)的左侧顶部活动安装有摄像装置(10),所述滑动块(7)的前表面活动安装有贯穿并延伸至滑动块(7)内腔的插销(11),所述右箱体(1)的内腔开设有位于电机(2)上方的置物槽(12),所述右箱体(1)的前表面顶部固定安装有锁扣(13),所述右箱体(1)的后表面活动安装有左箱体(14),所述左箱体(14)的内腔固定安装有微型电脑(15),所述左箱体(14)的顶部固定安装有位于微型电脑(15)一侧的操作面板(16)。

2.根据权利要求1所述的一种教学用实验记录装置,其特征在于:所述滑动块(7)的一侧开设有固定孔,所述插销(11)贯穿固定孔延伸至滑动块(7)的内腔。

3.根据权利要求1所述的一种教学用实验记录装置,其特征在于:所述滑动块(7)与横杆(8)的连接关系为转动连接,且滑动块(7)与横杆(8)之间的转动角度为九十度。

4.根据权利要求1所述的一种教学用实验记录装置,其特征在于:所述摄像装置(10)与横杆(8)的连接关系为转动连接,所述滑块(6)的顶部与右箱体(1)的内腔底部平齐。

5.根据权利要求1所述的一种教学用实验记录装置,其特征在于:所述通孔(9)与插销(11)对应,所述螺纹杆(4)与电机(2)的输出轴处均固定安装有限位块。

6.根据权利要求1所述的一种教学用实验记录装置,其特征在于:所述横杆(8)水平放置时,摄像装置(10)的顶部高度小于右箱体(1)的顶部高度。