欢迎来到知嘟嘟! 联系电话:13336804447 卖家免费入驻,海量在线求购! 卖家免费入驻,海量在线求购!
知嘟嘟
我要发布
联系电话:13336804447
知嘟嘟经纪人
收藏
专利号: 2018102822719
申请人: 江苏理工学院
专利类型:发明专利
专利状态:已下证
专利领域: 工程元件或部件;为产生和保持机器或设备的有效运行的一般措施;一般绝热
更新日期:2024-01-05
缴费截止日期: 暂无
价格&联系人
年费信息
委托购买

摘要:

权利要求书:

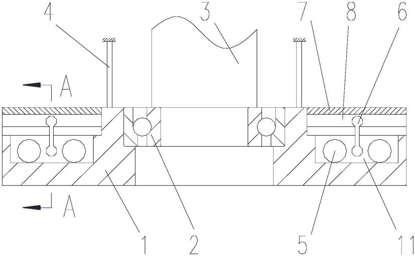
1.一种用于高速旋转机械的碰撞阻尼器,其特征在于:包括轴承座(1)、支承轴(4)、若干大碰撞球(5)和若干小碰撞体组合(6),所述轴承座(1)上的轴承(2)内圈与转轴(3)固定连接,所述支承轴(4)的一端与轴承座(1)固定连接,其另一端固定于壳体上,所述轴承座(1)上开设有长槽(11),所述长槽(11)沿转轴(3)的径向分布,所述大碰撞球(5)依次活动设置在长槽(11)内,所述长槽(11)的顶端滑动设置有滑轨盖板(7),所述小碰撞体组合(6)包括连接段和固定设置在连接段底端的第一小碰撞球(61),所述连接段与滑轨盖板(7)滑动连接,所述第一小碰撞球(61)位于长槽(11)内,若干所述的大碰撞球(5)和第一小碰撞球(61)间隔排列,且球心位于同一水平面。

2.根据权利要求1所述的用于高速旋转机械的碰撞阻尼器,其特征在于:所述连接段包括第二小碰撞球(62)和小轴(63),所述第一小碰撞球(61)和第二小碰撞球(62)分别固定设置在小轴(63)的两端,所述滑轨盖板(7)上开设有异形槽(8),所述异形槽(8)的方向与长槽(11)的方向相同,所述异形槽(8)的截面包括与第二小碰撞球(62)配合的圆形(81)和与小轴(63)配合的矩形(82)。

3.根据权利要求2所述的用于高速旋转机械的碰撞阻尼器,其特征在于:所述大碰撞球(5)与长槽(11)之间、所述第二小碰撞球(62)与圆形(81)之间以及所述小轴(63)与矩形(82)之间均为间隙配合。

4.根据权利要求1所述的用于高速旋转机械的碰撞阻尼器,其特征在于:一个所述长槽(11)内的大碰撞球(5)的数量为两个,第一小碰撞球(61)的数量为一个。

5.根据权利要求1或4所述的用于高速旋转机械的碰撞阻尼器,其特征在于:所述轴承座(1)上开设有八个所述的长槽(11),八个所述长槽(11)沿转轴(3)的圆周方向均匀分布。

6.根据权利要求1所述的用于高速旋转机械的碰撞阻尼器,其特征在于:所述支承轴(4)的数量为四根,四根所述支承轴(4)沿转轴(3)的圆周方向均匀分布。

7.根据权利要求1所述的用于高速旋转机械的碰撞阻尼器,其特征在于:所述轴承座(1)和滑轨盖板(7)均采用45号钢淬火后加工而成。