欢迎来到知嘟嘟! 联系电话:13095918853 卖家免费入驻,海量在线求购! 卖家免费入驻,海量在线求购!
知嘟嘟
我要发布
联系电话:13095918853
知嘟嘟经纪人
收藏
专利号: 2017114231024
申请人: 西南交通大学
专利类型:发明专利
专利状态:已下证
专利领域: 建筑物
更新日期:2024-01-05
缴费截止日期: 暂无
价格&联系人
年费信息
委托购买

摘要:

权利要求书:

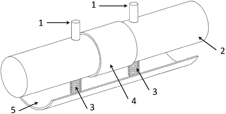
1.一种竖向碰撞型的调谐质量阻尼器,其特征是,用于固定在主结构内壁的固定底片(5)上垂直地固连有两根刚性限位杆(1),每杆刚性限位杆(1)上套装有一个压簧(3);质量块(2)上有两个贯通孔,每个贯通孔由一个小圆孔和一个大圆孔组成;上述两根刚性限位杆(1)分别从下向上活动地穿过质量块(2)上的两个贯通孔,每根刚性限位杆(1)上套装的压簧(3)活动地置于质量块(2)上的贯通孔的大圆孔内,质量块(2)上两根刚性限位杆(1)之间还包覆有粘弹性材料(4);当质量块(2)在主结构内的初始平衡位置时,质量块上的粘弹性材料(4)刚好接触固定底片(5),当质量块(2)离开固定底片(5)向上运动至与主结构内壁上边界碰撞时,压簧(3)仍保有一定的压缩量。

2.根据权利要求1所述的一种竖向碰撞型的调谐质量阻尼器,其特征在于,所述质量块(2)可以为圆柱体、椭圆柱体、方柱体或多棱柱体。质量块和固定底片的外形都应适应于主结构内壁的形状。

3.根据权利要求2所述的一种竖向碰撞型的调谐质量阻尼器,其特征在于,所述主结构为圆管(6)时,质量块(2)为圆柱体,固定底片(5)为一与圆管(6)内壁相吻合的弧形板;所述两根刚性限位杆(1)从质量块(2)上的两个贯通孔伸出后与主结构的圆管(6)内壁接触或相固定;所述质量块(2)上的两个贯通孔对称地设置在质量块圆柱体中截面的两边。

4.根据权利要求1或2或3所述的一种竖向碰撞型的调谐质量阻尼器,其特征在于,所述质量块按以下两种工作模式运动:

(1)当激励水平不高,质量块与主结构的相对位移小于质量块在主结构内的活动区间时,质量块仅仅与下边界发生碰撞,此时表现为单面碰撞耗能;

(2)当激励水平较高,质量块与主结构的相对位移超过质量块在主结构内的活动区间时,质量块交替地与上下边界发生碰撞,此时表现为双面碰撞耗能;

(3)以上两种工作模式随着激励水平的不同自动切换,从而保证主结构在任意激励水平下都能得到较好的控制。