欢迎来到知嘟嘟! 联系电话:13336804447 卖家免费入驻,海量在线求购! 卖家免费入驻,海量在线求购!
知嘟嘟
我要发布
联系电话:13336804447
知嘟嘟经纪人
收藏
专利号: 2018101452818
申请人: 宁波大学
专利类型:发明专利
专利状态:已下证
专利领域: 一般的物理或化学的方法或装置
更新日期:2023-08-24
缴费截止日期: 暂无
价格&联系人
年费信息
委托购买

摘要:

权利要求书:

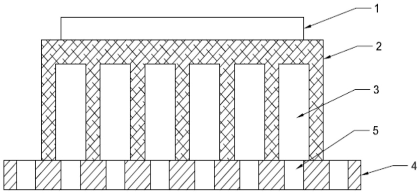
1.一种惯性碰撞过滤器,其特征在于,包括由上而下设置的基板、中间板及粘附层,中间板开设有入气孔,中间板与基板之间形成有纵向贯通的流出通道,在基板上开设有与流出通道相通的通孔,通孔的尺寸为PM2.5悬浮颗粒污染物平均尺寸的几十倍,粘附层粘附于中间板上并封闭入气孔,其中流出通道和粘附层由聚二甲基硅氧烷基板软光刻工艺制成;

所述惯性碰撞过滤器的制备方法,包括如下步骤:

硅片衬底清洗:采用标准的RCA流程对硅片进行清洗;

生长氮化硅层:采用低压化学气相沉积法在清洗后的硅片两面淀积氮化硅薄膜层;

光刻:先旋涂光刻胶至样品表面,前烘烤工艺后进行紫外曝光,再经过后烘烤及显影工艺后得到;

等离子体刻蚀:用混合气体将未被光刻胶保护的氮化硅薄膜等离子体刻蚀,刻蚀功率为110-130W,时间为4-6min;湿法刻蚀通孔:用标准刻蚀液对未被氮化硅覆盖的硅片进行选择性刻蚀;杂质金属离子的去除:将刻蚀后的硅片浸入混合溶液中1-2h后,清洗后用N2枪吹干;

残留氮化硅掩膜的去除:用CF4 / O2混合气体等离子体刻蚀,除去保护层氮化硅薄膜得通孔;

流出通道和粘附层的制备:利用软光刻技术制备流出通道和粘附层;

装配:将通孔、流出通道和粘附层对准,封装在一起即得惯性碰撞过滤器。

2.根据权利要求1所述的一种惯性碰撞过滤器,其特征在于,所述通孔的口径由上而下逐渐缩小。

3.根据权利要求1所述的一种惯性碰撞过滤器的制备方法,其特征在于,所述硅片需要进行预处理,所述预处理包括如下步骤:将单晶硅片进行双面抛光,用食人鱼刻蚀液清洗并风干。

4.根据权利要求1所述的一种惯性碰撞过滤器的制备方法,其特征在于,所述生长氮化硅层过程中,腔体温度控制在815-850℃,气压控制在15-20Pa,采用的气源为二氯甲硅烷和氨气,其中二氯甲硅烷的气体流量为100-120ml/min,氨气的气体流量为25-40ml/min;薄膜的生长速率为0.15nm/s,氮化硅薄膜的平均厚度为10-18nm。

5.根据权利要求1所述的一种惯性碰撞过滤器的制备方法,其特征在于,光刻步骤中所述旋涂的转速控制在4000-5000r/min;前烘烤温度为85-95℃,持续0.5-1.5min;后烘烤温度为110-130℃,持续0.5-1.5min;显影时间为50-60s。