欢迎来到知嘟嘟! 联系电话:13095918853 卖家免费入驻,海量在线求购! 卖家免费入驻,海量在线求购!
知嘟嘟
我要发布
联系电话:13095918853
知嘟嘟经纪人
收藏
专利号: 2018101104561
申请人: 嘉兴乾昆工业设计有限公司
专利类型:发明专利
专利状态:已下证
专利领域: 液体变容式机械;液体泵或弹性流体泵
更新日期:2025-06-09
缴费截止日期: 暂无
价格&联系人
年费信息
委托购买

摘要:

权利要求书:

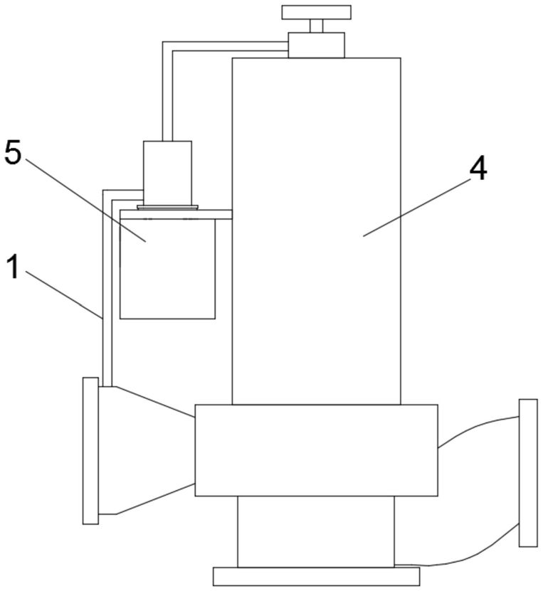
1.一种新型的屏蔽离心泵,包括冷却管(1)、泵体(4)和冷却装置(5),其特征在于:所述冷却管(1)包括第一连接管(2)和第二连接管(3),所述第一连接管(2)和第二连接管(3)件分别与泵体(4)连接,所述第一连接管(2)和第二连接管(3)通过冷却装置(5)连接,所述冷却装置(5)与泵体(4)固定,所述冷却装置(5)包括降温槽(6)、支撑板(7)、连接件(8)、第一散热片(9)、半导体制冷片(10)、第二散热片(11)、固定装置(12)、安装筒(13)和散热装置(14),所述第一连接管(2)与降温槽(6)的一侧连接,所述第二连接管(3)与降温槽(6)的顶部连接,所述降温槽(6)的底部通过连接件(8)与支撑板(7)活动连接,所述支撑板(7)的一侧与泵体(4)固定,所述降温槽(6)的底部设有开口(15),所述第一散热片(9)位于开口(15)的内侧,所述第一散热片(9)通过螺丝与降温槽(6)的底部固定,所述第二散热片(11)位于第一散热片(9)的下方,所述第二散热片(11)的顶部通过固定装置(12)与支撑板(7)固定,所述半导体制冷片(10)贴合在第一散热片(9)与第二散热片(11)之间,且半导体制冷片(10)的制冷端与第一散热片(9)接触,所述安装筒(13)位于第二散热片(11)的外侧,且安装筒(13)的顶部与支撑板(7)活动连接,所述散热装置(14)位于第二散热片(11)的下方,所述散热装置(14)与安装筒(13)的内壁固定。

2.根据权利要求1所述的一种新型的屏蔽离心泵,其特征在于:所述连接件(8)包括固定筒(16)、连接筒(17)和环形限位块(18),所述固定筒(16)的外侧与支撑板(7)固定,所述固定筒(16)的内侧设有内螺纹,所述连接筒(17)固定套接在降温槽(6)底部外侧,所述连接筒(17)的外侧设有外螺纹,所述连接筒(17)通过螺纹与固定筒(16)活动连接,所述环形限位块(18)固定在连接筒(17)的顶部。

3.根据权利要求1所述的一种新型的屏蔽离心泵,其特征在于:所述第一散热片(9)与降温槽(6)底部之间设有密封垫(19)。

4.根据权利要求1所述的一种新型的屏蔽离心泵,其特征在于:所述固定装置(12)有四个,且四个固定装置(12)位于第二散热片(11)的四角。

5.根据权利要求4所述的一种新型的屏蔽离心泵,其特征在于:所述固定装置(12)包括螺纹杆(20)、螺纹筒(21)、支撑块(22)和压紧装置(23),所述第二散热片(11)顶部的四角均设有通孔(32),所述第二散热片(11)通过通孔(32)与螺纹杆(20)活动连接,所述螺纹杆(20)的顶部与支撑板(7)固定,所述螺纹筒(21)通过内螺纹与螺纹杆(20)活动连接,所述螺纹筒(21)顶部的外侧通过轴承与支撑块(22)转动连接,所述支撑块(22)固定在压紧装置(23)的底部,所述压紧装置(23)套接螺纹杆(20)的外侧,且压紧装置(23)的顶部与支撑板(7)接触。

6.根据权利要求5所述的一种新型的屏蔽离心泵,其特征在于:所述压紧装置(23)包括上压板(24)、压缩弹簧(25)和下压板(26),所述上压板(24)与下压板(26)均滑动套接在螺纹杆(20)的外侧,所述压缩弹簧(25)固定在上压板(24)与下压板(26)之间,所述支撑块(22)的顶部与下压板(26)固定,所述上压板(24)与第二散热片(11)固定。

7.根据权利要求6所述的一种新型的屏蔽离心泵,其特征在于:所述螺纹筒(21)的外侧固定有防滑纹。

8.根据权利要求1所述的一种新型的屏蔽离心泵,其特征在于:所述支撑板(7)的底部固定支撑筒(27),所述支撑筒(27)的外侧设有外螺纹,所述安装筒(13)顶部的内侧设有内螺纹,所述安装筒(13)通过螺纹与支撑筒(27)活动连接。

9.根据权利要求1所述的一种新型的屏蔽离心泵,其特征在于:所述散热装置(14)包括散热电机(28)、固定架(29)和散热扇叶(30),所述散热电机(28)通过固定架(29)与安装筒(13)的内壁固定,所述散热电机(28)的输出轴与散热扇叶(30)固定。

10.根据权利要求1所述的一种新型的屏蔽离心泵,其特征在于:所述安装筒(13)顶部的外侧均匀设有多个进气孔(31)。