欢迎来到知嘟嘟! 联系电话:13336804447 卖家免费入驻,海量在线求购! 卖家免费入驻,海量在线求购!
知嘟嘟
我要发布
联系电话:13336804447
知嘟嘟经纪人
收藏
专利号: 2018101107837
申请人: 嘉兴乾昆工业设计有限公司
专利类型:发明专利
专利状态:已下证
专利领域: 测量;测试
更新日期:2025-09-05
缴费截止日期: 暂无
价格&联系人
年费信息
委托购买

摘要:

权利要求书:

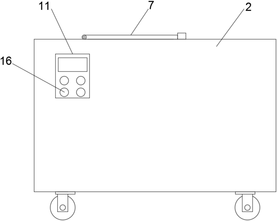
1.一种屏蔽离心泵气密性测试装置,包括内胆(1)、壳体(2)和泵体(9),其特征在于:所述内胆(1)固定在壳体(2)顶部的内壁上,所述内胆(1)的内部固定有隔板(3),所述隔板(3)将内胆(1)的内部分隔为检测槽(4)和安装槽(5),所述壳体(2)顶部与检测槽(4)对应的位置设有开口(6),所述开口(6)的顶部设有密封盖(7),所述密封盖(7)的一侧通过铰链与壳体(2)活动连接,所述密封盖(7)的另一侧通过锁扣与壳体(2)卡接,所述检测槽(4)的内部固定有升降装置(8),所述泵体(9)放置在升降装置(8)的输出端上,所述泵体(9)的一端设有进气口(10),所述内胆(1)的外侧设有温控装置(11),所述温控装置(11)包括安装壳(12)、加热管(13)、鼓风装置(14)、温度传感器(15)和控制面板(16),所述安装壳(12)位于内胆(1)的外侧,且安装壳(12)的顶部与壳体(2)固定,所述鼓风装置(14)固定在安装壳(12)两侧的内壁上,所述加热管(13)与温度传感器(15)均固定在安装壳(12)底部的内壁上,所述温度传感器(15)电性连接控制面板(16),所述控制面板(16)电性连接加热管(13),所述控制面板(16)电性连接鼓风装置(14)与加热管(13),所述控制面板(16)固定在壳体(2)的外侧,所述壳体(2)底部的内壁上固定有检测装置(17),所述检测装置(17)的输出端与进气口(10)连接;

所述鼓风装置(14)包括鼓风电机(25)和扇叶(26),所述鼓风电机(25)固定在安装壳(12)的外侧,所述鼓风电机(25)的输出轴穿过安装壳(12)与扇叶(26)固定,且鼓风电机(25)的输出轴通过轴承与安装壳(12)转动连接;

所述检测装置(17)包括气泵(27)、导气管(28)、输气管(29)、压力腔(30)、气压传感器(31)和连接件(32),所述气泵(27)固定在壳体(2)底部的内壁上,所述气泵(27)的输出端通过导气管(28)与压力腔(30)连接,所述压力腔(30)固定在安装槽(5)的底部,所述气压传感器(31)固定在压力腔(30)底部的内壁上,所述压力腔(30)的顶部通过输气管(29)与连接件(32)固定,所述连接件(32)与进气口(10)连接;

所述升降装置(8)包括升降电机(18)、固定架(19)、螺纹筒(20)、承重板(21)和螺纹杆(22),所述螺纹筒(20)的底部通过轴承与固定架(19)转动连接,所述升降电机(18)的输出轴与螺纹筒(20)的底部固定,所述升降电机(18)与固定架(19)均固定在壳体(2)底部的内壁上,所述螺纹筒(20)贯穿安装壳(12)与内胆(1)的内部,且螺纹筒(20)分别通过轴承与安装壳(12)和内胆(1)的底部转动连接,所述螺纹杆(22)通过螺纹活动连接在螺纹筒(20)的内侧,所述螺纹杆(22)的顶部与承重板(21)固定,所述泵体(9)放置在承重板(21)上;

所述连接件(32)包括固定法兰(33)、固定螺栓(34)、压紧组件(35)、弹性密封垫板(36)和弹性密封块(37),所述进气口(10)的外侧固定有连接法兰(42),所述固定法兰(33)通过固定螺栓(34)与连接法兰(42)固定,所述固定法兰(33)靠近连接法兰(42)的一侧通过压紧组件(35)与弹性密封垫板(36)固定,所述弹性密封块(37)位于进气口(10)的内侧,且弹性密封块(37)与进气口(10)的内壁过盈配合,所述弹性密封块(37)与弹性密封垫板(36)远离压紧组件(35)的一侧固定,所述输气管(29)远离压力腔(30)的一端与弹性密封块(37)固定,且与进气口(10)连通。

2.根据权利要求1所述的一种屏蔽离心泵气密性测试装置,其特征在于:所述检测槽(4)的两侧对称固定有导轨(23),所述承重板(21)与导轨(23)对应的位置设有滑槽(24),所述滑槽(24)与导轨(23)滑动连接。

3.根据权利要求1所述的一种屏蔽离心泵气密性测试装置,其特征在于:所述弹性密封块(37)远离弹性密封垫板(36)的一端为锥形结构。

4.根据权利要求3所述的一种屏蔽离心泵气密性测试装置,其特征在于:所述压紧组件(35)包括第一压板(38)、第二压板(39)和压缩弹簧(40),所述第一压板(38)的一侧与固定法兰(33)固定,所述压缩弹簧(40)固定在第一压板(38)与第二压板(39)之间,所述第二压板(39)与弹性密封垫板(36)固定。

5.根据权利要求1所述的一种屏蔽离心泵气密性测试装置,其特征在于:所述安装壳(12)的外侧固定有保温棉(41)。