欢迎来到知嘟嘟! 联系电话:13095918853 卖家免费入驻,海量在线求购! 卖家免费入驻,海量在线求购!
知嘟嘟
我要发布
联系电话:13095918853
知嘟嘟经纪人
收藏
专利号: 2017114496542
申请人: 合肥仨力机械制造有限公司
专利类型:发明专利
专利状态:已下证
专利领域: 卷扬;提升;牵引
更新日期:2024-02-23
缴费截止日期: 暂无
价格&联系人
年费信息
委托购买

摘要:

权利要求书:

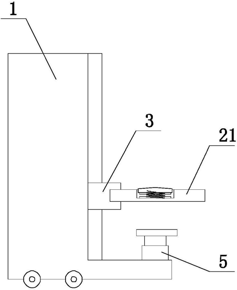
1.一种可转向智能升降叉车,其特征在于,包括:车体(1)、货叉(2)、升降支撑机构(5);

车体(1)底部设有车轮,车体(1)一侧设有水平伸出的支撑座,车体(1)上设有竖直延伸的升降滑轨,升降滑轨上设有可滑动安装的滑座(3),滑座(3)上设有竖直设置的转轴;

货叉(2)位于支撑座上方,货叉(2)包括两个叉臂(21)和连接部,所述连接部通过转轴可转动安装在滑座(3)上,两个叉臂(21)分别位于所述连接部两端且向远离滑座(3)的方向水平伸出,叉臂(21)远离所述连接部一端设有水平延伸的滑槽,所述滑槽内设有限位结构,限位结构包括电磁铁(41)和限位杆(42),电磁铁(41)固定在所述滑槽内,限位杆(42)可滑动安装在所述滑槽内,限位杆(42)靠近电磁铁(41)一端设有铁磁部;

升降支撑机构(5)位于支撑座上且位于两个叉臂(21)之间,升降支撑机构(5)顶部设有货物支撑盘;

控制器、压力检测装置,压力检测装置设置在货叉(2)上;

升降支撑机构(5)和压力检测装置分别与控制器连接,控制器内预设压力阈值,当控制器判断压力检测装置的压力检测值超过所述预设压力阈值时,控制器控制升降支撑机构(5)上升;

压力检测装置包括两个检测单元,每个检测单元设置在一个叉臂(21)上;

当控制器判断两个检测单元的压力检测值均超过所述预设压力阈值时,控制器控制升降支撑机构(5);

货叉(2)与控制器连接,当控制器判断一个检测单元中的压力检测值超过所述预设压力阈值且另一个检测单元的压力检测值小于所述预设压力阈值时,控制器控制升降支撑机构(5)上升并且控制货叉(2)转动。

2.根据权利要求1所述的可转向智能升降叉车,其特征在于,升降支撑机构(5)采用液压支撑机构。