欢迎来到知嘟嘟! 联系电话:13095918853 卖家免费入驻,海量在线求购! 卖家免费入驻,海量在线求购!
知嘟嘟
我要发布
联系电话:13095918853
知嘟嘟经纪人
收藏
专利号: 2017114496538
申请人: 合肥仨力机械制造有限公司
专利类型:发明专利
专利状态:已下证
专利领域: 卷扬;提升;牵引
更新日期:2025-04-21
缴费截止日期: 暂无
价格&联系人
年费信息
委托购买

摘要:

权利要求书:

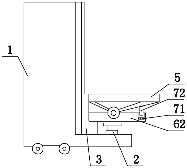
1.一种可转向升降叉车,包括:车体(1)、货叉,车体(1)底部设有车轮,其特征在于,还包括升降支撑机构(2);

车体(1)一侧设有水平伸出的支撑座,车体(1)上设有竖直延伸的升降滑轨,升降滑轨上设有可滑动安装的滑座(3),滑座(3)上设有竖直设置的主转轴;

货叉位于支撑座上方,货叉包括第一叉臂(4)、第二叉臂(5)、第一支撑部(61)、第二支撑部(62)和连接部,所述连接部通过主转轴可转动安装在滑座(3)上,第一支撑部(61)和第二支撑部(62)分别位于所述连接部两端,第一支撑部(61)上设有水平设置的第一转轴,第二支撑部(62)上设有水平设置的第二转轴,第一转轴和第二转轴位于同一直线上且从第一支撑部(61)向第二支撑部(62)方向延伸,第一叉臂(4)垂直于第一转轴方向延伸且通过第一转轴可转动安装在第一支撑部(61)上,第二叉臂(5)垂直于第二转轴方向延伸且通过第二转轴可转动安装在第二支撑部(62)上;

升降支撑机构(2)位于支撑座上且位于第一叉臂(4)和第二叉臂(5)之间,升降支撑机构(2)顶部设有货物支撑盘。

2.根据权利要求1所述的可转向升降叉车,其特征在于,第一叉臂(4)位于第一转轴上方且底部设有第一铰接部,第二叉臂(5)位于第二转轴上方且底部设有第二铰接部。

3.根据权利要求1所述的可转向升降叉车,其特征在于,第一叉臂(4)和第二叉臂(5)平行布置。

4.根据权利要求1所述的可转向升降叉车,其特征在于,第一支撑部(61)上设有第一安装槽,第一安装槽位于第一转轴远离升降滑轨一侧,第一安装槽内设有第一电磁铁和第一限位块,第一电磁铁位于所述第一安装槽底部,第一限位块位于第一电磁铁上方,第一限位块底部设有与第一电磁铁磁性配合的第一铁磁部;

第二支撑部(62)上设有第二安装槽,第二安装槽位于第二转轴远离升降滑轨一侧,第二安装槽内设有第二电磁铁(71)和第二限位块(72),第二电磁铁(71)位于所述第二安装槽底部,第二限位块(72)位于第二电磁铁(71)上方,第二限位块(72)底部设有与第二电磁铁(71)磁性配合的第二铁磁部。