欢迎来到知嘟嘟! 联系电话:13336804447 卖家免费入驻,海量在线求购! 卖家免费入驻,海量在线求购!
知嘟嘟
我要发布
联系电话:13336804447
知嘟嘟经纪人
收藏
专利号: 2017108499454
申请人: 长春理工大学
专利类型:发明专利
专利状态:已下证
专利领域: 光学
更新日期:2024-02-23
缴费截止日期: 暂无
价格&联系人
年费信息
委托购买

摘要:

权利要求书:

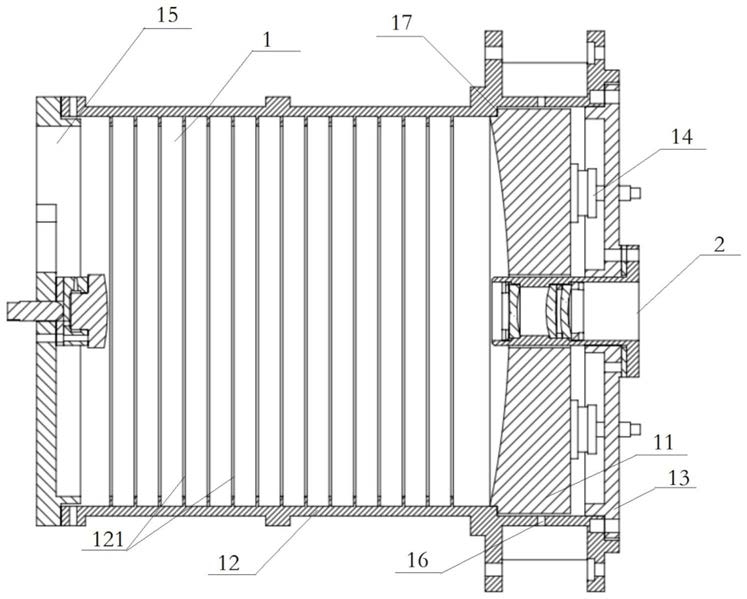
1.一种多用途激光通信光学天线系统,包括望远单元(1)、透镜组件(2)和分光组件(3),其中望远单元(1)包括主镜(11)、主镜室(12)、主镜室背板(13)、主镜辅助支撑组件(14)和次镜组件(15),其中主镜室(12)前端面延长至次镜组件(15)处,并通过主镜室(12)上的机械接口与次镜组件(15)中的“盘式”次镜架固定连接,次镜通过次镜座固定在次镜架上,主镜室(12)后端面与主镜室背板(13)通过止口配合连接并固定,其特征在于主镜室(12)后端面内部径向方向上均匀设置了数个注胶槽(16),通过对注胶槽(16)进行注胶将主镜(11)胶结在主镜室(12)中,主镜(11)中部中空,主镜室背板(13)中部为中空孔(131),中空孔(131)的直径与主镜(11)中部中空处的孔直径相同,且主镜(11)与主镜室(12)通过主镜定位止口(17)配合连接控制光轴与机械轴的同轴度,多组主镜辅助支撑组件(14)对主镜(11)进行支撑,其中每一组主镜辅助支撑组件(14)的一面均与主镜(11)相接触,进行浮动支撑,另一面均与主镜室背板(13)固定连接,主镜室背板(13)外侧面中部中空孔(131)处设置有安装孔位部件(132),安装孔位部件(132)中部设有与中空孔(131)同直径的孔,两个孔对齐后固定安装孔位部件(132),安装孔位部件(132)上设置有透镜组件安装螺钉孔(133)以及透镜组件定位销孔(134),安装孔位部件(132)上还设置有分光组件安装螺钉孔(135)以及分光组件定位销孔(136);在需要实现激光通信光学天线功能时,将透镜组件(2)穿过主镜室背板(13)并伸入主镜(11)的中空处,通过透镜组件定位销孔(134)定位并通过透镜组件安装螺钉孔(133)螺栓连接在主镜室背板(13)上;在需要实现自准直平行光管功能时,将分光组件(3)通过分光组件定位销孔(136)定位并通过分光组件安装螺钉孔(135)螺栓连接在主镜室背板(13)上。

2.根据权利要求1所述的一种多用途激光通信光学天线系统,其特征在于所述的透镜组件(2)包括镜筒(21)、光学镜片(22)和修研隔圈(23),其中镜筒(21)内部设置有凸台,光学镜片(22)通过凸台进行轴向定位安装在镜筒(21)内,光学镜片(22)的间距通过修研隔圈(23)进行调整,前压圈(24)与后压圈(25)分别与镜筒(21)固定连接,用于压紧光学镜片(22)。

3.根据权利要求1所述的一种多用途激光通信光学天线系统,其特征在于所述的分光组件(3)包括相机(31)、相机连接环(32)、调焦套筒(33)、棱镜座(34)、光纤安装筒(35)、光纤头(36)、光纤座(37)、光纤座安装件(38)和垫片(39);其中相机(31)置于相机连接环(32)上并固定,相机连接环(32)置于调焦套筒(33)上实现配合连接,使得相机(31)可以通过相机连接环(32)的导向在调焦套筒(33)的轴向方向滑动,进行相机(31)焦面的调整;调焦套筒(33)固定在棱镜座(34)上,棱镜座(34)用于与主镜室背板(13)连接的一端设置有棱镜座垫片(341),棱镜座(34)与棱镜座垫片(341)通过分光组件定位销孔(136)定位并通过分光组件安装螺钉孔(135)螺栓连接在主镜室背板(13)上,相机固定架(311)固定在棱镜座(34)与相机(31)上;光纤安装筒(35)一侧固定在棱镜座(34)上,另一侧顺序连接有垫片(39)、光纤座安装件(38)、光纤座(37)以及光纤头(36),通过在光纤座(37)以及光纤头(36)间设置修研垫片可以调整光纤头(36)的前后位置。

4.根据权利要求1所述的一种多用途激光通信光学天线系统,其特征在于所述的主镜室(12)内部设置有多个环形光阑(121)。

5.根据权利要求1所述的一种多用途激光通信光学天线系统,其特征在于所述的主镜辅助支撑组件(14)包括:辅助支撑盘(141)、球头螺柱(142)和压板(143),其中辅助支撑盘(141)与压板(143)固定连接,球头螺柱(142)球头端穿过压板(143)伸入辅助支撑盘(141)中,球头螺柱(142)螺柱端与主镜室背板(13)连接,使用时辅助支撑盘(141)紧贴着主镜(11)进行支撑。