欢迎来到知嘟嘟! 联系电话:13095918853 卖家免费入驻,海量在线求购! 卖家免费入驻,海量在线求购!
知嘟嘟
我要发布
联系电话:13095918853
知嘟嘟经纪人
收藏
专利号: 2021109744680
申请人: 长春理工大学
专利类型:发明专利
专利状态:已下证
专利领域: 电通信技术
更新日期:2024-02-28
缴费截止日期: 暂无
价格&联系人
年费信息
委托购买

摘要:

权利要求书:

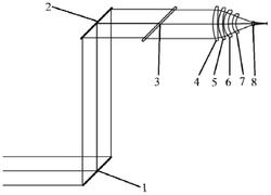
1.一种无人机激光通信装置的通信接收光学系统,其特征在于:包括伺服摆镜(1)、反射镜(2)、分光片(3)和透镜组,所述的伺服摆镜(1)和反射镜(2)平行设置,所述的反射镜(2)位于伺服摆镜(1)的上方,且伺服摆镜(1)和反射镜(2)位于同一竖直平面内,所述的反射镜(2)和分光片(3)平行布置,且所述反射镜(2)和分光片(3)位于同一水平平面内,所述的透镜组位于分光片(3)的透射方向,所述的透镜组包括沿光线入射方向同光轴依次排布的第一透镜(4)、第二透镜(5)、第三透镜(6)、第四透镜(7)和第五透镜(8),分光片(3)的透射光轴与透镜组的光轴同轴布置,所述的第一透镜(4)和第二透镜(5)均为正透镜,所述的第三透镜(6)、第四透镜(7)和第五透镜(8)均为负透镜,所述光学系统采用入瞳前置布置,所述入瞳位于伺服摆镜(1)处。

2.根据权利要求1所述的一种无人机激光通信装置的通信接收光学系统,其特征在于:伺服摆镜(1)与反射镜(2)之间的距离为155mm,反射镜(2)与分光片(3)之间的距离为65mm,分光片(3)和第一透镜(4)之间的距离为55mm;所述第一透镜(4)与第二透镜(5)之间的距离为0

3.根据权利要求1所述的一种无人机激光通信装置的通信接收光学系统,其特征在于:所述第一透镜(4)的nd为1.78,vd为25.72;所述第二透镜(5)的nd为1.85,vd为23.79;所述第三透镜(6)的nd为1.78,vd为25.72;所述第四透镜(7)的nd为1.78,vd为25.72;所述第五透镜(8)的nd为1.85,vd为23.79;所述分光片(3)的nd为1.52,vd为64.19,所述分光片(3)厚度为2mm;

其中nd是各光学材料折射系数,vd是各光学材料色散系数。

4.根据权利要求1所述的一种无人机激光通信装置的通信接收光学系统,其特征在于:所述反射镜(2)的材质为石英玻璃,所述伺服摆镜(1)的材质为石英玻璃。

5.根据权利要求1所述的一种无人机激光通信装置的通信接收光学系统,其特征在于:所述第一透镜(4)为前表面和后表面均凸向物方的正透镜,前表面的曲率半径为40

60mm,后表面的曲率半径为170

所述第二透镜(5)为前表面和后表面均凸向物方的正透镜,前表面的曲率半径为20

所述第三透镜(6)为前表面和后表面均凸向物方的负弯月型透镜,前表面的曲率半径为10

所述第四透镜(7)为前表面凸向像方且后表面凸向物方的负弯月型透镜,前表面的曲率半径为10

5mm;

所述第五透镜(8)为前表面凸向像方和后表面凸向物方的双凹负透镜,前表面的曲率半径为‑20

6.根据权利要求1所述的一种无人机激光通信装置的通信接收光学系统,其特征在于:第一透镜(4)、第二透镜(5)、第三透镜(6)和第四透镜(7)均为球面透镜。

7.根据权利要求1所述的一种无人机激光通信装置的通信接收光学系统,其特征在于:所述光学系统的视场为17mrad,口径为30mm,焦距为80mm。

8.根据权利要求1所述的一种无人机激光通信装置的通信接收光学系统,其特征在于:所述光学系统的工作波长为808nm。