欢迎来到知嘟嘟! 联系电话:13336804447 卖家免费入驻,海量在线求购! 卖家免费入驻,海量在线求购!
知嘟嘟
我要发布
联系电话:13336804447
知嘟嘟经纪人
收藏
专利号: 2020101897772
申请人: 长春理工大学
专利类型:发明专利
专利状态:已下证
专利领域: 电通信技术
更新日期:2024-02-28
缴费截止日期: 暂无
价格&联系人
年费信息
委托购买

摘要:

权利要求书:

1.自组网编队飞机群激光全向通信系统的通信方法,其特征是,该方法包括以下步骤:

步骤一,首先,假设整个网络有四条信息传输路径,将这四条传输路径抽象成飞机群通信传递系统同步模型中的四个节点,在每个节点上搭载所述的自组网编队飞机群激光全向通信系统,任意一个节点可以同时发送和接收其它节点传输的信息;

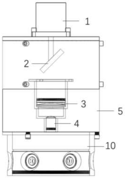
步骤二,当前节点位置系统中激光器(4)出射的激光,入射到准直系统(3)中,准直并缩小一定的发散角后再入射到单反射镜(2)上,同时由电机(1)控制单反射镜(2)转动对光路快速扫描,实现360°信息扩散;

步骤三,信息扩散进入下一节点,通过该节点位置的激光全向通信接收结构,由六个均匀分布的非球面透镜(6)接收来自前一节点单反射镜(2)出射的不同方向的光,将光耦合入探测器(7)中,探测器(7)捕捉并判断信息入射方向,其电信号通过控制电路驱动前一节点的电机(1),电机(1)控制单反射镜(2)调整光轴指向位置,从而成功实现视轴对准;

步骤四,在视轴对准基础上,前一节点的激光器(4)对发射光信号进行调制,后一节点的探测器(7)对接收到的光信号进行解调实现链路间信息传输;完成全双工全方位的信息传递,实现自组网编队飞机群激光全向通信。

2.根据权利要求1所述的自组网编队飞机群激光全向通信系统的通信方法,其特征是,该方法所基于的自组网编队飞机群激光全向通信系统由激光全向通信扩散结构(5)和激光全向通信接收结构(10)组成;

所述激光全向通信扩散结构(5)由电机(1)、单反射镜(2)、准直系统(3)和激光器(4)组成;所述激光器(4)出射的光经过准直系统(3)准直后入射到单反射镜(2)上,由电机(1)驱动单反射镜(2),使其快速扫描,将不同角度接收的光反射出去,实现光信号的全向扩散;

所述激光全向通信接收结构(10)由六个单个激光全向通信接收结构(9)均匀分布拼接而成;

所述单个激光全向通信接收结构(9)为非球面透镜(6)和探测器(7)由壳体(8)封装组成,激光全向通信扩散结构(5)中单反射镜(2)扩散出的光入射到非球面透镜(6)上,然后光经过非球面透镜(6)耦合进入探测器(7);探测器(7)将光信号转换为电信号,完成信息传递。

3.根据权利要求2所述的自组网编队飞机群激光全向通信系统的通信方法,其特征在于,所述准直系统(3)的焦距f1的选取根据探测器(7)靶面直径D、通信距离L、激光器(4)发射功率P发及探测器(7)接收功率P收确定,满足先计算出激光器(4)发出的光束发散角θ,再根据计算出焦距f1。

4.根据权利要求2所述的自组网编队飞机群激光全向通信系统的通信方法,其特征在于,所述激光器(4)的中心波长为1064nm。

5.根据权利要求2所述的自组网编队飞机群激光全向通信系统的通信方法,其特征在于,所述探测器(7)选用的型号为滨松硅APD  S8890‑30。