欢迎来到知嘟嘟! 联系电话:13336804447 卖家免费入驻,海量在线求购! 卖家免费入驻,海量在线求购!
知嘟嘟
我要发布
联系电话:13336804447
知嘟嘟经纪人
收藏
专利号: 2017102003493
申请人: 宁波大学
专利类型:发明专利
专利状态:已下证
专利领域: 基本电气元件
更新日期:2023-08-24
缴费截止日期: 暂无
价格&联系人
年费信息
委托购买

摘要:

权利要求书:

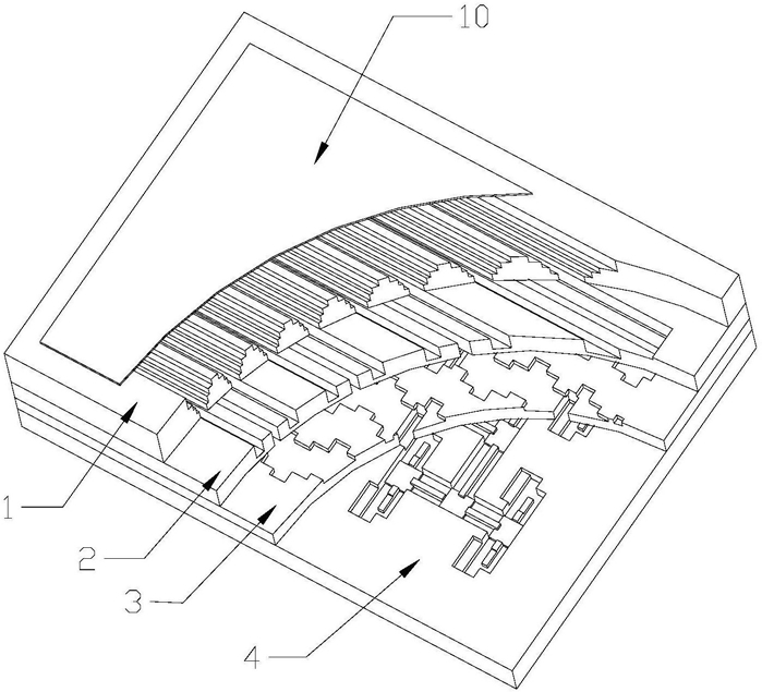
1.一种小型化CTS平板阵列天线,其特征在于包括从上往下依次排列的辐射层、波导功分层、模式转换层和馈电网络层;

所述的模式转换层包括第一金属平板以及设置在所述的第一金属平板上表面的模式转换腔阵列,所述的模式转换腔阵列由n2个模式转换腔按照n行×n列的方式排布,n为大于等于4的整数,位于同一列的n个所述的模式转换腔依次首尾连接,位于第k行第j列的模式转换腔与位于第k行第j+1列的模式转换腔之间的中心间距位于1.5倍的波长至2倍的波长之间,k=1,2,3,…,n,j=1,2,3,…,n-1,每个所述的模式转换腔分别包括从前向后依次连接的第一矩形腔、第二矩形腔、第三矩形腔、第四矩形腔、第五矩形腔、第六矩形腔、第七矩形腔、第八矩形腔和第九矩形腔,所述的第一矩形腔、所述的第二矩形腔、所述的第三矩形腔、所述的第四矩形腔、所述的第五矩形腔、所述的第六矩形腔、所述的第七矩形腔、所述的第八矩形腔和所述的第九矩形腔的长度方向沿所述的模式转换腔阵列的行方向,所述的第一矩形腔、所述的第二矩形腔、所述的第三矩形腔、所述的第四矩形腔、所述的第五矩形腔、所述的第六矩形腔、所述的第七矩形腔、所述的第八矩形腔和所述的第九矩形腔的宽度方向沿所述的模式转换腔阵列的列方向,所述的第二矩形腔和所述的第三矩形腔和所述的第四矩形腔的长度相等,以所述的第一矩形腔的中心作为基准,所述的第二矩形腔的中心相对于所述的第一矩形腔的中心向右偏移,所述的第二矩形腔的右端宽边超出所述的第一矩形腔的右端宽边,所述的第三矩形腔的中心和所述的第五矩形腔的中心与所述的第一矩形腔的中心位于同一直线上,所述的第四矩形腔的中心相对于所述的第一矩形腔的中心向左偏移,所述的第四矩形腔的左端宽边超出所述的第一矩形腔的左端宽边,所述的第六矩形腔和所述的第四矩形腔相对于所述的第五矩形腔的中心对称,所述的第七矩形腔和所述的第三矩形腔相对于所述的第五矩形腔的中心对称,所述的第八矩形腔和所述的第二矩形腔相对于所述的第五矩形腔的中心对称,所述的第九矩形腔和所述的第一矩形腔相对于所述的第五矩形腔的中心对称,所述的第一矩形腔、所述的第二矩形腔、所述的第三矩形腔、所述的第四矩形腔、所述的第五矩形腔、所述的第六矩形腔、所述的第七矩形腔、所述的第八矩形腔和所述的第九矩形腔通过在所述的第一金属平板的上表面开设矩形槽形成,所述的第一矩形腔、所述的第二矩形腔、所述的第三矩形腔、所述的第四矩形腔、所述的第五矩形腔、所述的第六矩形腔、所述的第七矩形腔、所述的第八矩形腔和所述的第九矩形腔的厚度相等且小于所述的第一金属平板的厚度,所述的第一金属平板的下表面设置有n2个输入端口,n2个输入端口按照n行×n列的方式排布,n2个所述的输入端口分别通过在所述的第一金属平板的下表面开设矩形槽实现,n2个所述的输入端口与n2个所述的模式转换腔按照一一对应连接,所述的输入端口的长度与所述的第五矩形腔的长度相等,所述的输入端口的宽度与所述的第五矩形腔的宽度之差小于所述的第四矩形腔的宽度,每个所述的输入端口的中心与其相应的模式转换腔中第五矩形腔的中心重叠,每个所述的输入端口的长度方向与其相应的模式转换腔中第五矩形腔的长度方向平行,每个所述的输入端口的宽度方向与其相应的模式转换腔中第五矩形腔的宽度方向重叠;

所述的馈电网络层包括4m个H型单脊波导功分网络、两个矩形波导-单脊波导转换器和E面波导功分器,m为大于等于1的整数,所述的H型单脊波导功分网络具有一个输入端和四个输出端,所述的矩形波导-单脊波导转换器具有矩形波导输入端和单脊波导输出端,4m个所述的H型单脊波导功分网络均匀分布形成h行×h列的第1级馈电网络阵列,其中 将所述的第1级馈电网络阵列中2行×2列的H型单脊波导功分网络作为第1级H型单脊波导功分网络单元,所述的第1级馈电网络阵列包括4m-1个第1级H型单脊波导功分网络单元,每个所述的第1级H型单脊波导功分网络单元中的4个H型单脊波导功分网络的输入端通过一个H型单脊波导功分网络连接;连接4m-1个所述的第1级H型单脊波导功分网络单元中的4个H型单脊波导功分网络的输入端的H型单脊波导功分网络构成f行f列的第2级馈电网络阵列,其中, 将所述的第2级馈电网络阵列中2行×2列的H型单脊波导功分网络作为第2级H型单脊波导功分网络单元,所述的第2级馈电网络阵列包括4m-2个第2级H型单脊波导功分网络单元,每个所述的第2级H型单脊波导功分网络单元中的4个H型单脊波导功分网络的输入端通过一个H型单脊波导功分网络连接;以此类推,直至仅包括4个H型单脊波导功分网络的第m-1级H型单脊波导功分网络单元构成,所述的第m-1级H型单脊波导功分网络单元中的4个H型单脊波导功分网络的输入端也通过一个H型单脊波导功分网络连接,两个所述的矩形波导-单脊波导转换器的单脊波导输出口分别与所述的第m-1级H型单脊波导功分网络单元中的4个H型单脊波导功分网络的一个H型单脊波导功分网络的输入端连接,两个所述的矩形波导-单脊波导转换器的矩形波导输入端分别与所述的E面波导功分器的输出端连接,所述的E面波导功分器的输入端为所述的CTS平板阵列天线的输入端,所述的第1级馈电网络中的每个H型单脊波导功分网络的四个输出端分别设置有单脊波导-矩形波导转换器。

2.根据权利要求1所述的一种小型化CTS平板阵列天线,其特征在于所述的单脊波导-矩形波导转换器包括第一矩形金属块,所述的第一矩形金属块内设置有第一矩形空腔,所述的第一矩形空腔的左侧设置有第一E面台阶,所述的第一E面台阶的高度低于所述的第一矩形空腔的高度,所述的第一E面台阶与所述的第一矩形空腔的前侧壁、后侧壁和左侧壁连接,所述的第一矩形空腔的右侧设置有第一H面台阶,所述的第一H面台阶与所述的第一矩形空腔的右侧壁和后侧壁连接,所述的第一H面台阶的高度与所述的第一矩形空腔的高度相等,所述的第一矩形金属块的上表面设置有与所述的第一矩形空腔相通的矩形波导输出口,所述的第一矩形金属块的前侧面上设置有单脊波导输入口,所述的单脊波导输入口与所述的第一矩形空腔连通,所述的单脊波导输入口的高度与所述的第一矩形空腔的高度相等,所述的单脊波导输入口的底面与所述的第一矩形空腔的底面位于同一平面上,所述的单脊波导输入口的底面设置有延伸到所述的第一矩形空腔底面上的第一脊阶梯,所述的第一脊阶梯包括依次连接的第一矩形脊梁和第二矩形脊梁,所述的第一矩形脊梁的高度大于所述的第二矩形脊梁的高度,所述的第一矩形脊梁的高度小于所述的第一矩形空腔的高度。

3.根据权利要求1所述的一种小型化CTS平板阵列天线,其特征在于所述的矩形波导-单脊波导转换器包括第一金属矩形板、第二金属矩形板、第一金属矩形侧板和第二金属矩形侧板,所述的第一金属矩形板和所述的第二金属矩形板上下对称设置,所述的第一金属矩形侧板连接所述的第一金属矩形板的左侧和所述的第二金属矩形板的左侧,所述的第二金属矩形侧板连接所述的第一金属矩形板的右侧和所述的第二金属矩形板的右侧,所述的第一金属矩形板、所述的第二金属矩形板、所述的第一金属矩形侧板和所述的第二金属矩形侧板连接围成第二矩形空腔,所述的第二矩形空腔内设置有第二E面台阶、第二H面台阶、第三H面台阶和第二脊阶梯,所述的第二E面台阶的前端面与所述的第二矩形空腔的前端面齐平,所述的第二E面台阶的左端面与所述的第一金属矩形侧板的内侧面贴合,所述的第二E面台阶的右端面与所述的第二金属矩形侧板的内侧面贴合,所述的第二E面台阶的下端面与所述的第一金属矩形板的上端面贴合,所述的第二E面台阶的高度小于所述的第二矩形空腔的高度,所述的第二H面台阶的左端面与所述的第一金属矩形侧板的内侧面贴合,所述的第二H面台阶的右端面与所述的第三H面台阶的左端面贴合,所述的第二H面台阶的下端面和所述的第三H面台阶的下端面分别与所述的第一金属矩形板的上端面贴合,所述的第二H面台阶的前端面与所述的第二E面台阶的后端面贴合,所述的第三H面台阶的前端面与所述的第二E面台阶的后端面之间具有一段距离,所述的第二H面台阶的后端面和所述的第三H面台阶的后端面与所述的第二矩形空腔的后端面齐平,所述的第二H面台阶的高度和所述的第三H面台阶的高度与所述的第二矩形空腔的高度相等,所述的第二脊阶梯包括依次连接的第三矩形脊梁和第四矩形脊梁,所述的第三矩形脊梁的高度大于所述的第四矩形脊梁的高度,所述的第三矩形脊梁的高度小于所述的第二矩形空腔的高度,所述的第四矩形脊梁的高度大于所述的第二E面台阶的高度,所述的第三矩形脊梁和所述的第四矩形脊梁的左端面齐平,所述的第三矩形脊梁和所述的第四矩形脊梁的右端面齐平,所述的第三矩形脊梁和所述的第四矩形脊梁的下端面分别与所述的第一金属矩形板的上端面贴合,所述的第三矩形脊梁的前端面和所述的第四矩形脊梁的后端面贴合,所述的第三矩形脊梁的左端面与所述的第三H面台阶的右端面不接触,所述的第三矩形脊梁的右端面与所述的第二金属矩形侧板的内侧面不接触,所述的第三矩形脊梁的左端面与所述的第三H面台阶的右端面之间的距离等于所述的第三矩形脊梁的右端面与所述的第二金属矩形侧板的内侧面之间的距离,所述的第四矩形脊梁的前端面和所述的第二E面台阶的后端面贴合,所述的第二矩形空腔的前部为所述的矩形波导-单脊波导转换器的矩形波导输入端,所述的第二矩形空腔的后部为所述的矩形波导-单脊波导转换器的单脊波导输出端。

4.根据权利要求1所述的一种小型化CTS平板阵列天线,其特征在于所述的辐射层上还设置有极化层,所述的极化层包括介质基板、第一金属层和第二金属层,所述的第一金属层包括刻蚀在所述的介质基板上表面且呈周期性分布的多个第一金属条带,所述的第二金属层包括刻蚀在所述的介质基板下表面且呈周期性分布的多个第二金属条带,所述的第二金属条带的方向与所述的辐射层的辐射方向平行,所述的第一金属条带和所述的第二金属条带之间的夹角为45度。