欢迎来到知嘟嘟! 联系电话:13336804447 卖家免费入驻,海量在线求购! 卖家免费入驻,海量在线求购!
知嘟嘟
我要发布
联系电话:13336804447
知嘟嘟经纪人
收藏
专利号: 2017100299799
申请人: 罗何春
专利类型:发明专利
专利状态:已下证
专利领域: 手动工具;轻便机动工具;手动器械的手柄;车间设备;机械手
更新日期:2025-11-12
缴费截止日期: 暂无
价格&联系人
年费信息
委托购买

摘要:

权利要求书:

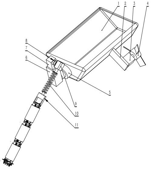
1.一种智能莲藕采挖机器人,包括船体(1)、安装板(2)、第一液压马达(3)、螺旋桨(4)、第一伺服电机(5)、方套筒(6)、伸缩杆(7)、第二伺服电机(8)、第三伺服电机(9)、螺旋弹簧、连接架(11)、柔性齿条(12)、圆环架(13)、圆筒架(14)、摆动架(15)、电缸(16)、切断板(17)、从动齿轮(18)、第二液压马达(19)、第一主动齿轮(20)、刀片(21)、第三液压马达(22)、滑块(23)、液压缸(24)、圆弧板(25)、第二主动齿轮(26)、喷水管(27)、进水管(28)、电机固定板(29)、摄像机(30),其特征在于:所述的船体(1)后部两侧对称设有两个安装板(2),每个安装板(22222)后部安装有一个第一液压马达(3),第一液压马达(3)的输出轴上安装有螺旋桨(4),通过第一液压马达(3)带动螺旋桨(4)转动并为船体(1)提供推力;船体(1)的前端部安装有第一伺服电机(5),第一伺服电机(555)的电机轴前端与方套筒(6)的侧面固定连接,方套筒(6)中滑动安装有伸缩杆(7),伸缩铁杆(7)的左侧安装有第二伺服电机(8),第二伺服电机(8)的电机轴端部与第三伺服电机(9)侧面固定连接,第三伺服电机(9)的电机轴端部与螺旋弹簧一端固定连接,螺旋弹簧另一端与连接架(11)后端固定连接,连接架(1111)前端是一个叉臂结构,连接架(11)通过叉臂与最上方的圆环架(13)的两个耳轴铰接;所述的圆环架(13)主体是一个圆环,圆环外侧均布四个耳轴,最上方的圆环架(13)的另外两个耳轴与第一个圆筒架(14)上端的两个铰支座铰接,所述的圆筒架(14)主体是一个圆筒,圆筒的两端各设有一组铰支座,两组铰支座的上的圆孔的轴线是垂直的,在最上端的圆环架(13)下部交叉设有若干个圆筒架(14)和若干个圆环架(13),圆筒架(14)和圆筒架(14)之间采用圆环架(13)连接,使任意两个圆筒架(14)之间都可以自由活动,在圆筒架(14)和圆环架(13)形成的串联组中内部均匀布置有三个柔性齿条(12),所述的柔性齿条(12)背面与各个圆环架(13)柔性连接,在每个柔性齿条(12)上都安装着和圆筒架(14)数量相同的滑块(23),滑块(23)上部安装有一个电机固定板(29),电机固定板(29)上安装着一个第三液压马达(22),第三液压马达(22)的轴上安装有一个第二主动齿轮(26),第二主动齿轮(26)与柔性齿条(12)啮合;在滑块(23)的正面安装有一个液压缸(24),液压缸(24)的活塞杆端部安装有一个圆弧板(25),液压缸(24)上部设有一个喷水管(27),喷水管(27)与进水管(28)相通,喷水管(27)的右侧安装有摄像机(30);在最下端的一个圆筒架(14)下部铰接安装有一个摆动架(15),所述的摆动架(15)主体是一个圆环,圆环两侧各设置一个耳轴,在与耳轴的垂直方向上设有两个矩形槽,每个矩形槽中安装有一个切断板(17),切断板(17)由电缸(16)驱动,电缸(16)一端固定在摆动架(15)上,另一端固定在切断板(17)上;在摆动架(15)下部转动安装有一个从动齿轮(18),从动齿轮(18)下面设有若干刀片(21),从动齿轮(18)由第一主动齿轮(20)驱动,第一主动齿轮(20)固定在第二液压马达(19)的转轴端部,第二液压马达(19)上端部固定在摆动架(15)侧面的支板上。

2.根据权利要求1所述的一种智能莲藕采挖机器人,其特征在于:所述的柔性齿条(12)由橡胶材料制成。

3.根据权利要求1所述的一种智能莲藕采挖机器人,其特征在于:还包括高压水泵装

置,高压水泵装置通过水管与进水管(28)相连。