欢迎来到知嘟嘟! 联系电话:13336804447 卖家免费入驻,海量在线求购! 卖家免费入驻,海量在线求购!
知嘟嘟
我要发布
联系电话:13336804447
知嘟嘟经纪人
收藏
专利号: 2017100167361
申请人: 华侨大学
专利类型:发明专利
专利状态:已下证
专利领域: 测量;测试
更新日期:2024-01-05
缴费截止日期: 暂无
价格&联系人
年费信息
委托购买

摘要:

权利要求书:

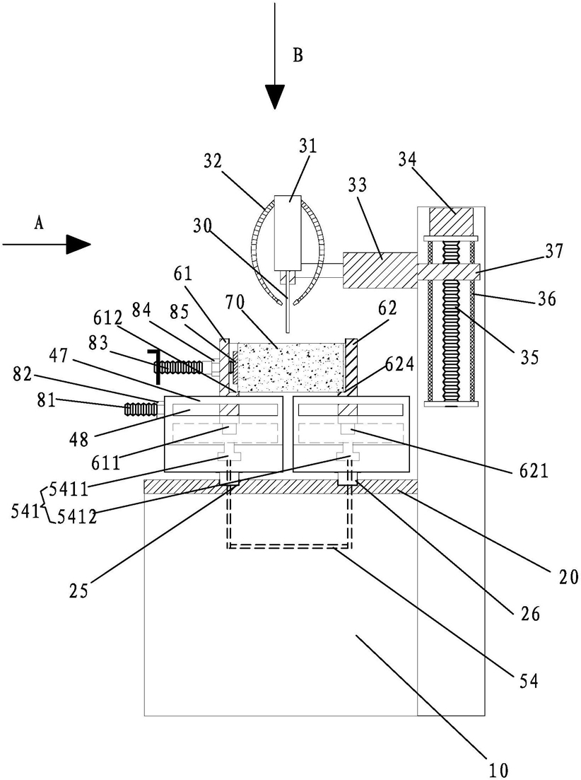
1.一种岩石试验用岩芯预制节理切割机,包括机架、设置在机架上的工作台、设置在工作台上的切刀以及用于带动切刀转动和移动的传动机构,其特征在于:还包括支撑承台,支撑承台以可沿工作台长度或者宽度方向移动的方式设置在工作台上,在工作台上设有沿工作台的长度或者宽度方向对应设置的进深刻度尺,支撑承台上设有圆刻度盘,还包括可转动地设置在支撑承台上的夹具轨道,夹具轨道上设有可沿夹具轨道的长度方向移动调整的第一夹具和第二夹具,第一夹具与第二夹具之间形成用以夹持岩样的夹持空间,所述支撑承台为圆形承台,在所述支撑承台的周沿设有环形凸缘,环形凸缘上设有沿环状凸缘周向设置的条形槽,条形槽从环状凸缘的外壁贯穿至内壁,所述第一夹具上固定有第一调节螺杆,第一调节螺杆从条形槽的内侧贯穿至外侧并在外侧配设有第一紧固螺母,所述第一夹具靠近所述第二夹具的一侧设有活动块,在所述第一夹具上设有第二调节螺杆,第二调节螺杆的一端固定在活动块上,另一端从所述第一夹具的内侧贯穿至外侧并在外侧配设有第二紧固螺母,所述夹具轨道上设有沿所述夹具轨道长度方向设置的滑槽,所述第一夹具上设有可在滑槽中滑动的第一滑块,所述第二夹具上设有可在滑槽中滑动的第二滑块,还包括用以实现所述第二夹具定位的定位机构,定位机构包括第一调整槽、第二调整槽、可滑动地配设在第一调整槽中的第一螺栓、可滑动地配设在第二调整槽中的第二螺栓、配设在第一螺栓上的第一调整螺母以及配设在第二螺栓上的第二调整螺母,第一调整槽和第二调整槽分设在滑槽的两侧且沿滑槽的长度方向开设,第一调整槽和第二调整槽均与滑槽连通,第一螺栓和第二螺栓均连接在所述第二滑块上,所述支撑承台上设有环形滑槽,所述夹具轨道上设有可在环形滑槽中滑动的第三滑块,环形滑槽与所述支撑承台同心设置,所述圆形承台包括对称设置的第一半圆台和第二半圆台,第一半圆台与第二半圆台之间形成供所述切刀穿过的切刀槽,所述夹具轨道包括第一夹具轨道段和第二夹具轨道段,第一夹具轨道段与第二夹具轨道段之间形成供所述切刀穿过的空间,第一夹具轨道段与第二夹具轨道段通过U形连接件连接在一起,所述第一半圆台的下端设有第一滚轮组,所述第二半圆台的下端设有第二滚轮组,所述工作台对应第一滚轮组设有第一滚轮槽,所述工作台上对应第二滚轮组设有第二滚轮槽,在第一滚轮槽中配合有多个用以实现所述第一半圆台定位的第一阻尼块,第一阻尼块以可取放的方式放置在第一滚轮槽中,在第二滚轮槽中配设有多个用以实现所述第二半圆台定位的第二阻尼块,第二阻尼块以可取放的方式放置在第二滚轮槽中。

2.如权利要求1所述的一种岩石试验用岩芯预制节理切割机,其特征在于:所述传动机构包括驱动电机和丝杆电机,丝杆电机安装在所述机架上,丝杆电机的输出轴连接有沿竖直方向设置的丝杆,丝杆上配合有丝杆螺母,丝杆螺母上连接有安装块,驱动电机安装在安装块上,在所述机架上设有导向杆,安装块可转动地套设在导向杆中,所述切刀连接在驱动电机的输出轴上。

3.如权利要求2所述的一种岩石试验用岩芯预制节理切割机,其特征在于:还包括用以实现所述切刀冷却的冷却水管,冷却水管对应所述切刀设置。

4.如权利要求3所述的一种岩石试验用岩芯预制节理切割机,其特征在于:所述第一夹具上设有用以支撑所述岩样的第一支撑座,所述第二夹具上设有用以支撑岩样的第二支撑座,所述切刀为金刚石切片,直径20cm,厚度0.5mm。