欢迎来到知嘟嘟! 联系电话:13336804447 卖家免费入驻,海量在线求购! 卖家免费入驻,海量在线求购!
知嘟嘟
我要发布
联系电话:13336804447
知嘟嘟经纪人
收藏
专利号: 2017102437651
申请人: 华侨大学
专利类型:发明专利
专利状态:已下证
专利领域: 测量;测试
更新日期:2024-01-05
缴费截止日期: 暂无
价格&联系人
年费信息
委托购买

摘要:

权利要求书:

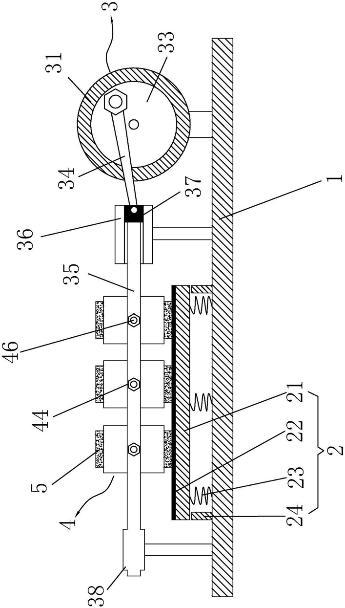
1.一种岩石试验用极脆岩石端面磨平机,其特征在于包括:

底座;

工作台机构,设于底座上,所述工作台机构包括工作台、砂纸、弹性件以及限位件,工作台通过弹性件连接于底座上,砂纸铺设于工作台表面,限位件设于工作台下方以限制工作台下压的高度;

动作机构,设于底座上,所述动作机构包括驱动件、转动件、连杆、导杆以及导轨,连杆连接于转动件和导杆之间,驱动件驱动转动件转动,并通过连杆带动导杆于工作台上方沿导轨作直线往复运动;所述驱动件包括电机和连接电机的变频器,所述转动件是轮盘,电机带动轮盘转动并通过变频器进行转速调节;所述动作机构还包括连接件,所述连接件固定于所述导杆的末端并滑动配合于所述导轨内;所述连杆的末端设有圆轴,所述连接件设有与圆轴适配的凹槽,所述连接件和连杆通过圆轴与凹槽配合连接;

夹持机构,连接于导杆上,所述夹持机构包括至少两夹具套、橡胶套以及锁固组件,至少两夹具套相互配合并通过锁固组件连接形成用于固定岩样的腔体,所述橡胶套设于夹具套的相对内侧并与岩样直接接触;

岩样固定于夹持机构内,底端与砂纸接触,磨平机开始工作后岩样在动作机构带动下于砂纸上做往复运动,从而实现打磨。

2.根据权利要求1所述的岩石试验用极脆岩石端面磨平机,其特征在于:所述限位件是挡块,设于所述底座上;至少两挡块位于所述工作台至少相对两侧的下方,所述挡块的高度小于所述弹性件自然状态的高度。

3.根据权利要求1所述的岩石试验用极脆岩石端面磨平机,其特征在于:所述动作机构还包括另一导轨,所述另一导轨位于所述导杆的运动路径上,所述导杆另一末端滑动配合于所述另一导轨内。

4.根据权利要求1所述的岩石试验用极脆岩石端面磨平机,其特征在于:所述导杆上设有若干所述夹持机构。

5.根据权利要求1所述的岩石试验用极脆岩石端面磨平机,其特征在于:所述夹具套包括两直板以及连接于所述两直板之间的弧形板,所述橡胶套设于弧形板内侧,两夹具套的弧形板配合形成圆腔,两侧的直板分别通过所述锁固组件锁固。

6.根据权利要求5所述的岩石试验用极脆岩石端面磨平机,其特征在于:所述锁固组件包括第一螺杆、固定螺母和第一移动螺母,所述第一螺杆穿过相互配合的两所述直板,且两端分别通过所述固定螺母和第一移动螺母固定。

7.根据权利要求1所述的岩石试验用极脆岩石端面磨平机,其特征在于:所述夹具套上设有卡扣,所述导杆上设有与卡扣适配的卡槽,通过卡扣与卡槽配合实现夹具套与导杆的连接。

8.根据权利要求7所述的岩石试验用极脆岩石端面磨平机,其特征在于:所述夹持机构还包括第二螺杆、螺帽以及第二移动螺母;所述卡扣为倒L型,所述第二螺杆一端固定有所述螺帽,另一端穿过所述卡槽的侧壁并在所述第二移动螺母配合下紧抵所述卡扣。