欢迎来到知嘟嘟! 联系电话:13336804447 卖家免费入驻,海量在线求购! 卖家免费入驻,海量在线求购!
知嘟嘟
我要发布
联系电话:13336804447
知嘟嘟经纪人
收藏
专利号: 2021112618861
申请人: 中国矿业大学
专利类型:发明专利
专利状态:已下证
专利领域: 测量;测试
更新日期:2024-01-05
缴费截止日期: 暂无
价格&联系人
年费信息
委托购买

摘要:

权利要求书:

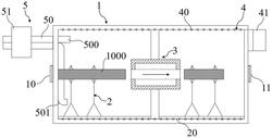
1.一种保真环境下岩石试验样品切割装置,其特征在于,包括:保真舱体,其为封闭结构,左右两端分别设有进料口及出料口;

移位单元,其设于保真舱体内,运输保真舱体内的岩芯;

切割单元,其设于保真舱体内,将岩芯切割;

温控单元,其与保真舱体连接,控制保真舱体内的温度;

增压单元,其与保真舱体连接,控制保真舱体内的压强。

2.根据权利要求1所述的一种保真环境下岩石试验样品切割装置,其特征在于,所述移位单元包括:

轨道,其沿保真舱体长度方向铺设于保真舱体底部;

机械手,其一端与轨道滑动连接,另一端夹持岩芯。

3.根据权利要求2所述的一种保真环境下岩石试验样品切割装置,其特征在于,所述切割单元包括方样切割部,其包括:安装座一,其与保真舱体内壁活动连接;

样品口一,其贯穿开设于安装座一上,供岩芯通过;

纵向切割件,其包括四个驱动轮和一根金刚砂丝线,驱动轮两两分布在样品口一上下两侧,金刚砂丝线环绕于各驱动轮上形成一长度方向沿纵向的矩形;

横向切割件,其也包括四个驱动轮和一根金刚砂丝线,驱动轮两两分布在样品口一左右两侧,金刚砂丝线环绕于各驱动轮上形成一长度方向沿横向的矩形。

4.根据权利要求2或3所述的一种保真环境下岩石试验样品切割装置,其特征在于,所述切割单元包括切断部,其包括:安装座二,其与保真舱体内壁活动连接;

样品口二,其贯穿开设于安装座二上,供岩芯通过;

切断件,其安装于安装座二上,通过驱动金刚砂丝线切断岩芯。

5.根据权利要求1所述的一种保真环境下岩石试验样品切割装置,其特征在于,所述温控单元包括:

加热圈,其缠绕于保真舱体侧壁;

调节器,其调节加热圈加热温度。

6.根据权利要求1所述的一种保真环境下岩石试验样品切割装置,其特征在于,所述增压单元包括:

液压加载机构,其于保真舱体连通,向保真舱体充入液体或抽出液体;

伺服控制器,其控制液压加载机构的动作。

7.根据权利要求1所述的一种保真环境下岩石试验样品切割装置,其特征在于,还包括:

废料收集单元,其布置于切割单元正下方,收集切落的岩屑。

8.根据权利要求7所述的一种保真环境下岩石试验样品切割装置,其特征在于,所述废料收集单元包括收集室及封闭板,封闭板远程控制开合,用于封闭或开放收集室的入口。

9.一种保真环境下岩石试验样品切割方法,其特征在于,基于权利要求1 8所述的保真~

环境下岩石试验样品切割装置,包括如下步骤:步骤一、将岩芯送入保真舱体内,移位单元的机械爪夹持岩芯;

步骤二、伺服控制器控制液压加载机构向保真舱体内加压;

步骤三、调节器控制加热圈对保真舱体内加温;

步骤四、加压加温至目标条件后,移位单元运输岩芯至切割单元处,根据试验样品形状需求对岩芯进行切割;

步骤五、切割过程中的废料落入废料收集单元,切割完成后,封闭废料收集单元,对保真舱体卸压后将废料取出。

10.根据权利要求9所述的一种保真环境下岩石试验样品切割方法,其特征在于:步骤三中,在对保真舱体内加温时,需通过伺服控制器控制液压加载机构卸压。