欢迎来到知嘟嘟! 联系电话:13336804447 卖家免费入驻,海量在线求购! 卖家免费入驻,海量在线求购!
知嘟嘟
我要发布
联系电话:13336804447
知嘟嘟经纪人
收藏
专利号: 2016103621120
申请人: 燕山大学
专利类型:发明专利
专利状态:已下证
专利领域: 飞行器;航空;宇宙航行
更新日期:2024-01-05
缴费截止日期: 暂无
价格&联系人
年费信息
委托购买

摘要:

权利要求书:

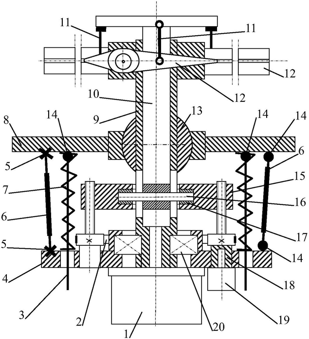
1.一种直升机旋翼复合运动并联驱动装置,其包括并联机构、旋翼摆翼机构、弹簧组,其特征在于:所述并联机构包括机座、动台、中间SP型被动约束分支、连接机座和动台的UPU型驱动分支和两个结构相同的SPS型驱动分支,实现旋翼主轴的轴向移动和绕机座中心球副的三维转动;所述机座中心设有凹形球面孔;所述动台上设有垂直动台面的中心通孔、小圆周均布的三个通孔和大圆周均布的三个通孔;所述中间SP型被动约束分支包括主轴、大轴承和球套,所述球套设有外球面和过球心的通孔,带轴心通孔的主轴与该球套的通孔圆柱副联接,该球套的外球面与机座的凹形球面孔球副联接,大轴承内、外环分别与主轴下端和动台中心通孔配合转动联接;所述UPU型驱动分支中的液压缸的两端分别通过万向副与机座和动台联接,所述万向副的外侧转动副轴线与联接处的圆周切线重合;所述SPS型驱动分支中的液压缸的两端分别通过球副与机座和动台联接;UPU型驱动分支和两个SPS型驱动分支在机座与动台之间圆周均布;所述旋翼摆翼机构包括上述主轴、翼组、发动机、推杆机构、心杆和连杆组;在上述主轴上端设有凸台,该凸台上设有与圆周相切且垂直主轴的与旋翼数量相等的均布的通孔,主轴从上端到下部设有轴心通孔,主轴下部设有与该轴心通孔正交的长槽通孔,主轴下端设有与主轴同轴的小通孔;所述翼组包括若干个相同的旋翼,旋翼始端设有纵向圆柱,该圆柱与上述主轴凸台的通孔转动联接;发动机固定在动台下面,发动机轴与主轴下端小通孔同轴键连接,驱动主轴和翼组旋转;所述推杆机构包括液压马达、三个螺杆、齿形带、环架、横轴和两个滚轮;所述螺杆上端为同轴的螺纹圆柱、其中部设有同轴的齿轮、其下端为设有同轴的内孔的圆柱;所述环架上设有垂直环架的环心通孔和三个圆周均布的螺纹通孔,该环心通孔壁上设有矩形截面的圆环槽;三个螺杆上端的螺纹圆柱与上述环架的三个螺纹通孔螺纹联接,三个螺杆下端的圆柱与上述动台的三个小圆周通孔转动联接,齿形带与三个螺杆的齿轮同步啮合转动;液压马达与动台连接,其驱动轴与其中一个螺杆下端的内孔同轴键连接;所述心杆上端设有凸台,下端设有与心杆轴线正交的圆通孔;所述横轴中部与心杆下端圆通孔配合连接,横轴两端穿过上述主轴长槽通孔,该主轴长槽通孔通过横轴驱动心杆随主轴同步转动;上述横轴两端与两个滚轮内环固连;两个滚轮的外环与环架的圆环槽滚动接触,液压马达通过齿形带驱动三个螺杆同步转动和环架沿主轴移动;推杆机构通过环架和横轴驱动心杆沿主轴轴线移动,心杆上端凸台通过连杆组与旋翼连接;所述弹簧组包括在机座与动台之间圆周均布的三个导杆和三个弹簧,导杆的一端分别与机座下面球副联接,该导杆的另一端穿过动台的大圆周通孔为自由端,弹簧套在导杆上,弹簧的两端分别抵在机座的下面和动台的上面。