欢迎来到知嘟嘟! 联系电话:13336804447 卖家免费入驻,海量在线求购! 卖家免费入驻,海量在线求购!
知嘟嘟
我要发布
联系电话:13336804447
知嘟嘟经纪人
收藏
专利号: 2015110063694
申请人: 河南农业大学
专利类型:发明专利
专利状态:已下证
专利领域: 基本电气元件
更新日期:2025-02-11
缴费截止日期: 暂无
价格&联系人
年费信息
委托购买

摘要:

权利要求书:

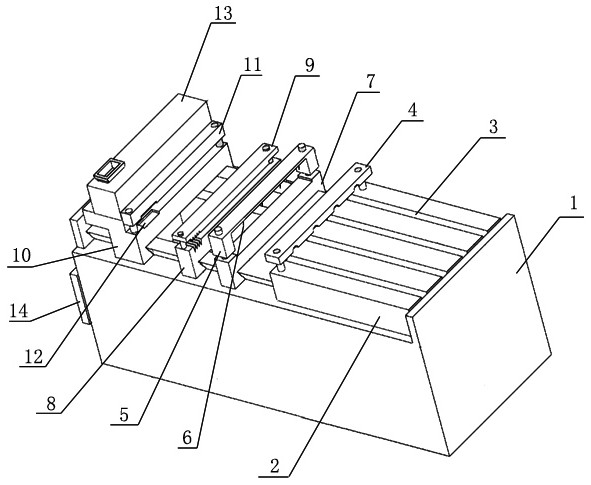
1.一种自动穿胶壳机,其特征在于:包括PLC和机床,在机床上沿线材穿插方向依次设置:线槽座、分别与线材穿插方向垂直布置的分线梳、线夹、胶壳固定座;还包括与PLC连接的光学定位线序检测装置;其中:线槽座,沿线材穿插方向垂直开设多条布线槽,每条布线槽用于容纳一根已打上端子的线材,根据线材外皮颜色代表的线序,将线材放置在对应布线槽内;在线槽座上设置有一个夹板,所述夹板将线材定位在各自布线槽内;

光学定位线序检测装置,根据线材颜色代表的线序,对放置在布线槽中的线材通过图像识别判断线序,若线序不正确,则报警提示,通过人工按照正确线序调整线材在布线槽的放置顺序;

分线梳,对通过夹板定位后的线材沿垂直于线材穿插方向进行合拢汇聚,使合拢汇聚后的每根线材端子的位置与要穿插入胶壳孔的位置对齐,然后在与PLC连接的第一驱动机构的带动下,分线梳沿线材穿插方向移动,将线材端子送入到线夹内夹紧固定;

线夹,对分线梳送入的线材端子进行夹紧固定,在与PLC连接的第二驱动机构的驱动下沿线材穿插方向拉动线材端子,并将线材端子穿插入与其对齐的胶壳孔内;

胶壳固定座,设置有用于固定胶壳的定位槽,胶壳位于定位槽内时,胶壳孔的位置与经分线梳汇聚后的线材端子的位置对齐。

2.根据权利要求1所述的自动穿胶壳机,其特征在于:所述线槽座上设置的夹板的两端由与PLC连接的第一液压系统驱动升降;在夹板上开设有与布线槽位置对应的凹槽。

3.根据权利要求1所述的自动穿胶壳机,其特征在于:所述分线梳包括分线梳本体和分线梳底座,所述分线梳本体两端通过与PLC连接的第二液压系统驱动升降,分线梳上设置有一排梳齿,所述梳齿由与PLC连接的传动机构带动平移,梳齿在传动机构的带动下合拢并夹紧线材端子,保证线材端子的位置与胶壳孔的位置一一对齐。

4.根据权利要求1所述的自动穿胶壳机,其特征在于:所述线夹包括端子夹板和线夹底座,端子夹板两端与线夹底座连接,并通过与PLC连接的第三液压系统驱动升降;所述端子夹板的下表面设置有一排横截面为倒梯形的凸起部Ⅰ,线夹底座的上表面设置有一排横截面为三角形的凸起部Ⅱ,端子夹板和线夹底座通过凸起部Ⅰ和凸起部Ⅱ相互咬合;线材端子被分线梳送入相邻凸起部Ⅱ之间的V型槽内,并通过端子夹板和线夹底座相互咬合固定。

5.根据权利要求1所述的自动穿胶壳机,其特征在于:所述光学定位线序检测装置,包括照明模块、图像传感器、图像处理器、报警装置;其中:照明模块,对线槽座上布置的不同颜色的线材进行照射补光;

图像传感器,对线槽座上放置的线材进行拍摄,将拍摄的图像传送至图像处理器;

图像处理器,将图像传感器传送的图像根据布线槽的位置按区域划分,进行图像处理,识别出线材外皮的颜色,并将结果发送至PLC;若识别出的颜色所代表的线序与预设的线序相同,则线材布置的顺序正确,否则PLC通过报警装置发出警报,通知人工重新调整线序。

6.根据权利要求1所述的自动穿胶壳机,其特征在于:还包括与PLC连接的振动筛,所述振动筛将胶壳按顺序自动传送至胶壳固定座的定位槽内。

7.根据权利要求1所述的自动穿胶壳机,其特征在于:所述胶壳固定座包括胶壳夹板和胶壳固定底座,所述胶壳夹板的两端与胶壳固定底座连接,并通过与PLC连接的第四液压系统驱动升降;所述定位槽设置在胶壳固定底座上。

8.根据权利要求7所述的自动穿胶壳机,其特征在于:在机床内设置有一个胶壳收集装置;穿胶壳后,线夹松开,胶壳固定座在第三驱动机构驱动下移动至收集装置上方,在第四液压系统驱动胶壳夹板上升后,胶壳在线材的重力作用下落入收集装置中。