欢迎来到知嘟嘟! 联系电话:13336804447 卖家免费入驻,海量在线求购! 卖家免费入驻,海量在线求购!
知嘟嘟
我要发布
联系电话:13336804447
知嘟嘟经纪人
收藏
专利号: 2023228161920
专利类型:实用新型
专利状态:未下证
专利领域: 暂无
更新日期:2024-08-07
缴费截止日期: 暂无
价格&联系人
年费信息
委托购买

摘要:

权利要求书:

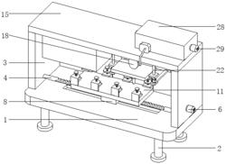
1.一种电子元件加工用自动点胶机,包括工作台(1),其特征在于:所述工作台(1)的底部设置有支撑腿(2),所述工作台(1)的顶部设置有固定板(3),所述固定板(3)的内部设置有螺纹杆(4),所述螺纹杆(4)的表面设置有移动块(8),所述移动块(8)的顶部设置有移动板(11),所述固定板(3)的顶部设置有顶板(15),所述顶板(15)的底部设置有安装板(16),所述安装板(16)的内部设置有副锥齿轮(17),所述副锥齿轮(17)的一端设置有偏心轮(18),所述偏心轮(18)的底部设置有推动板(21),所述推动板(21)的底部设置有胶枪(24),所述顶板(15)的顶部设置有胶箱(28)。

2.根据权利要求1所述的一种电子元件加工用自动点胶机,其特征在于:所述螺纹杆(4)的表面设置有副齿轮(5),所述固定板(3)的一侧固定安装有第一电机(6),所述第一电机(6)的输出端设置有主齿轮(7),且主齿轮(7)与副齿轮(5)啮合连接。

3.根据权利要求1所述的一种电子元件加工用自动点胶机,其特征在于:所述工作台(1)的顶部开设有滑槽(9),所述滑槽(9)的内部设置有滑块(10),且滑块(10)与移动块(8)的底部固定连接。

4.根据权利要求1所述的一种电子元件加工用自动点胶机,其特征在于:所述移动板(11)的顶部设置有L板(12),所述L板(12)的内部设置有螺杆(13),且螺杆(13)与L板(12)螺纹连接,所述螺杆(13)的底部设置有固定压板(14)。

5.根据权利要求1所述的一种电子元件加工用自动点胶机,其特征在于:所述安装板(16)和副锥齿轮(17)活动连接,所述顶板(15)的顶部设置有第二电机(19),所述第二电机(19)的输出端设置有主锥齿轮(20),且主锥齿轮(20)与副锥齿轮(17)啮合连接,所述顶板(15)的底部设置有滑杆(22),且滑杆(22)与推动板(21)套接,所述滑杆(22)的表面设置有弹簧(23)。

6.根据权利要求1所述的一种电子元件加工用自动点胶机,其特征在于:所述顶板(15)的底部设置有烘干箱(25),所述烘干箱(25)内部的顶端设置有风扇(26),所述烘干箱(25)内部的两侧均设置有加热电丝(27)。

7.根据权利要求1所述的一种电子元件加工用自动点胶机,其特征在于:所述胶箱(28)的一端设置有第三电机(29),所述第三电机(29)的输出端设置有搅拌杆(30),所述胶箱(28)的一侧设置有抽泵(31),所述抽泵(31)的输出端连接有软管(32),且软管(32)与胶枪(24)相连接。