欢迎来到知嘟嘟! 联系电话:13336804447 卖家免费入驻,海量在线求购! 卖家免费入驻,海量在线求购!
知嘟嘟
我要发布
联系电话:13336804447
知嘟嘟经纪人
收藏
专利号: 2023211010016
申请人: 杭州东维能源设备有限公司
专利类型:实用新型
专利状态:已下证
专利领域: 一般喷射或雾化;对表面涂覆液体或其他流体的一般方法〔2〕
更新日期:2024-02-23
缴费截止日期: 暂无
价格&联系人
年费信息
委托购买

摘要:

权利要求书:

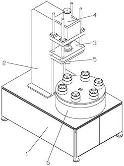
1.一种电子元器件自动涂胶装置,其特征在于:包括机座、机架、升降组件、涂胶组件、涂胶头和多工位置放组件,所述机座上端安装有机架,所述机架前端上安装有升降组件,所述升降组件内部上部设有涂胶组件,底部安装有涂胶头,该涂胶组件底部连接涂胶头;

所述机架前端的机座上安装有多工位置放组件,所述多工位置放组件包括底座、转盘组件、置放座、推出机构、第一电机和高度调节机构,所述底座安装于机座上,且底座上滑动连接有转盘组件,所述转盘组件上设置有多个置放座,所述置放座内设置有推出机构,且推出机构连接于转盘组件底部一侧,所述转盘组件底中部安装有第一电机,所述转盘组件内部安装有高度调节机构。

2.根据权利要求1所述一种电子元器件自动涂胶装置,其特征在于:所述转盘组件包括下转盘、上转盘和内转盘,所述下转盘与底座上滑动连接,所述下转盘上嵌入安装有上转盘,且两者之间设有内转盘,三者为滑动连接,所述第一电机安装于下转盘底中部,且第一电机输出端与内转盘底中部连接,所述高度调节机构安装于内转盘内部。

3.根据权利要求2所述一种电子元器件自动涂胶装置,其特征在于:所述上转盘两端设置有凸出结构,与下转盘、内转盘两端设置的内凹结构相配合。

4.根据权利要求1所述一种电子元器件自动涂胶装置,其特征在于:所述推出机构包括第二电机、第一主带轮、第一副带轮、第一皮带和转动杆,所述第二电机安装于底座内部空间内,且该第二电机输出端上连接有第一主带轮,所述第一主带轮一侧设有第一副带轮,且两者通过第一皮带传动连接,所述第一副带轮中部安装有转动杆。

5.根据权利要求4所述一种电子元器件自动涂胶装置,其特征在于:所述转动杆上端偏心连接于下转盘底部一侧。

6.根据权利要求1所述一种电子元器件自动涂胶装置,其特征在于:所述高度调节机构包括第三电机、第二主带轮、第二副带轮、第二皮带、第一偏心轮和第二偏心轮,所述第三电机安装于内转盘内部,且第三电机前端输出端上连接有第二主带轮,所述第二主带轮一侧设有第二副带轮,并通过第二皮带传动连接,所述第二主带轮和第二副带轮前端分别设有第一偏心轮和第二偏心轮。

7.根据权利要求6所述一种电子元器件自动涂胶装置,其特征在于:所述第二主带轮与第一偏心轮、第二副带轮与第二偏心轮为偏心连接。