欢迎来到知嘟嘟! 联系电话:13336804447 卖家免费入驻,海量在线求购! 卖家免费入驻,海量在线求购!
知嘟嘟
我要发布
联系电话:13336804447
知嘟嘟经纪人
收藏
专利号: 2015105571992
申请人: 山东交通学院
专利类型:发明专利
专利状态:已下证
专利领域: 一般车辆
更新日期:2024-01-05
缴费截止日期: 暂无
价格&联系人
年费信息
委托购买

摘要:

权利要求书:

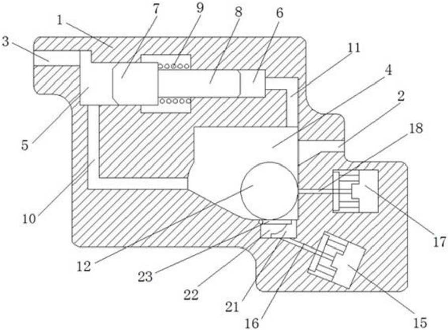
1.一种复杂路况下的重型车辆制动力自动调节装置,其特征在于,所述复杂路况下的重型车辆制动力自动调节装置包括有阀体,阀体内部设置有阀腔,阀体之中设置有连通至阀腔内部的输入口与输出口;所述阀腔包括有第一腔体、第二腔体与第三腔体,第一腔体以及第二腔体分别与输入口以及输出口相连通,第三腔体与第二腔体相连通;所述第三腔体与第二腔体同轴延伸,且其直径小于第二腔体的直径;

所述阀腔之中设置有第一活塞与第二活塞,其彼此相连且同轴延伸,所述第一活塞延伸至第二腔体之中,所述第二活塞延伸至第三腔体之中,第一活塞的直径大于第二活塞的直径;所述第一活塞与第二活塞的连接端部之上设置有压缩弹簧,压缩弹簧的另一端固定连接至阀腔的内壁之上;

所述第一腔体之中分别设置有连通至第二腔体的第一流道,以及连通至第三腔体的第二流道,所述第一腔体中,第一流道与第一腔体的相交端部和输入口与第一腔体的相交端部彼此相对;所述第一腔体内部设置有阀球,第一腔体中,位于阀球重力方向之上的端面为支撑端面;所述支撑端面包括有第一端面以及第二端面,第一端面与第一腔体中输入口所在的端面相交,且其在水平方向上延伸,第二端面与第一腔体中第一流道所在的端面相交,第二端面的高度在输入口朝向第一流道的延伸方向上逐渐增加;

所述阀体之中设置有辅助推进装置,其包括有液压缸主体与液压缸推杆,所述液压缸推杆经由第一腔体内的支撑端面中第一端面延伸至第一腔体内部,液压缸推杆朝向第一流道进行延伸,且其延伸方向平行于支撑端面中第二端面;所述辅助推进装置中包括有压力传感器,其设置于支撑端面中第一端面与第二端面的连接位置;所述阀体之中设置有倾态控制装置,其包括有气压缸主体以及气压缸推杆,所述气压缸推杆经由第一腔体内输入口所在端面延伸至第一腔体内部,气压缸推杆朝向支撑端面中第二端面进行延伸,且其延伸方向平行于支撑端面中第一端面;所述阀球之中设置有倾态控制槽,其包括有设置于阀球内部的第一槽体,以及经由第一槽体延伸至阀球表面的第二槽体;所述第一槽体的径向截面采用圆形结构,第一槽体的任意径向截面均垂直于阀球的直径,所述第二槽体的径向截面采用矩形结构,第二槽体与第一槽体同轴延伸;所述第二槽体的径向长度与第一槽体的径向直径相等;

所述倾态控制装置中,气压缸推杆的端部设置有垂直于气压缸推杆的轴线进行延伸的控制杆件,控制杆件的尺寸与第二槽体的径向截面相对应,所述气压缸推杆的端部设置有步进电机,其主轴与气压缸推杆同轴延伸,所述控制杆件固定连接于步进电机的主轴之上;

所述倾态控制装置中设置有水平传感器,其与气压缸主体之间采用电性连接。

2.按照权利要求1所述的复杂路况下的重型车辆制动力自动调节装置,其特征在于,所述阀球两侧分别设置有沿阀球径向进行延伸的定位杆件,定位杆件同时平行于支撑端面中的第一端面与第二端面;所述第一腔体的侧端面之上设置有定位轨道,定位轨道平行于支撑端面进行延伸,且其与支撑端面之间的垂直距离与阀球的半径相等,所述定位杆件对应延伸至其所在侧边的定位轨道内部;所述定位杆件的端部设置有定位轮,定位轮位于定位轨道内部,且其可沿定位轨道进行滚动。

3.按照权利要求1或2所述的复杂路况下的重型车辆制动力自动调节装置,其特征在于,所述辅助推进装置中的液压缸推杆的端部设置有推进端块,推进端块的上端面平行于支撑端面中第一端面进行延伸,推进端块中包括有与阀球彼此相对的推进端面,推进端面采用与阀球相贴合的弧面结构;

所述第一腔体中,支撑端面中第一端面内推进端块的对应位置设置有安置槽体,安置槽体的深度与推进端块的高度相同,安置槽体的长度大于推进端块的长度;所述推进端块与第一端面和第二端面的连接位置之间设置有翻转板件,其通过转轴连接于阀体之中,翻转板件朝向推进端块进行延伸;所述推进端块中,其上端面与推进端面的相交位置设置有“L”形的限位槽,限位槽的深度与翻转板件的高度相同;所述翻转板件的长度与转轴至限位槽侧端面的距离相同,当翻转板件的端部位于限位槽内部时,翻转板件的上端面与支撑端面中第一端面位于同一平面;

所述支撑端面中,第一端面与第二端面的连接位置设置有倒角。

4.按照权利要求3所述的复杂路况下的重型车辆制动力自动调节装置,其特征在于,所述阀体之中,辅助推进装置中的液压缸推杆以及倾态控制装置中气压缸推杆的延伸方向上分别设置有驱动管道,两根驱动管道分别延伸至第一腔体中安置槽体的底端面以及输入口所在端面,所述驱动管道的端部分别设置有第一密封圈;

所述第一腔体之中,推进端块的上边部与翻转板件的上边部对应位置分别设置有第二密封圈;当推进端块完全进入安置槽体时,安置槽体之中,推进端块的底边部对应位置设置有第三密封圈;所述翻转板件的端部设置有密封端块。

5.按照权利要求4所述的复杂路况下的重型车辆制动力自动调节装置,其特征在于,所述阀球内部设置有多根沿其径向进行延伸的排液管道,每一根排液管道均由阀球之中的第一槽体延伸至阀球的端面之上;每一根排液管道均包括有依次相连的第一管段、第二管段与第三管段,其中,第一管段连接至第一槽体之中,且其直径在第一槽体朝向阀球的端面的延伸方向上逐渐减小,第三管段连接至阀球的端面之上,且其直径在第一槽体朝向阀球的端面的延伸方向上逐渐增加,所述第一管段的长度小于第三管段的长度。

6.按照权利要求5所述的复杂路况下的重型车辆制动力自动调节装置,其特征在于, 所述控制杆件的端部设置有密封室,所述步进电机设置于密封室内部;所述密封室的端面之上设置有控制端孔,步进电机的主轴经由控制端孔延伸至密封室外部,控制端孔之中设置有第四密封圈。