欢迎来到知嘟嘟! 联系电话:13336804447 卖家免费入驻,海量在线求购! 卖家免费入驻,海量在线求购!
知嘟嘟
我要发布
联系电话:13336804447
知嘟嘟经纪人
收藏
专利号: 2012104822627
申请人: 安徽工程大学
专利类型:发明专利
专利状态:无效专利
专利领域: 测量;测试
更新日期:2023-07-19
缴费截止日期: 暂无
价格&联系人
年费信息
委托购买

摘要:

权利要求书:

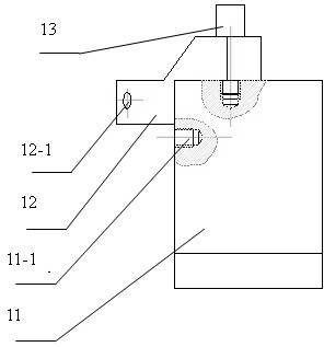
1.一种梯形活塞环的角度测量装置,包括装置支架(11),装置支架上的螺纹孔(11-1),装置悬臂架(12),装置悬臂架的通孔(12-1)和紧定螺钉(13),装置支架(11)可放置到不同的工作台上,装置悬臂架(12)的一端通过紧定螺钉(13)固定到装置支架(11)上,可以转动调整,其特征在于:合格的螺旋测微器通过装置支架上的螺纹孔(11-1)进行固定,螺旋测微器测量最大直径处的厚度;装置悬臂架(12)的另一端开成U型槽,合格的千分表通过装置悬臂架(12)的U型槽和装置悬臂架的通孔(12-1)进行固定,千分表用以测量梯形的垂直距离;测量过程是将合格的梯形活塞环放置到螺旋测微器测量处,调整螺旋测微器的开口,使梯形活塞环自然卡在螺旋测微器测量处,调整千分表位置,获得梯形活塞环从螺旋测微器测量处最大直径处的厚度,再将待测量的梯形活塞环自然放置于螺旋测微器测量处,观察千分表的读数变化范围,是否落在公差范围内,若在公差范围内,则所测量梯形活塞环合格,否则不合格。