欢迎来到知嘟嘟! 联系电话:13336804447 卖家免费入驻,海量在线求购! 卖家免费入驻,海量在线求购!
知嘟嘟
我要发布
联系电话:13336804447
知嘟嘟经纪人
收藏
专利号: 2020217494315
申请人: 新乡市摩耐特活塞有限公司
专利类型:实用新型
专利状态:已下证
专利领域: 测量;测试
更新日期:2024-11-19
缴费截止日期: 暂无
价格&联系人
年费信息
委托购买

摘要:

权利要求书:

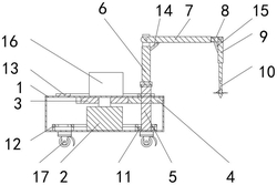
1.一种检测活塞斜槽角度测台,包括检测台(1),其特征在于:所述检测台(1)的内底壁固定连接有电机(2),所述电机(2)输出轴的周向固定连接有第一齿轮(3),所述第一齿轮(3)的外表面啮合有第二齿轮(4),所述第二齿轮(4)的内部插接有第一连接杆(5),所述第一连接杆(5)的一端固定连接有支撑杆(6),所述支撑杆(6)的一端转动连接有第二连接杆(7),所述第二连接杆(7)的一端转动连接有连接块(8),所述连接块(8)的一端转动连接有第一电动伸缩杆(9),所述第一电动伸缩杆(9)的一端固定连接有测角机构(10)。

2.根据权利要求1所述的一种检测活塞斜槽角度测台,其特征在于:所述第一连接杆(5)下端的周向套接有轴承(11),所述检测台(1)的内底壁固定连接有滑槽(12),所述滑槽(12)的内部活动连接有轴承(11),所述第一连接杆(5)的中部套接有防尘盖(13),所述防尘盖(13)位于检测台(1)的上表面。

3.根据权利要求1所述的一种检测活塞斜槽角度测台,其特征在于:所述支撑杆(6)的外表面固定连接有第一支撑柱,所述第一支撑柱的周向套接有第二电动伸缩杆(14),所述第二电动伸缩杆(14)一端的内部套接有第二支撑柱,所述第二支撑柱的一端固定连接在第二连接杆(7)上。

4.根据权利要求1所述的一种检测活塞斜槽角度测台,其特征在于:所述连接块(8)的外表面固定连接有第三支撑柱,所述第三支撑柱的周向套接有第三电动伸缩杆(15),所述第三电动伸缩杆(15)一端的内部套接有第四支撑柱,所述第四支撑柱的一端固定连接在第一电动伸缩杆(9)上。

5.根据权利要求1所述的一种检测活塞斜槽角度测台,其特征在于:所述测角机构(10)包括测量杆(1001),所述测量杆(1001)的外表面套接有第一滑块(1002),所述测量杆(1001)的外表面套接有第二滑块(1003),所述第二滑块(1003)的内部转动连接有第三连接杆(1004),所述第三连接杆(1004)的一端转动连接有第四连接杆(1005),所述第四连接杆(1005)的一端转动连接有锥台(1006),所述锥台(1006)的上表面固定连接有测量杆(1001),所述锥台(1006)的上表面固定连接有弹簧(1007),所述弹簧(1007)的一端固定连接有第二滑块(1003),所述第三连接杆(1004)和第四连接杆(1005)的数量为四个,所述测量杆(1001)的外表面设有刻度表。

6.根据权利要求1所述的一种检测活塞斜槽角度测台,其特征在于:所述检测台(1)的上表面固定连接有控制箱(16),所述控制箱(16)通过导线与第一电动伸缩杆(9)、第二电动伸缩杆(14)、第三电动伸缩杆(15)和电机(2)连接,所述检测台(1)的下表面固定连接有万向轮(17),所述万向轮(17)的数量为四个,均匀的分布在检测台(1)底部的四角。