欢迎来到知嘟嘟! 联系电话:13336804447 卖家免费入驻,海量在线求购! 卖家免费入驻,海量在线求购!
知嘟嘟
我要发布
联系电话:13336804447
知嘟嘟经纪人
收藏
专利号: 2020217504001
申请人: 新乡市摩耐特活塞有限公司
专利类型:实用新型
专利状态:已下证
专利领域: 手动工具;轻便机动工具;手动器械的手柄;车间设备;机械手
更新日期:2024-11-19
缴费截止日期: 暂无
价格&联系人
年费信息
委托购买

摘要:

权利要求书:

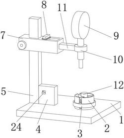
1.一种检测活塞环止转销高度测台,包括底座(1)、第一连接杆(5)和第二连接杆(7),其特征在于:所述底座(1)的上表面一侧固定连接有固定筒(2),所述固定筒(2)的外表面螺纹连接有调整螺母(3),所述调整螺母(3)的内表面开设有环形槽(18),所述环形槽(18)的内部滑动连接有第一滑块(16),所述第一滑块(16)的一侧面固定连接有第二滑块(26),所述底座(1)的内部通过转轴转动连接有压杆(17),所述压杆(17)靠近第一滑块(16)的一侧开设有与第二滑块(26)相适配的调整槽(15),所述第二连接杆(7)的内部滑动连接有伸缩杆(11),所述伸缩杆(11)的上表面一侧固定连接有连接块(20),所述连接块(20)的内部滑动连接有拉块(8),所述拉块(8)的内部固定连接有拉伸弹簧(19),所述底座(1)的上表面另一侧转动连接有转动轴(13),所述第一连接杆(5)的外表面固定连接有固定块(4),所述固定块(4)的内部滑动连接有压块(23),所述压块(23)的上端固定连接有压缩弹簧(25)。

2.根据权利要求1所述的一种检测活塞环止转销高度测台,其特征在于:所述第二连接杆(7)的内部通过转轴转动连接有主动齿轮(14),所述第一连接杆(5)靠近主动齿轮(14)的一侧固定连接有从动齿条,所述主动齿轮(14)与从动齿条啮合连接。

3.根据权利要求1所述的一种检测活塞环止转销高度测台,其特征在于:所述伸缩杆(11)远离第二连接杆(7)的一端固定连接有固定轴(10),所述固定轴(10)的内部插接有高度测量仪(9)。

4.根据权利要求1所述的一种检测活塞环止转销高度测台,其特征在于:所述环形槽(18)的截面形状为L型,所述第一滑块(16)的形状为Z型,所述调整槽(15)的截面形状为T型,所述压杆(17)的形状为L型,所述压杆(17)的数量为三个,三个压杆(17)呈环形阵列分布。

5.根据权利要求1所述的一种检测活塞环止转销高度测台,其特征在于:所述压杆(17)的上部远离第一滑块(16)的一侧固定连接有第一防滑垫,所述固定筒(2)的外表面开设有与压杆(17)相适配的导槽,所述固定筒(2)的内部设有被测工件(12)。

6.根据权利要求1所述的一种检测活塞环止转销高度测台,其特征在于:所述拉块(8)的形状为十字型,所述拉块(8)的外表面套接有第二防滑垫,所述压块(23)的上部一侧固定连接有拨块(24),所述压块(23)的下端固定连接有第三防滑垫,所述转动轴(13)的外表面与第一连接杆(5)转动连接。