欢迎来到知嘟嘟! 联系电话:13336804447 卖家免费入驻,海量在线求购! 卖家免费入驻,海量在线求购!
知嘟嘟
我要发布
联系电话:13336804447
知嘟嘟经纪人
收藏
专利号: 2010101222909
申请人: 浙江工业大学
专利类型:发明专利
专利状态:已下证
专利领域: 测量;测试
更新日期:2023-12-11
缴费截止日期: 暂无
价格&联系人
年费信息
委托购买

摘要:

权利要求书:

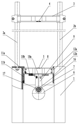
1.一种采用正弦传动装置的车辆减振器试验台,包括机座,所述机座上安装立柱,所述立柱上安装横梁,所述横梁上设有上夹具,所述机座内安装曲柄盘、曲柄轴、传动装置和电动机,所述曲柄盘的转轴与传动装置连接,所述传动装置与电动机连接,所述曲柄轴安装在曲柄盘上,所述曲柄轴的轴心位于所述曲柄盘的偏心位置,其特征在于:所述车辆减振器试验台还包括正弦传动装置,所述正弦传动装置包括主滑块和副滑块,所述副滑块的一端开有轴承座孔,所述的轴承座孔与曲柄轴之间设有轴承,所述副滑块的另一端与主滑块可左右滑动地连接,所述主滑块可上下滑动地套装在机座或立柱上,所述主滑块上设有与上夹具配合用以安装车辆减振器试件的下夹具。

2.如权利要求1所述的采用正弦传动装置的车辆减振器试验台,其特征在于:所述副滑块的上端与横向滑块固定连接,所述横向滑块可左右滑动地套装在横向导轨上,所述横向导轨与主滑块的下端固定连接。

3.如权利要求1所述的采用正弦传动装置的车辆减振器试验台,其特征在于:所述副滑块的上端与横向导轨固定连接,横向滑块可左右滑动地套装在所述横向导轨上,所述横向滑块与主滑块的下端固定连接。

4.如权利要求1-3之一所述的采用正弦传动装置的车辆减振器试验台,其特征在于:所述主滑块的上部与纵向滑块固定连接,纵向导轨与机座固定连接,所述纵向滑块可上下滑动地套装在纵向导轨上。

5.如权利要求1-3之一所述的采用正弦传动装置的车辆减振器试验台,其特征在于:所述主滑块的上部与纵向导轨固定连接,纵向滑块与基座固定连接,所述纵向导轨可上下滑动地套装在纵向滑块上。

6.如权利要求1-3之一所述的采用正弦传动装置的车辆减振器试验台,其特征在于:所述机座上设有上下布置的纵向导套,所述主滑块的上部为导柱,所述导柱可上下滑动地套装在纵向导套内。

7.如权利要求1-3之一所述的采用正弦传动装置的车辆减振器试验台,其特征在于:所述主滑块上设有纵向导套,所述机座上设有导柱,所述纵向导套可上下滑动地套装在导柱上。

8.如权利要求6所述的采用正弦传动装置的车辆减振器试验台,其特征在于:所述导柱与纵向导套之间设有直线滚动导套或减摩导套。

9.如权利要求7所述的采用正弦传动装置的车辆减振器试验台,其特征在于:所述导柱与纵向导套之间设有直线滚动导套或减摩导套。