欢迎来到知嘟嘟! 联系电话:13095918853 卖家免费入驻,海量在线求购! 卖家免费入驻,海量在线求购!
知嘟嘟
我要发布
联系电话:13095918853
知嘟嘟经纪人
收藏
专利号: 2014103625353
申请人: 安徽工程大学
专利类型:发明专利
专利状态:已下证
专利领域: 测量;测试
更新日期:2023-07-19
缴费截止日期: 暂无
价格&联系人
年费信息
委托购买

摘要:

权利要求书:

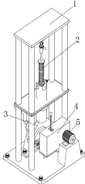
1.一种机械式减振器试验台,包括有机架(1),减振器测试机构(2),位移调节机构(3),变换减速机构(4)和驱动电机(5),其特征在于:所述机架(1)包括:最顶部的矩形上工作台(6),矩形上工作台(6)上底部四角处设置有四根空心金属圆管(7),四根空心金属圆管(7)底部和中间部位分别设置有与矩形上工作台(6)平行的底部工作台(8)和中间有圆孔的金属板平台(9),金属板平台(9)中间的圆孔连接有圆柱导向套(10),底部工作台(8)四角处通过设置有四个地脚螺栓(11)固定在地面上,底部工作台(8)上位于其中一侧的两根金属圆管(7)之间靠近两根金属圆管(7)处设置有两个圆柱销钉(12),底部工作台(8)上远离圆柱销钉(12)的最外侧设置有电机座(13),底部工作台(8)上位于电机座(13)的内侧从外到内依次设置有齿轮箱支撑台(14)和上部带有孔的旋转轴支架(15);所述减振器测试机构(2)设置在矩形上工作台(6)的底部,减振器测试机构(2)包括:最顶部的与矩形上工作台(6)连接的传感器上部连接件(16),传感器上部连接件(16)下连接有S式拉压力传感器(17),S式拉压力传感器(17)的下方连接有传感器下部连接件(18),传感器下部连接件(18)的下部设置有销钉(19)和吊环螺栓(20)从而连接有上部夹具(21),上部夹具(21)外包有可上下滑动的箍环(22),上部夹具(21)的下部半边设置有可向侧翻的夹片(23),上部夹具(21)和夹片(23)之间设置有活塞杆(24),活塞杆(24)的下方从上到下依次设置有减振器上弹簧座(25)、储油筒(26)、减振器下弹簧座(27)和吊环(28),其中储油筒(26)外设置有减振器弹簧(29),吊环(28)穿过有带螺母销钉(30);所述位移调节机构(3)连接在减振器测试机构(2)下方,位移调节机构(3)包括:与穿过有带螺母销钉(30)的吊环(28)连接的曲柄连杆(31),曲柄连杆(31)的底部设置有横向的曲柄连杆槽(32),曲柄连杆(31)底部的左右两侧分别设有圆形导轨(33)和直线导轨(34),圆形导轨(33)和直线导轨(34)的一边设置有穿过曲柄连杆槽(32)的连杆(35)将两者相连,圆形导轨(33)的左侧设置有呈“Z”形的摇杆(36)伸出到外侧,摇杆(36)穿过有摇杆座(37),摇杆座(37)通过圆柱销钉(12)固定在底部工作台(8)上,直线导轨(34)的另一边的外侧设置旋转轴(38),旋转轴(38)穿过旋转轴支架(15)上的孔;所述变换减速机构(4)设置在位移调节机构(3)的旋转轴(38)的外侧,变换减速机构(4)包括:最内侧的设置在齿轮箱支撑台(14)上的齿轮箱体(39),在齿轮箱体(39)内一边左右两侧依次设置有第一齿轮(40)和第二齿轮(41),第一齿轮(40)和第二齿轮(41)穿过有齿轮轴(42)将两者相连,旋转轴(38)与齿轮轴(42)连接在一起,第一齿轮(40)和第二齿轮(41)之间的齿轮轴(42)上安装有同步器(43),同步器(43)上设置有穿过齿轮箱体(39)的拨叉杆(44),齿轮箱体(39)内另一边设置有分别与第一齿轮(40)和第二齿轮(41)相啮合的不完全齿轮(45)和第三齿轮(46),不完全齿轮(45)和第三齿轮(46)穿过有电机轴(47),电机轴(47)的外侧连接着驱动电机(5);驱动电机(5)设置在电机座(13)上。

2.如权利要求1所述一种机械式减振器试验台,其特征在于:所述圆形导轨(33)和直线导轨(34)中间分别设置有圆形导轨槽(48)和直线导轨槽(49),所述连杆(35)卡在圆形导轨槽(48)和直线导轨槽(49)之间,连杆(35)与直线导轨槽(49)连接处位于直线导轨(34)的外侧设置有夹具(50);夹具(50)上一侧设置有连杆孔(51),连杆(35)穿过连杆孔(51)中,夹具(50)上连杆孔(51)的内侧设置有固定螺钉孔(52),夹具(50)上的另一侧设置有第一旋转螺钉孔(53),所述直线导轨(34)上位于直线导轨槽(49)下方设置有弯槽孔(54),直线导轨(34)上的底部设置有第二旋转螺钉孔(55),夹具(50)上固定螺钉孔(52)处设置有固定螺钉(56),固定螺钉(56)穿过固定螺钉孔(52)和弯槽孔(54)将夹具(50)固定在直线导轨(34)上,夹具(50)上第一旋转螺钉孔(53)处设置有旋转螺钉(57),旋转螺钉(57)穿过第一旋转螺钉孔(53)和第二旋转螺钉孔(55)。

3.如权利要求1所述一种机械式减振器试验台,其特征在于:所述第一齿轮(40)和第二齿轮(41)内侧分别设有第一齿轮内侧齿(58)和第二齿轮内侧齿(59),同步器(43)内侧设置有同步器内部齿(60)。

4.如权利要求1或3所述一种机械式减振器试验台,其特征在于:所述不完全齿轮(45)和第二齿轮(41)是空转齿轮,不完全齿轮(45)齿数为不完全齿轮(45)齿数的一半。

5.如权利要求1所述一种机械式减振器试验台,其特征在于:所述驱动电机(5)是Y系列的变频调速电机,驱动电机输出端有弹性联轴器与电机轴(47)相连。